HINKLEY 5590CM-LED Meridian LED 7 inch Chrome Vanity Light Wall Light

Mounting Instructions
start here
- Find a clear area in which you can work.
- Unpack fixture and glass from carton.
- Carefully review instructions prior to assembly.
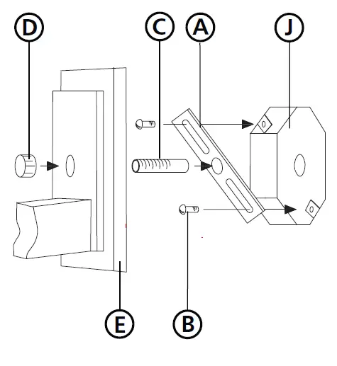
The construction of this fixture will be accomplished by first mounting the mounting strap to the junction box, making all necessary electrical connections, mounting the fixture to the wall and then installing the fixture glass.
- Prepare mounting strap (A) by threading 1″ nipple (C) into the center hole of the mounting strap (A), approximately 1/4″ – see Drawing 1.

- Attach mounting strap (A) to junction box (0) using two scre not provided.
SAFETY WARNING: READ WIRING AND GROUNDING INSTRUCTIONS (1.S. 18) AND ANY ADDITIONAL DIRECTIONS. TURN POWER SUPPLY OFF DURING INSTALLATION. IF NEW WIRING IS REQUIRED, cONSULT A QUALIFIED ELECTRICIAN OR LOCAL AUTHORITIES FOR CODE REQUIREMENTS.
Make electrical connections from supply wire to fixture lead wires. Refer to the instruction sheet (1.S. 18) and follow all instructions to make all necessary wiring connections. Then reter back to this sheet to continue installation of this fixture.
- To mount fixture, slip center hole of backplate (E) over nipple (C) and hold fixture in position – see Drawing 1.
- Thread decorative knob (D) onto end of nipple (C) and tighten to secure fixture.
- To install glass, remove threaded socket ring (1) from socket (2) – see Drawing 2.

- Place glass (3) over exposed section of socket (2).
- Thread socket ring (1) onto socket (2) to secure glass (3).
- Fixture can now be lamped accordingly.
- To install glass, remove threaded socket ring (1) from socket (2) – see Drawing 2.
wiring grounding instructions
SAFE TY WARNI NG: READ WIRIN G AND GROUNDING INSTRUCTIO NS (IS 18) AND ANY ADDITIONAL DIRECTIONS. TURN POWER SUPPLY OFF DURING INSTALLATION. IF NEW WIRING IS REQUIRED, CONSULT A QUALIFIED ELECTRICIAN OR LOCAL AUTHORITIES FOR CODE REQUIREMENTS
wiring instructions
Indoor Fixtures
- Connec t positive supply wire (A ) (typically black or the smooth, unmarked side of the two-conduc tor cord) to positive fixture lead (B) with appropriately sized twist on connector – see Dra w ings 1 or 2.
- Connec t negative supply wire (C) (typically white or the ribbed, marked side of the two-conductor cord) to negative fixture lead (D).
- Please refer to the grounding instructions below to complete all electrical connections
Outdoor Fixtures
- Connec t positive supply wire (A) (typically black or the smoothunmarked side of the two-conduc tor cord) to positive fixture lead (B) with appropriately sized twist on connector — see Drawings 2 or 3.
- Connec t negative supply wire (C) (typically white or the ribbed, marked side of the two-conductor cord) to negative fixture lead (D).
- Cover open end of connectors with silicone sealant to form a watertight seal. If installing a wall mount fixture, use caulk to seal gaps between the fixture mounting plate (backpla te) and the wall. This will help prevent water from entering the outlet box. If the wall surface is lap siding, use caulk and a fixture mounting platform specially.
- Please refer to the grounding instructions below to complete all electrical connections.
grounding instructions
Flush Mount Fixtures
For positive grounding in a 3-wire electrical system, fasten the fixture ground wire (E) (typically copper or green plastic coated) to the fixture mounting strap (M ) with the ground screw (S) – see Drawing 1.
Note: On straps for screw supported fixtures, first install the two mounting screws in strap. Any remaining tapped hole may be used for the ground screw.
Chain Hung Fixtures
Loop fixture ground wire (E) (typically coppe r or green plastic coated) under the head of the ground screw (S) on fixture mounting strap (M) and connect to the loose end of the fixture ground wire directly to the ground wire of the building system with appropriately sized twist-on connectors – see Drawing 2.
Post-Mou nt Fixtur es
Connec t fixture ground wire (E) (typically copper or green plastic coated) to power supply ground with appropriately sized twist-on connector inside post. Cover open end of connector with silicone sealant to form a watertight seal – see Drawing 3.
G9 LED Lamp Instructions
This fixture is packed with a G9 incandescent bulb as well as a G9 LED bulb. Please follow these directions carefully.
If using incandescent bulbs:
- Fixture can only be hung with the bulbs facing up.
- After installation, place bulb (G) into socket (S). See Drawing 1.

Screw on bulb shield (L). Bulb shield only needs to be turned a few times, it does not need to touch the bulb. Bulb shields MUST be used with incandescent bulbs.
If using LED bulbs:
- Fixture can be hung either with bulbs facing down or up.
- After installation, place bulb (D) into socket (S). See Drawing 2.

Note: if using LED bulb, do not discard incandescent bulb or bulb shield. These can be used as a replacement later if necessary.
H I N K L E Y 3 3 0 0 0 Pin O a k P arkwa y, A von Lak e, OH 440 1 2 8 00 .4 4 6 . 55 39 / 4 4 0 .6 5 3 . 55 0 0 hinkley.com



















