HINKLEY 5050CM-CL Miley Single Light Vanity Instruction Manual
Mounting Instructions

- Find a clear area in which you can work.
- Unpack fixture and glass from carton.
- Carefully review instruction prior to assembly.
The construction of this fixture will be accomplished by first mounting the mounting strap to the junction box, making all necessary electrical connections, mounting the fixture to the wall and then in stalling the fixture glass.
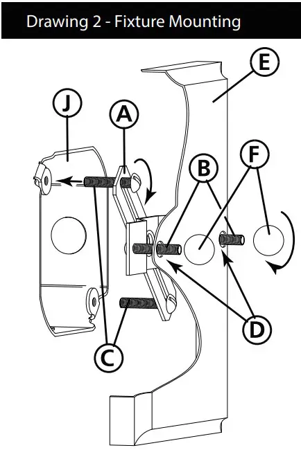
- Prepare mounting strap (A) by threading the two long mount g screws (B) into the back of the gull wing bracket – see Drawing 1.
- Be sure the holes into which the screws are threaded match the spacing of holes (D) in the back plate (E) – see Drawings 1 and 2.
- Attach mounting strap (A) to junction box (J) using two 1”screws (C) not provided – see Drawing 2.
SAFETY WARNING: READ WIRING AND GROUNDING INSTRUCTIONS (I.S. 18) AND ANY ADDITIONAL DIRECTIONS. TURN POWER SUPPLY OFF DURING INSTALLATION. IF NEW WIRING IS REQUIRED, CONSULT A QUALIFIED ELECTRICIAN OR LOCAL AUTHORITIES FOR CODE REQUIREMENTS.
Make electrical connections from supply wire to fixture lead wires. Refer to instruction sheet (I.S. 18) and follow all instructions to make all necessary wiring connections. Then refer back to this sheet to complete installation of this fixture.
1. To mount fixture, slide backplate (E) over screws (B) and secure with ball knobs (F) -see Drawing
- To install glass remove the spacer (3) and socket ring (4) from the socket (1) -see Drawing 2.
- Place glass (2) over the socket (1
- slip spa r (3) and thread socket ring (4) back on to socket (1) and hand tighten. Note: Over tightening could cause damage to glass.
- Fixture can now be lamped accordingl
wiring grounding instructions
SAFE TY WARNI NG: READ WIRIN G AND GROUNDING
INSTRUCTIO NS (IS 18) AND ANY ADDITIONAL DIRECTIONS.
TURN POWER SUPPLY OFF DURING INSTALLATION. IF NEW
WIRING IS REQUIRED, CONSULT A QUALIFIED ELECTRICIAN OR LOCAL AUTHORITIES FOR CODE REQUIREMENTS
wiring instructions
Indoor Fixtures
- Connec t positive supply wire (A ) (typically black or the smoo th, unma rked side of the two-conduc tor cord) to positive fi xture lead (B ) with appropriately sized twist on connec tor – see Dra w ings 1 or 2.
- Connec t nega tive supply wire (C) (typically white or the ribbed , marked side of the two-conduc tor cord) to nega tive fi xture lead (D).
- Please refe r to the grounding instructions below to complet e all electrical connec tion s
Outdoor Fixtures
- Connec t positive supply wire (A) (typically black or the smoo th unma rked side of the two-conduc tor cord) to positive fi xture lead (B) with appropriately sized twist on connec tor — see Drawings 2 or 3.
- Connec t nega tive supply wire (C) (typically white or the ribbed , marked side of the two-conduc tor cord) to nega tive fi xture lead (D).
- Cove r open end of connec tors with silicone sealant to fo rm a watertight seal.
If installing a wall moun t fi xture, use caulk to seal gaps between the fi xture mounting p late (backpla te) and the wall. This will help prevent wa ter fr om entering the out let box . If the wal l surface is lap siding, use caulk and a fi xture moun ting platform specially. - Please refe r to the grounding instructions below to complet e all electrical connec tion s.
grounding instructions
Flush Mount Fixtur es
For positive ground ing in a 3-wire elect rical system, fasten the fi xture ground wire (E) (typ ically coppe r or green plastic coated) to the fi xture moun ting strap (M ) with the ground screw (S) – see Draw in g 1.
Note: On straps for screw supported fixtures, first install the two mounting screws in strap. Any remaining tapped hole may be used for the ground screw.
Chain Hung Fixtur es
Loop fi xture ground wire (E) (typically coppe r or green plastic coa ted) unde r the head of the ground screw (S) on fi xture mounting strap (M ) and connec t to the loose end of the fi xture ground wire directly to the ground wire of the building system with appropriately sized twist-on connec tors – see Draw in g 2.
Post-Mou nt Fixtur es

Connec t fi xture ground wire (E) (typically copper or green plastic coa ted) to power supply ground with app ropriately sized twist-on connec tor inside post. Cove r open end of connec tor with silicone sealant to form a watertight seal – see Drawing 3.


















