HINKLEY 5050 Miley Single Light Vanity

Item No:
- 5050/5052/5053/5054XX-CL
The construction of this fixture will be accomplished by first mounting the mounting strap to the junction box, making all necessary electrical connections, mounting the fixture to the wall, and then in stalling the fixture glass.
Mounting Instructions
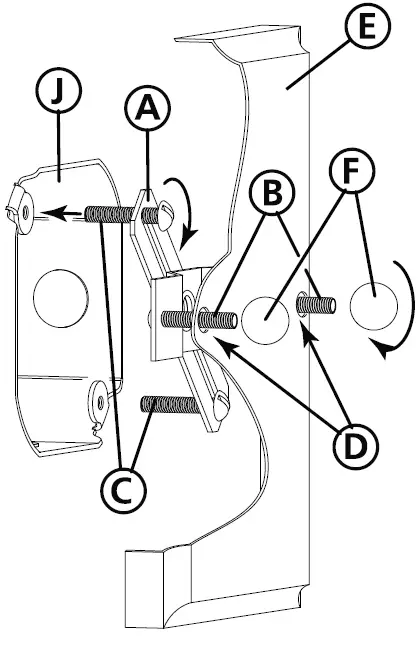
- Prepare mounting strap (A) by threading the two long mounting screws (B) into the back of the gull-wing bracket – see Drawing 1.
- Be sure the holes into which the screws are threaded match the spacing of holes (D) in the back plate (E) – see Drawings 1 and 2.

- Attach mounting strap (A) to junction box (J) using two 1” screws (C) not provided – see Drawing 2.

SAFETY WARNING:
READ WIRING AND GROUNDING INSTRUCTIONS (I.S. 18) AND ANY ADDITIONAL DIRECTIONS. TURN THE POWER SUPPLY OFF DURING INSTALLATION. IF NEW WIRING IS REQUIRED, CONSULT A QUALIFIED ELECTRICIAN OR LOCAL AUTHORITIES FOR CODE REQUIREMENTS.
Make electrical connections from supply wire to fixture lead wires. Refer to the instruction sheet (I.S. 18) and follow all instructions to make all necessary wiring connections. Then refer back to this sheet to complete the installation of this fixture.
To mount the fixture, slide backplate (E) over screws (B) and secure with ball knobs (F) -see Drawing.
- To install glass remove the spacer (3) and socket ring (4) from the socket (1) – See Drawing 2.
- Place glass (2) over the socket (1
- Slip spar (3) and thread socket ring (4) back onto socket (1) and hand tighten. Note: Over-tightening could cause damage to the glass.
- The fixture can now be lamped according.

SAFETY WARNING:
READ WIRIN G AND GROUNDING INSTRUCTIO NS (IS 18) AND ANY ADDITIONAL DIRECTIONS. TURN THE POWER SUPPLY OFF DURING INSTALLATION. IF NEW WIRING IS REQUIRED, CONSULT A QUALIFIED ELECTRICIAN OR LOCAL AUTHORITIES FOR CODE REQUIREMENTS.
Wiring instructions
Indoor Fixtures
- Connect positive supply wire (A ) (typically black or smooth, unmarked side of the two-conductor cord) to positive fixture lead (B) with an appropriately sized twist on the connector – see Dra wings 1 or 2.
- Connect negative supply wire (C) (typically white or the ribbed, marked side of the two-conductor cord) to negative fixture lead (D).
- Please refer to the grounding instructions below to complete all electrical connections
Outdoor Fixtures
- Connect positive supply wire (A) (typically black or the smooth unmarked side of the two-conduc tor cord) to positive fixture lead (B) with an appropriately sized twist on connector — see Drawings 2 or 3.
- Connect negative supply wire (C) (typically white or the ribbed, marked side of the two-conductor cord) to negative fixture lead (D).
- The cover opens the end of connectors with silicone sealant to form a watertight seal.
If installing a wall mount fixture, use caulk to seal gaps between the fixture mounting plate (backplate) and the wall. This will help prevent water from entering the outlet box. If the wall surface is lap siding, use caulk, and a fixture mounting platform especially. - Please refer to the grounding instructions below to complete all electrical connections.

Grounding Instructions
Flush Mount Fixtures
For positive grounding in a 3-wire electrical system, fasten the fixture ground wire (E) (typically copper or green plastic coated) to the fixture mounting strap (M ) with the ground screw (S) – see Draw in g 1.

Note:
On straps for screw supported fixtures, first install the two mounting screws in the strap. Any remaining tapped hole may be used for the ground screw.
Chain Hung Fixtures
Loop fixture ground wire (E) (typically copper or green plastic coated) under the head of the ground screw (S) on the fixture mounting strap (M) and connect to the loose end of the fixture ground wire directly to the ground wire of the building system with appropriately sized twist-on connectors – see Draw in g 2.

Post-Mount Fixtures
Connect fixture ground wire (E) (typically copper or green plastic coated) to the power supply ground with the appropriately sized twist-on connector inside the post. The cover opens the end of the connector with silicone sealant to form a watertight seal – see Drawing 3.
HINKLEY 33000 Pin Oak Parkway, Avon Lake, OH 44012800.446.5539/440.653.5500 hinkley.com.



















