50640PN Auden LED Vanity

HINKLEY Fixture Mounting and Glass Installation Instructions
Product Information
The HINKLEY fixture is a lighting product that comes with a mounting bracket, a junction box, fixture body, socket cover,socket ring, and glass. The construction of the fixture involves attaching the mounting bracket to the junction box, making electrical connections, and mounting the fixture body to the bracket. The product comes with instructions in English, Spanish, and French.
Fixture Mounting Instructions
- Find a clear area in which you can work.
- Read the wiring and grounding instructions (I.S. 18) and any additional directions. Turn off the power supply during installation. If new wiring is required, consult a qualified electrician or local authorities for code requirements.
- Make electrical connections from the supply wire to fixture lead wires. Refer to instruction sheet (I.S. 18) and follow all instructions to make all necessary wiring connections.
- Attach the mounting bracket to the junction box.
- Mount the fixture body to the mounting bracket.
Glass Installation Instructions
- Find a clear area in which you can work.
- Thread off the socket ring (1) from the socket cover (2).
- Slip glass (3) over socket cover (2).
- Thread socket ring (1) back onto socket cover (2). Use your fingers to start, then use socket ring tool (T) to thread the ring down until snug.
- Lamp the fixture accordingly.
Wiring Instructions
Indoor Fixtures:
- Connect positive supply wire (A) (typically black or the smooth, unmarked side of the two-conductor cord) to positive fixture lead (B) with appropriately sized twist-on connector – see Drawings 1 or 2.
- Connect negative supply wire (C) (typically white or the ribbed, marked side of the two-conductor cord) to negative fixture lead (D).
- Refer to the grounding instructions below to complete all electrical connections.
Outdoor Fixtures:
- Connect positive supply wire (A) (typically black or the smooth, unmarked side of the two-conductor cord) to positive fixture lead (B) with appropriately sized twist-on connector – see Drawings 2 or 3.
Grounding Instructions
Follow the wiring instructions above and complete the following steps:
- Connect the grounding wire from the supply circuit (typically green or bare copper) to the grounding screw on the mounting bracket.
- Connect the grounding wire from the fixture (typically green or bare copper) to the grounding screw on the mounting bracket.
Contact HINKLEY at 800.446.5539 or 440.653.5500 for any further assistance.
Assembly Instructions
Item No: 50640
start here
- Find a clear area in which you can work.
- Unpack fixture and glass from carton.
- Carefully review instructions prior to assembly.
*** The construction of this fixture will be accomplished by first attaching the mounting bracket to the junction box, making all necessary electrical connections, mounting the fixture body to the mounting bracket.
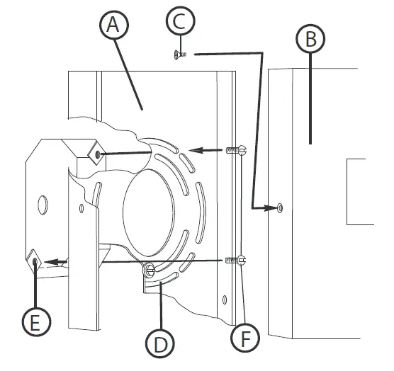
- Remove main mounting plate (A) from the fixtures backplate(B) by removing the flat head screws (C) – see Drawing I.
- Slide the wires from the junction box, through the large center hole, making sure curved slots (D) line up with the threaded holes (E) in the junction box.
- Using two 8-32 screws (F) [not provided] attach the main mounting plate (A) to the junction box, making sure side of mounting plate (A) is vertical.
- Next it will be necessary to attach tail brace bracket (1) to the wall. before mounting the fixture to the wall. This is accomplished by temporarily attach the fixture to the mounting bracket (A). Now locate the centerline of the backplate (B) and measuring down 5” (125mm), and place a mark at this point. Drill hole for plastic anchor (3) provided, insert anchor, and mount tail brace bracket (1) with screw (4) provided making sure screw hole in top of tail bracket is facing up. – see Drawing 1 and 2.
- Now wire fixture following instruction sheet (IS-18).
- After wiring is completed, slip tail brace (5) onto tail (T) slide backplate (B) over mounting plate (A) and tail brace (5) over tail brace bracket (1). Next align screws holes in backplate with threaded holes in mounting plate – see Drawing 1 and 2.
- Thread in screw (C) removed earlier into holes. Then thread screw (6) into place to secure tail brace (5).
SAFETY WARNING: READ WIRING AND GROUNDING INSTRUC-TIONS (I.S. 18) AND ANY ADDITIONAL DIRECTIONS. TURN POWER SUPPLY OFF DURING INSTALLATION. IF NEW WIRING IS REQUIRED, CONSULT A QUALIFIED ELECTRICIAN OR LOCAL AUTHORITIES FOR CODE REQUIREMENTS.
Make electrical connections from supply wire to fixture lead wires. Refer to instruction sheet (I.S. 18) and follow all instructions to make all necessary wiring connections. Then refer back to this sheet to complete installation of this fixture.
Drawing 1 – Fixture Mounting
Drawing 2 – Fixture Mounting 
GLASS INSTALLATION:
- First thread off the socket ring (1) from the socket cover (2) – see Drawing 1.
- Next, slip glass (3) over socket cover (2). Now, thread socket ring (1) back onto socket cover (2). Using you fingers to start. Then use socket ring tool (T) to thread the ring down until snug.
- Fixture can now be lamped accordingly.
Drawing 1 – Glass Installation

I.S. 18 wiring grounding instructions
SAFE TY WARNI NG: READ WIRIN G AND GROUNDING INSTRUCTIO NS (IS 18) AND ANY ADDITIONAL DIRECTIONS. TURN POWER SUPPLY OFF DURING INSTALLATION. IF NEW WIRING IS REQUIRED, CONSULT A QUALIFIED ELECTRICIAN OR LOCAL AUTHORITIES FOR CODE REQUIREMENTS
Wiring instructions
Indoor Fixtures
- Connect positive supply wire (A ) (typically black or the smooth, unmarked side of the two-conductor cord) to positive fixture lead (B) with appropriately sized twist on connector – see Drawings 1 or 2.
- Connect negative supply wire (C) (typically white or the ribbed, marked side of the two-conductor cord) to negative fixture lead (D).
- Please refer to the grounding instructions below to complete all electrical connections
Outdoor Fixtures
- Connect positive supply wire (A) (typically black or the smooth unmarked side of the two-conductor cord) to positive fixture lead (B) with appropriately sized twist on connector — see Drawings 2 or 3.
- Connect negative supply wire (C) (typically white or the ribbed, marked side of the two-conductor cord) to negative fixture lead (D).
- Cover open end of connectors with silicone sealant to form a watertight seal.
If installing a wall mount fixture, use caulk to seal gaps between the fixture mounting plate (backplate) and the wall. This will help prevent water from entering the outlet box. If the wall surface is lap siding, use caulk and a fixture mounting platform specially. - Please refer to the grounding instructions below to complete all electrical connections.
Drawing 1 – Flush Mount

Drawing 2 – Chain Hung

Grounding instructions
Flush Mount Fixtures
For positive grounding in a 3-wire electrical system, fasten the fixture ground wire (E) (typically copper or green plastic coated) to the fixture mounting strap (M ) with the ground screw (S) – see Draw in g 1.
Note: On straps for screw supported fixtures, first install the two mounting screws in strap. Any remaining tapped hole may be used for the ground screw.
Chain Hung Fixtures
Loop fixture ground wire (E) (typically copper or green plastic coated) under the head of the ground screw (S) on fixture mounting strap (M) and connect to the loose end of the fixture ground wire directly to the ground wire of the building system with appropriately sized twist-on connectors – see Draw in g 2.
Post-Mount Fixtures
Connect fixture ground wire (E) (typically copper or green plastic coated) to power supply ground with appropriately sized twist-on connector inside post. Cover open end of connector with silicone sealant to form a watertight seal – see Drawing 3.
Drawing 3 – Post-Mount

HINKLEY 33000 Pin Oak Parkwa y, Avon Lak e, OH 440 12800 .446 . 5539 /440 .653 . 5500 hinkley.com



















