Signature Hardware 949658 Lead Well Vanity Light

BEFORE YOU BEGIN
- We recommend consulting a professional if you are unfamiliar with installing electric fixtures. Signature
- Hardware accepts no liability for any damage to the faucet, plumbing, sink, counter top, or for personal injury during installation.
- Observe all local plumbing and building codes.
- Unpack and inspect the product for shipping damage.
- If any damage is found, contact our Customer
- Relations team via live chat at www.signaturehardware.com or by emailing [email protected].
GETTING STARTED
Ensure that you have gathered all the required materials that are needed for the installation.
ADDITIONAL QUESTIONS
Still need help? Check out our Help Center at www.signaturehardware.com for product and warranty information, or contact us through live chat or by emailing [email protected].
FOR YOUR SAFETY
WARNING: Be sure the electricity to the wires you are working on is shut off, either the fuse is removed or the circuit breaker is shut off. You don’t need special tools to install this fixture. Be sure to follow the steps in the order given. Under no circumstances should a fixture be hung on house electrical wires, nor should a swag type fixture be installed on a ceiling which contains a radiant type heating system. Read instructions carefully. If you are unclear as to how to proceed, consult a qualified electrician.
CARE INSTRUCTIONS
To clean, wipe fixture with a soft cloth. Clean glass with a mild soap. Do not use abrasive materials such as scouring pads or powders, steel wool or abrasive paper.
TOOLS AND MATERIALS:


INSTALLATION

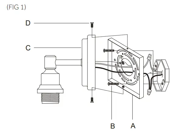
- Secure mounting bracket (A) to the outlet box with outlet box screws (B).
- Connect the white wire from the fixture to the white wire from the outlet box and the black wire from the fixture to the black wire from the outlet box. Cover the two wire connections using the two provided wire connectors. Wrap the two wire connections with electrical tape for a more secure connection. Attach the grounding wire connections with electrical tape for a more secure connection. Connect the copper ground wires from the fixture and from the outlet box to the ground screw on the circular strap
Note: If you have electrical questions, consult your local electrical code for approved grounding methods. - After wires are connected, tuck them carefully inside outlet box. Raise the front plate (C) to the mounting bracket (A) then secure with the screw (D).

- Place the glass (F) over the socket (E) and secure with the socket ring (G).
- Install light bulb (Not provided). Please do not exceed the maximum wattage capacity recommended on the socket.



















