939219 COMO Vanity Light
Instruction Manual
939219 COMO Vanity Light
BEFORE YOU BEGIN
We recommend consulting a professional if you are unfamiliar with installing electric fixtures. Signature Hardware accepts no liability for any damage to the faucet, plumbing, sink, counter top, or for personal injury during installation.
Observe all local plumbing and building codes. Unpack and inspect the product for shipping damage. If any damage is found, contact our Customer Relations team via live chat at www.signaturehardware.com or by emailing [email protected].
FOR YOUR SAFETY
WARNING: Be sure the electricity to the wires you are working on is shut off, either the fuse is removed or the circuit breaker is shut off. You don’t need special tools to install this fixture. Be sure to follow the steps in the order given. Under no circumstances should a fixture be hung on house electrical wires, nor should a swag type fixture be installed on a ceiling which contains a radiant type heating system. Read instructions carefully, if you are unclear as to how to proceed, consult a qualified electrician.
TOOLS AND MATERIALS:
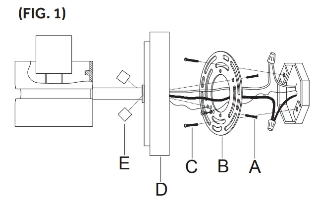
INSTALLATION (FIG. 1)
- Thread the mounting screws (A) into the matching holes in the circular strap (B).

- Secure circular strap (B) to the outlet box with outlet box screws (C).
- Connect the white wire from the fixture to the white wire from the outlet box and the black wire from the fixture to the black wire from the outlet box. Cover the two wire connections using the two provided wire connectors. Wrap the two wire connections with electrical tape for a more secure connection. Attach the grounding wire connections with electrical tape for a more secure connection. Connect he copper ground wires from the fixture and from the outlet box to the ground screw on the circular strap.
Note: If you have electrical questions, consult your local electrical code for approved grounding methods. - After wires are connected, tuck them carefully inside outlet box. Raise the front plate (D) allowing for the mounting screws (A) to protrude through the holes on front plate (D), and secure with the ball nuts (E).
INSTALLATION (FIG. 2)
- Install light bulb (G) (Supplied). Please do not exceed the maximum wattage capacity recommended onthe socket.

- Place the glass shade (H) over the socket to glass holder (F) and align the raised dimple (I) to the position (J) then twist the glass shade (H) to the adequate position by hand.
- When you need disassemble the glass from the fixture, twist the glass anticlockwise until the raised dimple (I) at the position (J).
1.855.715.1800
Signaturehardware.com





















