953466 Albury Vanity Light
Instruction Manual
BEFORE YOU BEGIN
We recommend consulting a professional if you are unfamiliar with installing electric fixtures. Signature Hardware accepts no liability for any damage to the faucet, plumbing, sink, counter top, or for personal injury during installation.
Observe all local plumbing and building codes.
Unpack and inspect the product for shipping damage. If any damage is found, contact our Customer
Relations team via live chat at www.signaturehardware.com or by emailing [email protected].
GETTING STARTED
Ensure that you have gathered all the required materials that are needed for the installation.
ADDITIONAL QUESTIONS?
Still need help? Check out our Help Center at www.signaturehardware.com for product and warranty information, or contact us through live chat or by emailing [email protected].

FOR YOUR SAFETY
WARNING: Be sure the electricity to the wires you are working on is shut off, either the fuse is removed or the circuit breaker is shut off. You don’t need special tools to install this fixture. Be sure to follow the steps in the order given. Under no circumstances should a fixture be hung on house electrical wires, nor should a swag type fixture be installed on a ceiling which contains a radiant type heating system. Read instructions carefully. If you are unclear as to how to proceed, consult a qualified electrician.
CARE INSTRUCTIONS
To clean, wipe fixture with a soft cloth. Clean glass with a mild soap. Do not use abrasive materials such as scouring pads or powders, steel wool or abrasive paper.
TOOLS AND MATERIALS:


SAVE THIS MANUAL: RETAIN FOR CONSUMER’S USE.
READ THESE INSTRUCTIONS COMPLETELY BEFORE INSTALLING THE PRODUCT: FOR PRODUCT OR INSTALLATION QUESTIONS PLEASE CALL CUSTOMER SERVICE AT 1-800-221-3379.
| Connect Black or Red Supply Wire (Lead Wire) to: | Connect White Supply Wire (Neutral Wire) to: |
| Black wire | White wire |
| *Parallel wire (round or smooth) | *Parallel wire (square or ridged) |
| Clear, brown, gold or black wire without tracer | Clear, brown, gold or black wire with tracer |
| Insulated wire (other than green) with copper conductor | Insulated wire (other than green) with silver conductor |
* When parallel wires are used, the neutral wire is ridged down its length and the other wire is round and smooth (see illus.).![]() | |

INSTALLATION
(FIG 1)
- Position mounting bracket (A) so tabs are on the sides and tabs are level. Attach mounting bracket (A) to junction box with junction box screws (B).
- Strip 3/4” of insulation from ends of fixture wires.
- Twist the end of fixture white wire to the end of house white wire together. Twist a wire nut onto ends of wires. Wrap electrical tape around wire nut and wires to secure connection. Twist the end of fixture black wire and the end of house black wire together. Twist a wire nut onto the ends of wires. Wrap electrical tape around wire nut and wires to secure connection. Loosen ground screw on mounting bracket (A). Wrap house ground wire around ground screw leaving enough ground wire to attach to fixture ground wire. Twist the end of fixture ground wire to the end of house ground wire together. Twist a wire nut onto ends of wires. Wrap electrical tape around wire nut and wires to secure connection.
Note: If you have electrical questions consult your local electrical code for approved grounding methods. - After wires are connected, carefully tuck wires inside junction box.
- Raise fixture to wall. Place backplate of fixture over mounting bracket (A). Align holes in the tabs on the side of mounting bracket (A) with holes in the sides of backplate. Thread one fixture mounting screw (C) into each hole in backplate. Tighten fixture mounting screws (C) to secure fixture to wall.
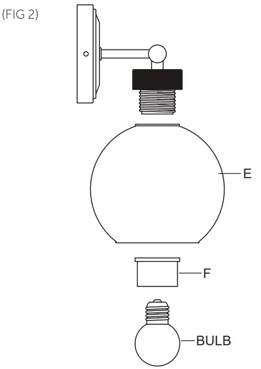
INSTALLATION (FIG 2) - Pass the hole in top of glass shade (E) over socket. Thread socket ring (F) onto socket. Tighten socket ring (F) to secure glass shade (E) to fixture. DO NOT over tighten the socket ring (F).
- Screw recommended bulb (E26 Edison bulb type, not included) into socket. Verify correct bulb wattage marked on socket of fixture.
WARNING: DO NOT exceed maximum bulb wattage.
1.855.715.1800
signaturehardware.com
REVISED: 11/29/2021
CODES: PHVL3231

INSTALLATION (FIG 2)


















