HINKLEY 52092 30 Inch Chrome Vanity Light Wall Light

Assembly Instructions
Item No: 52092 / 52093 / 52094
Start here
- Find a clear area in which you can work.
- Unpack fixture and glass from carton.
- Carefully review instructions prior to assembly.
PLEASE NOTE: THE FIXTURE YOU HAVE PURCHASED CAN BE INSTALLED VERTICALLY OR HORIZONTALLY. THE GLASS
INSTALLATION DRAWING 1, ILLUSTRATES THE FIXTURE IN THE VERTICAL POSITION. THE SAME PROCEDURE OUTLINED BELOW IS FOLLOWED TO INSTALL GLASS ON A HORIZONTALLY INSTALLED FIXTURE.
- To attach the glass it is first necessary to remove screws (3) and decorative cap (4) from the installed fixture (2). After removing the screw and cap, unthread decorative cap (4) from screw head (3) – see Drawing 1.
- To attach glass (1) to installed fixture (2), first align hole (A) in glass with holes (B) in end bracket (C).
- While holding glass in position, slip screw (3) through hole (A) in glass and thread it into hole (B) end bracket. Do not tighten at this time.3. Follow same procedure as outline in Step 2 with other end of glass (1).After both screws (3) are threaded into there respective holes they can now be hand tightened with a screw driver until snug.
- Next take decorative cap (4) removed earlier and thread onto head of screw (3).
- Assembly is complete and power can now be restored.
PLEASE NOTE: WHEN INSTALLING THE GLASS MAKE SURE THE ACYLIC LENS (AL, SEE DRAWING 1) DOES NOT SLIDE BEHIND THE GLASS MOUNTING HOLES.
DRAWING 1 – ASSEMBLY 
Mounting Instructions
- Find a clear area in which you can work.
- Unpack fixture and glass from carton.
- Carefully review instructions prior to assembly.
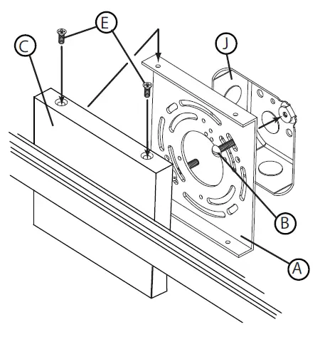
PLEASE NOTE: YOUR FIXTURE CAN BE MOUNTED VERTICALLY OR HORIZONTALLY. DRAWING 1 ILLUS-TRATES THE FIXTURE BEING INSTALLED HORIZON-TALLY. THE SAME PROCEDURE IS FOLLOWED TO INSTALL THE FIXTURE VERTICALLY.
- To begin it will be necessary to remove mounting plate (A) from backplate (C) by removing screws (E) located on the side of the backplate – see Drawing 1.
- To begin installation, first attach mounting bracket (A) to junction box (J) by using two 8-32 screws (B) not provided, or the screws from the previously installed mounting strap or plate. Make sure threaded holes are on the side when installing mounting plate for vertical installation, on top and bottom for horizontal installation. Check to see if mounting strap is plumb by placing a level across the top. Adjust plate and tighten screws to secure mounting plate.
- Next make all wiring connections. Follow instruction sheet (IS-18) provided.
DRAWING 1 – Fixture Installation
SAFETY WARNING: READ WIRING AND GROUNDING INSTRUC TIONS (I.S. 18) AND ANY ADDITIONAL DIRECTIONS. TURN POWER SUPPLY OFF DURING INSTALLATION. IF NEW WIRING IS REQUIRED, CONSULT A QUALIFIED ELECTRICIAN OR LOCAL AUTHORITIES FOR CODE REQUIREMENTS.
Make electrical connections from supply wire to fixture lead wires.
Refer to instruction sheet (I.S. 18) and follow all instructions to make all necessary wiring connections. Then refer back to this sheet to complete installation of this fixture.
- After all electrical connections are made. Slip backplate (C) over mounting strap (A) and align holes in side of backplate (C) with threaded holes on side of mounting strap (A).
- Thread in screws (E) removed earlier to secure backplate to mounting strap.
- Installation is complete and power can be restored.
Drawing 1 – Flush Mount
Drawing 2 – Chain Hung
Drawing 3 – Post-Mount

I.S. 18 wiring grounding instructions
SAFETY WARNING: READ WIRING AND GROUNDING INSTRUCTIONS (IS 18) AND ANY ADDITIONAL DIRECTIONS. TURN POWER SUPPLY OFF DURING INSTALLATION. IF NEW WIRING IS REQUIRED, CONSULT A QUALIFIED ELECTRICIAN OR LOCAL AUTHORITIES FOR CODE REQUIREMENTS
Wiring instructions
Indoor Fixtures
- Connect positive supply wire (A) (typically black or the smooth, unmarked side of the two-conductor cord) to positive fixture lead (B) with appropriately sized twist on connector – see Drawings 1 or 2.
- Connect negative supply wire (C) (typically white or the ribbed, marked side of the two-conductor cord) to negative fixture lead (D).
- Please refer to the grounding instructions below to complete all electrical connections
Outdoor Fixtures
- Connect positive supply wire (A) (typically black or the smooth unmarked side of the two-conductor cord) to positive fixture lead (B) with appropriately sized twist on connector — see Drawings 2 or 3.
- Connect negative supply wire (C) (typically white or the ribbed, marked side of the two-conductor cord) to negative fixture lead (D).
- Cover open end of connectors with silicone sealant to form a watertight seal.
- If installing a wall mount fixture, use caulk to seal gaps between the fixture mounting plate (backplate) and the wall. This will help prevent water from entering the outlet box. If the wall surface is lap siding, use caulk and a fixture mounting platform specially.
- Please refer to the grounding instructions below to complete all electrical connections.
Grounding instructions
Flush Mount Fixtures
For positive grounding in a 3-wire electrical system, fasten the fixture ground wire (E) (typically copper or green plastic coated) to the fixture mounting strap (M) with the ground screw (S) – see Drawing 1.
Note: On straps for screw supported fixtures, first install the two mounting screws in strap. Any remaining tapped hole may be used for the ground screw.
Chain Hung Fixtures
Loop fixture ground wire (E) (typically copper or green plastic coated) under the head of the ground screw (S) on fixture mounting strap (M) and connect to the loose end of the fixture ground wire directly to the ground wire of the building system with appropriately sized twist-on connectors – see Drawing 2.
Post-Mount Fixtures
Connect fixture ground wire (E) (typically copper or green plastic coated) to power supply ground with appropriately sized twist-on connector inside post. Cover open end of connector with silicone sealant to form a watertight seal – see Drawing 3.



















