52112 Brushed Nickel Bath Light Wall Light
Instruction Manual
52112 Brushed Nickel Bath Light Wall Light
![]() | ![]() |
![]() | ![]() |
![]() | ![]() |
![]() | ![]() |
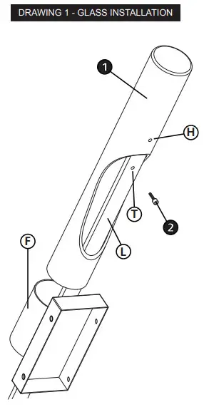
Glass Installation Instructions
Item No: 52112 / 52113 / 52114
start here
- Find a clear area in which you can work.
- Unpack fixture and glass from carton.
- Carefully review instructions prior to assembly.
NOTE: Glass may be installed prior to mounting body to retainer plate that is attached to junction box.
- To install glass (1) slide glass open end of glass over LED light rail (L).
Continue sliding glass in place until end of glass is seated in round cylinder portion (F) of fixture – see DRAWING 1. - Next align hole (H) in glass with threaded hole (T) in the back of the LED light rail.
- Slip threaded portion of knob (2) through hole in glass and thread it hole in back of LED light rail.
- Repeat process for other piece of glass.
SAFETY WARNING: READ WIRING AND GROUNDING INSTRUCTIONS (I.S. 18) AND ANY ADDITIONAL DIRECTIONS. TURN POWER SUPPLY OFF DURING INSTALLATION. IF NEW WIRING IS REQUIRED, CONSULT A QUALIFIED ELECTRICIAN OR LOCAL AUTHORITIES FOR CODE REQUIREMENTS.
Single Switch Box mounting
Item No: 51812/51814/52112/52113/52114/53842/53844/55652/55654
- Find a clear area in which you can work.
- Unpack fixture and glass from carton.
- Carefully review instructions prior to assembly.
Your fixture is capable of being mounted to the wall vertically or horizontally. It can be mounted to a single swatch box mounted vertically or horizontally installed in the wall, or a standard junction box. If mounted on a standard junction box and additional cover plate is required. See separate instruction sheet supplied.
- To mount to single switch box. First remove retainer plate (1) from fixture by removing four screws (2). Set screw aside in a safe place to be used later – see Drawing 1.
- Next mount retaining plate (1) to switch box (S) using holes (H) in retainer plate (1) and two 8-32 screws (3), not provided.
- Make sure to slip supply wire, from junction box through hole (W) in retainer plate.
- Now make all necessary wiring connections following instruction sheet (IS-18) provided.
- Next slip backplate (4) over retainer plate (1) and align holes (A) in backplate with holes (B) in retainer plate and thread in screws (2) removed earlier.
SAFETY WARNING: READ WIRING AND GROUNDING INSTRUCTIONS (I.S. 18) AND ANY ADDITIONAL DIRECTIONS. TURN POWER SUPPLY OFF DURING INSTALLATION. IF NEW WIRING IS REQUIRED, CONSULT A QUALIFIED ELECTRICIAN OR LOCAL AUTHORITIES FOR CODE REQUIREMENTS.
Alternate Mounting Instructions
Item No: 51812/51814/52112/52113/52114/53842/53844/55652/55654
- Find a clear area in which you can work.
- Unpack fixture and glass from carton.
- Carefully review instructions prior to assembly.
1. If mounting to a standard junction box, it is first necessary to remove the retainer plate (1) from the fixtures backplate (4). This is accomplished by removing screws (2) from the top and bottom of the backplate (4) – see DRAWING 1.
2. Set screws (2) aside in a safe place to be used later in the installation.
1. Now take junction box cover (5) and align holes in cover with holes in retainer plate (1) – see DRAWING 2.
2. Using the two short 8-32 screws (S) provided, slide screws through holes in retainer plate and thread then into matching holes in junction box cover. Making sure edges of retainer plate and junction box cover are parallel. Retainer plate is ready for installation.
SAFETY WARNING: READ WIRING AND GROUNDING INSTRUCTIONS (I.S. 18) AND ANY ADDITIONAL DIRECTIONS. TURN POWER SUPPLY OFF DURING INSTALLATION. IF NEW WIRING IS REQUIRED, CONSULT A QUALIFIED ELECTRICIAN OR LOCAL AUTHORITIES FOR CODE REQUIREMENTS.
- To mount retainer plate (1) with junction box cover (5) to junction box (J), attach mounting strap (A) to junction box (J) using two 8-32 screws (B) NOT PROVIDED – see DRAWING 3.
- Next thread center tube (C) into threaded center hole of mounting strap (A) approximately 3/8”.
- Now slip wires from junction box through hole (D) in retainer plate, and slide center tube (C) through hole (E) in retainer plate.
- Now thread on knob (F) and tighten to secure retainer plate to wall.
- Refer to steps 4 and 5 on first page of instructions to mount fixture body to retainer plate.
I.S. 18 wiring grounding instructions
SAFETY WARNING: READ WIRING AND GROUNDING INSTRUCTIONS (IS 18) AND ANY ADDITIONAL DIRECTIONS. TURN POWER SUPPLY OFF DURING INSTALLATION. IF NEW WIRING IS REQUIRED, CONSULT A QUALIFIED ELECTRICIAN OR LOCAL AUTHORITIES FOR CODE REQUIREMENTS
wiring instructions
Indoor Fixtures
- Connect positive supply wire (A) (typically black or the smooth, unmarked side of the two-conductor cord) to positive fixture lead (B) with appropriately sized twist on connector – see Drawings 1 or 2.
- Connect negative supply wire (C) (typically white or the ribbed, marked side of the two-conductor cord) to negative fixture lead (D).
- Please refer to the grounding instructions below to complete all electrical connections
Outdoor Fixtures
- Connect positive supply wire (A) (typically black or the smooth unmarked side of the two-conductor cord) to positive fixture lead (B) with appropriately sized twist on connector – – – see Drawings 2 or 3.
- Connect negative supply wire (C) (typically white or the ribbed, marked side of the two-conductor cord) to negative fixture lead (D).
- Cover open end of connectors with silicone sealant to form a watertight seal.
If installing a wall mount fixture, use caulk to seal gaps between the fixture mounting plate (backplate) and the wall. This will help prevent water from entering the outlet box. If the wall surface is lap siding, use caulk and a fixture mounting platform specially. - Please refer to the grounding instructions below to complete all electrical connections.
grounding instructions
Flush Mount Fixtures
For positive grounding in a 3-wire electrical system, fasten the fixture ground wire (E) (typically copper or green plastic coated) to the fixture mounting strap (M) with the ground screw (S) – see Drawing 1.
Note: On straps for screw supported fixtures, first install the two mounting screws in strap. Any remaining tapped hole may be used for the ground screw.
Chain Hung Fixtures
Loop fixture ground wire (E) (typically copper or green plastic coated) under the head of the ground screw (S) on fixture mounting strap (M) and connect to the loose end of the fixture ground wire directly to the ground wire of the building system with appropriately sized twist-on connectors – see Drawing 2.
Post-Mount Fixtures
Connect fixture ground wire (E) (typically copper or green plastic coated) to power supply ground with appropriately sized twist-on connector inside post. Cover open end of connector with silicone sealant to form a watertight seal – see Drawing 3.
33000 Pin Oak Parkway, Avon Lake, OH 44012
800.446.5539 / 440.653.5500
hinkley.com





















