HINKLEY 5053BN-CL Brushed Nickel Miley 3 Light 22 Inches

Strap Detail
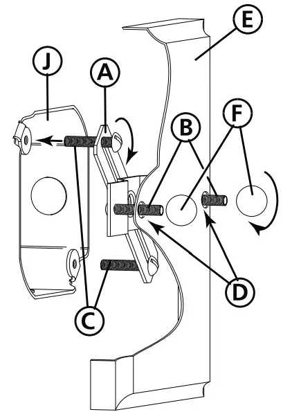
The construction of this fixture will be accomplished by first mounting the mounting strap to the junction box, making all necessary electrical connections, mounting the fixture to the wall and then in stalling the fixture glass.

- Prepare mounting strap (A) by threading the two long mount screws (B) into the back of the gull wing bracket – see Drawing 1.
- Be sure the holes into which the screws are threaded match the spacing of holes (D) in the back plate (E) – see Drawings 1 and 2.
- Attach mounting strap (A) to junction box (J) using two 1”screws (C) not provided – see Drawing 2.
Fixture Mounting
SAFETY WARNING: READ WIRING AND GROUNDING INSTRUCTIONS (I.S. 18) AND ANY ADDITIONAL DIRECTIONS. TURN POWER SUPPLY OFF DURING INSTALLATION. IF NEW WIRING IS REQUIRED, CONSULT A QUALIFIED ELECTRICIAN OR LOCAL AUTHORITIES FOR CODE REQUIREMENTS.
Make electrical connections from supply wire to fixture lead wires. Refer to instruction sheet (I.S. 18) and follow all instructions to make all necessary wiring connections. Then refer back to this sheet to complete installation of this fixture.
- To mount fixture, slide backplate (E) over screws (B) and secure with ball knobs (F) -see Drawing
- To install glass remove the spacer (3) and socket ring (4) from the socket (1) -see Drawing 2.

- Place glass (2) over the socket (1
- Slip spar (3) and thread socket ring (4) back on to socket (1) and hand tighten.
Note: Over-tightening could cause damage to glass. - Fixture can now be lamped according
Wiring instructions
Indoor Fixtures 
- Connect positive supply wire (A ) (typically black or the smooth, unmarked side of the two-conduc tor cord) to positive fixture lead (B ) with an appropriately sized twist on the connector – see Drawings 1 or 2.
- Connect negative supply wire (C) (typically white or the ribbed, marked side of the two-conductor cord) to negative fixture lead (D).
- Please refer to the grounding instructions below to complete all electrical connections.
Outdoor Fixtures

- Connect positive supply wire (A) (typically black or the smooth unmarked side of the two-conductor cord) to positive fixture lead (B) with an appropriately sized twist on the connector — see Drawings 2 or 3.
- Connect negative supply wire (C) (typically white or the ribbed, marked side of the two-conductor cord) to negative fixture lead (D).
- Cover open end of connectors with silicone sealant to form a watertight seal.
If installing a wall mount fixture, use caulk to seal gaps between the fixture mounting plate (backplate) and the wall. This will help prevent water from entering the outlet box. If the wall surface is lap siding, use caulk and a fixture mount ting platform specially. - Please refer to the grounding instructions below to complete all electrical connections.
Grounding instructions

Flush Mount Fixtures
For positive grounding in a 3-wire electrical system, fasten the fixture ground wire (E) (typically copper or green plastic coated) to the fixture mounting strap (M ) with the ground screw (S) – see Drawing 1.
Note: On straps for screw-supported fixtures, first install the two mounting screws in strap. Any remaining tapped hole may be used for the ground screw.
Chain Hung Fixtures
Loop fixture ground wire (E) (typically copper or green plastic coated) under the head of the ground screw (S) on fixture mounting strap (M ) and connect to the loose end of the fixture ground wire directly to the ground wire of the building system with appropriately sized twist-on connectors – see Drawing 2.
Post-Mount Fixtures
Connect fixture ground wire (E) (typically copper or green plastic coated) to power supply ground with app ropriately sized twist-on connector inside post. Cover open end of connector with silicone sealant to form a watertight seal – see Drawing 3.
HINKLEY33000 PinOak Parkway, Avon Lake, OH 44012800.446.5539 / 440.653.5500 hinkley.com












