HINKLEY 3643BN Harper 18 Inch 3 Light Semi Flush Mount

Assembly Instructions
- Find a clear area in which you can work.
- Unpack fixture and glass from carton.
- Carefully review instructions prior to assembly.
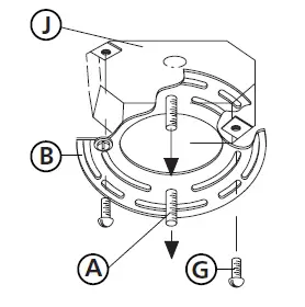
Strap Detail
- Prepare mounting strap (B) for mounting by installing screws (A) into mounting plate (B) -see Drawing 1.
Be sure the holes into which the screws are threaded match the spacing of holes (C)in the canopy (1) – see Drawings 2 and 3. - Attach mounting plate (B) to junction box (J), using screws (G) not provided and slip supply wires through large center hole.
SAFETY WARNING: READ WIRING AND GROUNDING INSTRUCTIONS (IS-18) AND ANY ADDITIONAL DIRECTIONS. TURN POWER SUPPLY OFF DURING INSTALLA-TION. IF NEW WIRING IS REQUIRED, CONSULT A QUALIFIED ELECTRICIAN OR LOCAL AUTHORITIES FOR CODE REQUIREMENTS.
- First rotate arms attached to canopy until they are 120 degrees apart – see Drawing 1.
- Hang the fixture by slipping canopy (D) over screws (A) and hold in position – see Drawings 2 and 3.
- Thread barrel knobs (E) onto end of screws (A) and tighten to secure fixture to ceiling
It is recommended you have some assistance when installing the glass on this fixture.
- Main body of fixture (1) can be mounted to the ceiling and lamped accordingly prior to installing the glass. Remove knurled knob (4) from arms prior to installing theglass – see Drawing 4.
- Slip glass (3) into ring (2).
- Lift ring (2) with glass (3) and slip inside uprights (U) and align holes (H) in ring studs(S) with holes (T) in uprights (U) and thread in knurled knobs (4) to secure glass to fixture.
Note: Use IS Wiring Instructions for 0-10 volt LED dimmer to wire the LED version of the fixture
Wiring Instructions for 0-10 volt LED dimmer
Your fixture is designed so it can use a standard incandescent dimmer, Or a 0-10 volt LED dimmer. If a 0-10 volt LED dimmer is used, it may be necessary to have additonal wiring installed from the dimmer switch to the fixture. Consulting an electrician will be necessary.
- If using the optional 0-10 volt dimmer there will be four wires exiting the junction box. (B) Black [+], (W) White [-], wirng are for the 120 / 277 voltage. The (G) Gray {-} and (P) Purple {+} are for the 0-10 volt wires from the dimmer (D) – see Drawing 1.
- The fixture has four wires of corrisponding colors. When make the wire connections follow the chart below.
Black (B) from junction box (J) wired to Black (B) from fixture (F). White (W) from junction box (J) wired to White (W) from fixture (F). Gray/Pink(G) from junction box (J) wired to Gray/Pink (G) from fixture (F). Purple (P) from junction box (J) wired to Purple (P) from fixture (F)
Connect ground wire from fixture to ground screw on mounting hardware
INCANDESCENT DIMMER USAGE:
If using an incandescent dimmer follow the manufactures instructions.
NOTE: MAKE SURE TO CAP OFF THE GRAY AND PURPLE WIRE FROM THE FIXTURE INSIDE THE CANOPY. IF THE ARE NOT CAPPED THEY CAN SHORT OUT AND CAUSE THE FIXTURE TO FAIL.
wiring grounding instructions
SAFE TY WARNI NG: READ WIRIN G AND GROUNDING INSTRUCTIO NS (IS 18) AND ANY ADDITIONAL DIRECTIONS. TURN THE POWER SUPPLY OFF DURING INSTALLATION. IF NEW WIRING IS REQUIRED, CONSULT A QUALIFIED ELECTRICIAN OR LOCAL AUTHORITIES FOR CODE REQUIREMENTS
Indoor Fixtures
- Connect t positive supply wire (A ) (typically black or the smooth, unmarked side of the two-conduc tor cord) to the positive fixture lead (B) with an appropriately sized twist on the connector – see Dra w ings 1 or 2.


- Connect t negative supply wire (C) (typically white or the ribbed, marked side of the two-conductor cord) to negative fixture lead (D).
- Please refer to the grounding instructions below to complete all electrical connections
Outdoor Fixtures
- Connect t positive supply wire (A) (typically black or the smooth unmarked side of the two-conduc tor cord) to positive fixture lead (B) with an appropriately sized twist on the connector — see Drawings 2 or 3.

- Connect t negative supply wire (C) (typically white or the ribbed, marked side of the two-conductor cord) to negative fixture lead (D).
- Cover open end of connectors with silicone sealant to form a watertight seal.
If installing a wall mount fixture, use caulk to seal gaps between the fixture mounting plate (backpla te) and the wall. This will help prevent water from entering the outlet box. If the wall surface is lap siding, use caulk and a fixture mounting platform specially. - Please refer to the grounding instructions below to complete all electrical connections.
grounding instructions
Flush Mount Fixtures
For positive grounding in a 3-wire electrical system, fasten the fixture ground wire (E) (typically copper or green plastic coated) to the fixture mounting strap (M ) with the ground screw (S) – see Draw in g 1.
Note: On straps for screw supported fixtures, first install the two mounting screws in strap. Any remaining tapped hole may be used for the ground screw.
Chain Hung Fixtures
Loop fixture ground wire (E) (typically coppe r or green plastic coated) under the head of the ground screw (S) on fixture mounting strap (M) and connect to the loose end of the fixture ground wire directly to the ground wire of the building system with appropriately sized twist-on connectors – see Draw in g 2.
Post-Mou nt Fixtur es
Connec t fixture ground wire (E) (typically copper or green plastic coated) to power supply ground with appropriately sized twist-on connector inside post. Cover open end of connector with silicone sealant to form a watertight seal – see Drawing 3.
HINKLEY 33000 Pin Oak Parkway, Avon Lake, OH 44012800 .446. 5539/440.653.500 hinkley.com




















