HINKLEY 993053 Draftsman Flush Mount Kit

UNPACKING YOUR FLUSH MOUNT KIT
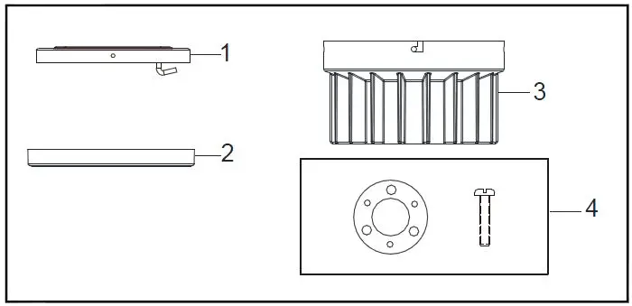
UNPACK YOUR FLUSH MOUNT KIT AND CHECK THE CONTENTS. Examine all parts. You should have the following:

PACKAGE CONTENTS
| PACKAGE CONTENTS | |
| 1 | Hanging Bracket |
| 2 | Trim Ring |
| 3 | Canopy |
| 4 | Hardware Bag |
| Rubber Gasket, Screw | |
PREPARING FOR ASSEMBLY
CAUTION: To avoid possible electrical shock, be sure electricity is turned off at the main power box before wiring. All wiring must be in accordance with National and Local Electrical Codes and the ceiling fan must be grounded as a precaution against possible electric shock.
- Remove the canopy ring from the canopy by turning the ring counterclockwise until it unlocks (Fig. 1).
- Remove and save the two canopy screws in the round holes.
- Loosen, but do not remove, the two canopy screws located in the “J shaped” slots (Fig. 2).
- Twist the hanging bracket counterclockwise and lift to remove it from the canopy.

ATTACH CANOPY TO THE FAN
- Remove three of the six screws and lock washers (every other one) securing the motor collar to the top of the fan-motor assembly (Fig. 1).
- Route the wires exiting the top of the fan-motor assembly through the rubber gasket aligning the holes in the rubber gasket with the three screw holes in the fan motor assembly.
- Route the wires exiting the top of the fan-motor assembly through the canopy ring, and the canopy (make sure the slot openings for the canopy ring and canopy are on top). Place the canopy over the collar at the top of the motor (Fig. 2).
- Align the mounting holes in the canopy with the screw holes in the motor and fasten using the three screws and lock washers (removed previously). Tighten the mounting screws securely.

HANGING THE FAN
- Loosen the two mounting screws in the outlet box.
- Pass the 120-Volt supply wires through the center hole in the hanging bracket (Fig. 1).
- Install the hanging bracket on the outlet box by sliding the hanging bracket over the two screws provided with the outlet box. If necessary, use leveling washers (not included) between the hanging bracket and the outlet box. The flat side of the hanging bracket should face toward the outlet box, as shown.
- Securely tighten the two mounting screws.
- Carefully lift the fan-motor assembly up to the hanging bracket and hang the fan on the hook provided by utilizing one of the holes at the outer rim of the ceiling canopy (Fig. 2).
WARNING: When hanging the fan on the hook It is critical that you use one of the non-slotted (round) holes in the canopy.
FINISHING THE INSTALLATION
- Insert the receiver into the receiver clip on the hanging bracketwith the flat side of the receiver facing the ceiling (Fig. 1). Makethe wire connections according to the instructions included with your fan. For best performance, make sure the black antenna and WiFi antenna, on the end of the receiver, remains extended and not tangled with any of the electrical wires.
Place the WiFi antenna on the outside of the canopy and stick/fix it on the ceiling (Fig. 2).
NOTE: For optimal remote performance, keep the WiFi antenna separated from the receiver antenna (Fig. 2).
- Align the locking slots of the ceiling canopy with the two screwsin the mounting plate. Push up to engage the slots and turn clockwise to lock in place. Immediately tighten the two mountingscrews firmly (Fig. 3).
- Install the remaining two mounting screws into the holes in the canopy and tighten firmly.
- Install the trim ring by aligning the ring’s slots with the screws in the canopy. Rotate the trim ring clockwise to lock in place.




















