DESIGNERS FOUNTAIN EVT41052D3-35 4-Light Contemporary Flush Mount

INSTALLATION INSTRUCTIONS
Please read carefully and save these instructions. Failure to do so may lead to electrical shock or fire, which may cause injury or death.
For questions, problems, or missing parts call the Customer Service line at (855) 573-6156 from 8 AM to 6 PM EST Monday – Friday.
CAUTION
WARNING – RISK OF FIRE: Turn off the main power at the circuit breaker before installing the fixture or performing other maintenance in order to prevent possible shock.
GENERAL
All electrical connections must be in accordance with local, and national electrical codes.
Prior to installation remove all protective plastic film covering from the fixture.
- Tools needed for installation: Phillips screwdriver, wire strippers, and pliers.
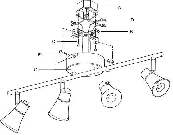
- Hardware included: Swivel mounting plate, 3 wire nuts,2 screws, and 2 mounting screws.
ASSEMBLY AND INSTALLATION

- Turn off the circuit breaker.
- Pull the supply wires out from the outlet box (A) and mount the swivel mounting plate (B) into the outlet box using the mounting screws (C) provided.
- Connect the black supply wire with the black fixture wire using a wire nut (D).
Connect the white supply wire to the white fixture wire using a wire nut (D).
Connect the ground fixture wire to the supply ground wire using a wire nut (D).
Add a cable tie below each wire nut to provide a more secure connection. - Screw in the small screws (E) into the holes on the sides of the swivel mounting plate (B).
- Hook the screws (E) of the swivel mounting plate (B) onto the cut out (F) of the light fixture pan (G).
















