LED Flush Mount
item no. 3481
Instruction Manual
3481 LED Flush Mount
Drawing 1 – Fixture Assembly
Assembly Instructions
start here
- Find a clear area in which you can work.
- Unpack fixture and glass from carton.
- Carefully review instructions prior to assembly.
- To start assembly secure top of bracket (B) to socket body (1) using screws (5)
- Repeat process for all four brackets.
- Next slip screw (3) through hole in bottom of bracket and hole in shade (2)
- Secure bracket to shade using ball knob (4)
- Repeat steps 3 and 4 for all four brackets
- Follow mounting instructions on the next page to complete installation
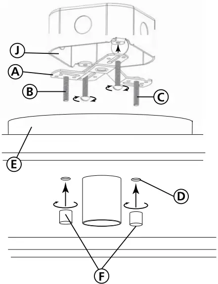
Mounting Instructions
Drawing 1 –Strap Detail
Drawing 2 – Fixture Mounting
- Find a clear area in which you can work.
- Unpack fixture and glass from carton.
- Carefully review instructions prior to assembly.
- Prepare gem strap (A) for mounting by threading two screws (B) provided into back of gull wing bracket of gem strap (A) – see Drawing 1.
• Be sure the holes into which the screws are threaded match the spacing of holes (D) in the canopy (E) – see Drawings 1 and 2. - Mount gem strap (A) to junction box (J), using the two 1″ screws (C) NOT PROVIDED.
SAFETY WARNING: READ WIRING AND GROUNDING INSTRUCTIONS (I.S. 18) AND ANY ADDITIONAL DIRECTIONS. TURN POWER SUPPLY OFF DURING INSTALLATION. IF NEW WIRING IS REQUIRED, CONSULT A QUALIFIED ELECTRI-CIAN OR LOCAL AUTHORITIES FOR CODE REQUIREMENTS.
Make electrical connections from supply wire to fixture lead wires. Refer to instruction sheet(I.S. 18) and follow all instructions to make all neces-sary wiring connections.
- Hang the fixture body without the glass by slipping screws (B) in mounting strap (A) throught holes (D) in the canopy (E) – see Drawing 2.
- Thread on barrel knobs (F) to secure fixture to the ceiling.
I.S. 18 wiring grounding instructions
SAFETY WARNING: READ WIRING AND GROUNDING INSTRUCTIONS (IS 18) AND ANY ADDITIONAL DIRECTIONS.
TURN POWER SUPPLY OFF DURING INSTALLATION. IF NEW WIRING IS REQUIRED, CONSULT A QUALIFIED ELECTRICIAN OR LOCAL AUTHORITIES FOR CODE REQUIREMENTS
wiring instructions
| Drawing 1 – Flush Mount | Drawing 2 – Chain Hung | Drawing 3 – Post-Mount |
![]() | ![]() | ![]() |
Indoor Fixtures
- Connect positive supply wire (A) (typically black or the smooth, unmarked side of the two-conductor cord) to positive fixture lead (B) with appropriately sized twist on connector – see Drawings 1 or 2.
- Connect negative supply wire (C) (typically white or the ribbed, marked side of the two-conductor cord) to negative fixture lead (D).
- Please refer to the grounding instructions below to complete all electrical connections
Outdoor Fixtures
- Connect positive supply wire (A) (typically black or the smooth unmarked side of the two-conductor cord) to positive fixture lead (B) with appropriately sized twist on connector — see Drawings 2 or 3.
- Connect negative supply wire (C) (typically white or the ribbed, marked side of the two-conductor cord) to negative fixture lead (D).
- Cover open end of connectors with silicone sealant to form a watertight seal.
⊠ If installing a wall mount fixture, use caulk to seal gaps between the fixture mounting plate (backplate) and the wall. This will help prevent water from entering the outlet box. If the wall surface is lap siding, use caulk and a fixture mounting platform specially. - Please refer to the grounding instructions below to complete all electrical connections.
grounding instructions
Flush Mount Fixtures
For positive grounding in a 3-wire electrical system, fasten the fixture ground wire (E) (typically copper or green plastic coated) to the fixture mounting strap (M) with the ground screw (S) – see Drawing 1.
Note: On straps for screw supported fixtures, first install the two mounting screws in strap. Any remaining tapped hole may be used for the ground screw.
Chain Hung Fixtures
Loop fixture ground wire (E) (typically copper or green plastic coated) under the head of the ground screw (S) on fixture mounting strap (M) and connect to the loose end of the fixture ground wire directly to the ground wire of the building system with appropriately sized twist-on connectors – see Drawing 2.
Post-Mount Fixtures
Connect fixture ground wire (E) (typically copper or green plastic coated) to power supply ground with appropriately sized twist-on connector inside post. Cover open end of connector with silicone sealant to form a watertight seal – see Drawing 3.
33000 Pin Oak Parkway, Avon Lake, OH 44012
800.446.5539 / 440.653.5500
hinkley.com




















