FM34424 LED Flush Mount
Instruction Manual
FM34424 LED Flush Mount
START FROM HERE
- Make sure the power is completely off at the fuse box.
- Have your fixture installed by a qualified licensed electrician
- Prepare everything in a clear area.
- Wear gloves at all times during this installation.
- Read the instructions carefully before you start assembly.
- Keep this instruction sheet for future reference.
Technical Support: 1-855-855-8926
Please Note:
- For dimming, a TRIAC type of dimmer is required.
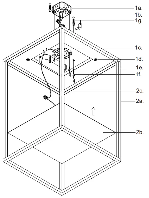
- Remove plate (2b) from fixture (2a). Attach the mounting plate (1c) to the junction box (1a) using two screws (1e). For additional support, add two wood screws (1f) to plastic anchors (1g) in the ceiling.
- Connect all wires (1b) correctly black to black “L”, white to white “N”, and the ground wire with provided barrettes from the hardware package. Now attach the plate (2b) to the fixture (2a) with the help of magnets (1d) and pull up the wire (2c).
- You have now completed the installation of your fixture, enjoy.

19054 28th Avenue Surrey, BC Canada V3Z 6M3
T: 604 538 7162 TF: 1-855 85
KUZCO F: 604 538 7196
W: kuzcolighting.com
20181121


















