KUZCO FM34418 LED Flush Mount
START FROM HERE
- Make sure POWER is COMPLETELY OFF at the fuse box
- Have your fixture installed by a qualified licensed electrician
- Prepare everything in a clear area
- Wear gloves at all time during this installation
- Read instructions carefully before you start assembly
- Keep this installation sheet for future reference
Technical Support: 1-855-855-8926
Please Note:
- All Kuzco LED fixtures come with pre-wired LED module(s).
- Unless instructed to do so, please do not touch any part of the LED module(s) as any unnecessary contact with the module could cause permanent damage.
- For dimming, an ELV (Electronic Low Voltage) type of dimmer is required.
Instructions
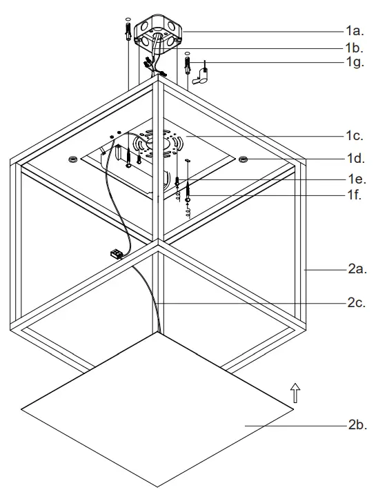
- Remove the plate (2b) from the fixture (2a). Attach the mounting plate (1c) to the junction box (1a) using two screws (1e). For additional support, add two wood screws (1f) to plastic anchors (1g) in the ceiling.
- Connect all wires (1b) correctly black to black “L”, white to white “N” and the ground wire with provided marrettes from the hardware package. Now attach the plate (2b) to the fixture (2a) with the help of magnets (1d) and pull up the wire (2c).
- You have now completed the installation of your fixture, enjoy

Customer Support
19054 28th Avenue Surrey, BC Canada V3Z 6M3
T: 604 538 7162 TF: 1-855 85 KUZCO F: 604 538 7196
W: kuzcolighting.com





















