KUZCO 501123 LED Ceiling Flush Mount

START FROM HERE
- Make sure POWER is COMPLETELY OFF at the fuse box
- Have your fixture installed by a qualified licensed electrician
- Prepare everything in a clear area
- Wear gloves at all times during this installation
- Read instructions carefully before you start assembly
- Keep this installation sheet for future reference
Please Note:
- This Kuzco LED fixture comes with pre-wired LED module(s).
- Unless instructed to do so, please do not touch any part of the LED module(s) as any unnecessary contact with the module could cause permanent damage.
- For dimming, an ELV (Electronic Low Voltage) type of dimmer is required.
- 120V input
Technical Support: 1-855-855-8926
INSTALLATION

- Remove fixture from its original package.
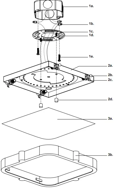
- Separate mounting plate (1c) from backplate (2a) by removing decorative nuts (2d)
- Align mounting plate screws (1d) to desired orientation, and then attach mounting plate (1c) to electrical junction box (1a) using junction box screws provided (1e) in hardware package
- Make proper electrical connections (black to hot “L”, white to neutral “N”, ground to “GND”) with wire nuts (1b) provided in hardware package
- Align and insert mounting plate screws (1d) through holes on backplate (2a), secure with decorative nuts (2d)
- Secure glass (3a) onto the lower metal clips (2c), then gently guide the metal frame cover (3b) over the fixture and push gently up until it has been securely fastened by the upper spring loaded knobs (2b)
19054 28th Avenue Surrey, BC Canada V3Z 6M3
- T: 604 538 7162 TF: 1-855 85 KUZCO
- F: 604 538 7196
- W: kuzcolighting.com
20210705



















