lowes KXR3001LX-03 LED Flushmount Ceiling Fixture

INTRODUCTION
Thank you for purchasing this Origin 21 product. We’ve created these easy-to-follow instructions to ensure you spend your time enjoying the product instead of putting it together. But, if you need more information than what is provided here, please visit Lowes.com, search the item number and refer to the Guides & Documents tab on the product’s page.
If you have any questions or problems, please call our customer service department at 888-251-1026, 8 a.m. – 8 p.m., EST, Monday – Sunday.
You could also contact us at [email protected].
SAFETY INFORMATION
Note: This equipment has been tested and found to comply with the limits for a Class B digital device, pursuant to Part 15 of the FCC Rules. These limits are designed to provide reasonable protection against harmful interference in a residential installation. This equipment generates, uses and can radiate radio frequency energy and, if not installed and used in accordance with the instructions, may cause harmful interference to radio communications. However, there is no guarantee that interference will not occur in a particular installation. If this equipment does cause harmful interference to radio or television reception, which can be determined by turning the equipment off and on, the user is encouraged to try to correct the interference by one or more of the following measures:
- Reorient or relocate the receiving antenna.
- Increase the separation between the equipment and receiver.
- Connect the equipment into an outlet on a circuit different from that to which the receiver is connected.
- Consult the dealer or an experienced radio/TV technician for help.
Caution: Please note that changes or modifications not expressly approved by the party responsible for compliance could void the user’s authority to operate the equipment.
This device complies with part 15 of the FCC Rules. Operation is subject to the following two conditions:
- This device may not cause harmful interference, and
- this device must accept any interference received, including interference that may cause undesired operation.
Importer Name: Lowe’s Home Centers LLC
Importer Address: 1000 Lowe’s Blvd. Mooresville, NC 28117
Telephone number: 888-251-1026
Product Name: LED Flushmount Ceiling Fixture
Model No.: KXR3001LX-03 & KXR3001LX-03 BK & KXR3001LX-03 GD
Please read and understand this entire manual before attempting to assemble, operate or install the product.
WARNING
- Some metal parts in the fixture may have sharp edges. To prevent cuts and scrapes, wear gloves when handling the parts.
- Account for small parts and destroy packing material, as these may be hazardous to children.
- Assistance may be required to support fixture during installation.
CAUTION
- Connect fixture to supply wires rated for at least 194˚F.
- Not workable for dimming circuits.
- Use only the supplied LED driver to power fixture.
- DO NOT touch the LED model.
- Minimum starting temperature for lamp is -0˚F.
PREPARATION
Before beginning assembly of product, make sure all parts are present. Compare parts with package contents list and hardware contents list. If any part is missing or damaged, do not attempt to assemble the product.
Estimated Assembly Time: 15-20 minutes.
TOOLS REQUIRED (NOT INCLUDED)

PACKAGE CONTENTS
HARDWARE CONTENTS

INSTALLATION OVERVIEW

Turn off the power and remove existing fixture.

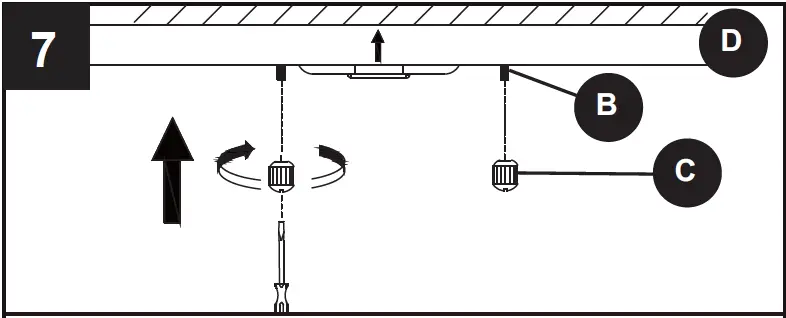
- Unscrew the cap nuts C from mounting screws B. Separate the mounting strip A from canopy D.

- Attach mounting strip A to outlet box (not included) using outlet box screws AA.

- Temporarily place D through B to determine amount of adjustment necessary for B.

- Feed wires. Twist stripped wire ends together with pliers (not included), black to black, white to white, and ground/bare to ground/bare.

- Attach BB to connections with electrical tape (not included).

- Place canopy D onto mounting screws B and secure with cap nuts C.

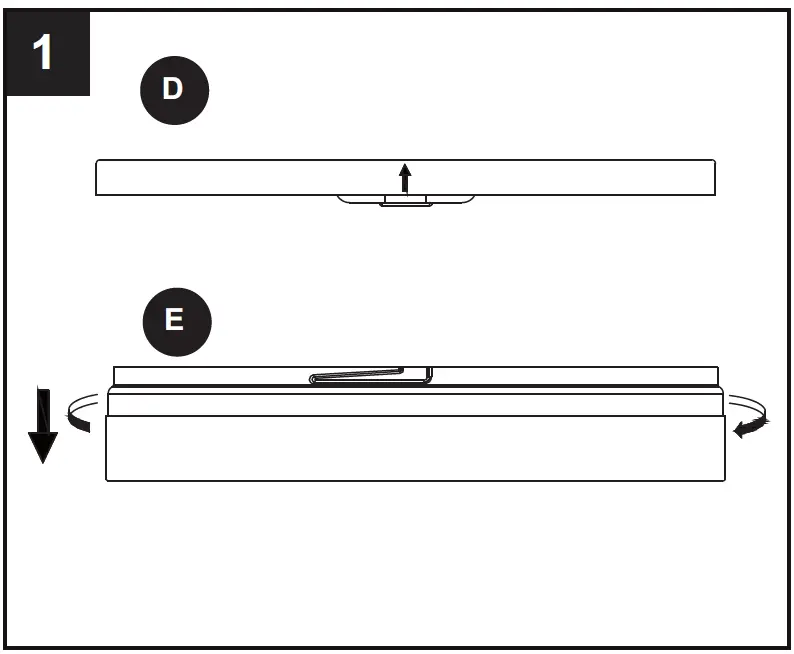
- Twist the shade E onto ceiling plate D until it is firmly secured.

- Assembly is complete. Turn power back on.

TROUBLESHOOTING
PROBLEM
- LED chips will not light.
POSSIBLE CAUSE
- Faulty wire connection.
- Faulty switch.
CORRECTIVE ACTION
- Check wiring.
- Test or replace switch.
CARE AND MAINTENANCE
- Wipe with damp cloth or use window cleaner.
- Do not use abrasive cleansers
- Bulb Information: 15-watt integrated LED included; do not attempt to replace the LEDs.
WARRANTY
- The manufacturer warrants all of its lighting fixtures against defects in materials and workmanship for three (3) years limited from the date of purchase.
FEELING CONFIDENT? START YOUR NEXT PROJECT
- Visit lowes.com for more information.

























