lowes KXQ3101LX-02 LED Ring Chandelier

Thank you for purchasing this Origin 21 product. We’ve created these easy-to-follow instructions to ensure you spend your time enjoying the product instead of putting it together. But, if you need more information than what is provided here, please visit Lowes.com, search the item number and refer to the Guides & Documents tab on the product’s page.
If you have any questions or problems, please call our customer service department at 888-251-1026, 8 a.m. – 8 p.m., EST, Monday – Sunday. You could also contact us at [email protected].
SAFETY INFORMATION
Please read and understand this entire manual before attempting to assemble, operate or install the product.
WARNING
- Account for small parts and destroy packing material, as these may be hazardous to children.
- Assistance may be required to support the fixture during installation.
CAUTION
- Connect the fixture to supply wires rated for at least 167˚F. (75 °C).
- Not workable for dimming circuits.
- DO NOT touch the LED model.
- The minimum starting temperature for the lamp is -0˚F. (-17.8 °C).
PREPARATION
Before beginning the assembly of the product, make sure all parts are present. Compare parts with the package contents list and hardware contents list.
If any part is missing or damaged, do not attempt to assemble the product.
TOOLS REQUIRED (NOT INCLUDED)

PACKAGE CONTENTS

HARDWARE CONTENTS
Note: Hardware shows actual size.
INSTALLATION OVERVIEW
- Turn off the power and remove the existing fixture.

- Unscrew the cap nuts C from mounting screws B. Attach A to the outlet box using AA.

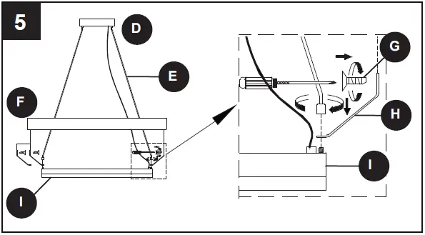
- Temporarily place D through B to determine the amount of adjustment necessary for B.

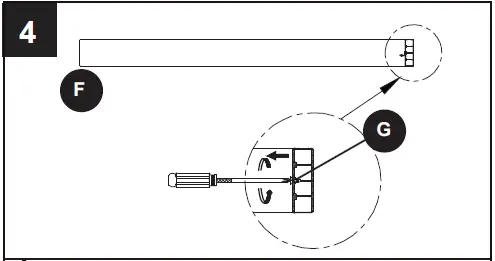
- Unscrew the thumb screws G.


- Feed wires. Twist stripped wire ends together with pliers (not included), black to black, white to white, and ground/bare to ground/bare.

- Attach BB to connections with electrical tape (not included).

- Place canopy D onto mounting screws B and secure with cap nuts C.

- Assembly is complete. Turn power back on.

FCC STATEMENT
Note:
This equipment has been tested and found to comply with the limits for a Class B digital device, pursuant to Part 15 of the FCC Rules. These limits are designed to provide
reasonable protection against harmful interference in a residential installation. This equipment generates, uses, and can radiate radio frequency energy and, if not installed and used in accordance with the instructions, may cause harmful interference to radio communications. However, there is no guarantee that interference will not occur in a particular installation. If this equipment does cause harmful interference to radio or television reception, which can be determined by turning the equipment off and on, the user is encouraged to try to correct the interference by one or more of the following measures:
- Reorient or relocate the receiving antenna.
- Increase the separation between the equipment and the receiver.
- Connect the equipment to an outlet on a circuit different from that to which the receiver is connected.
- Consult the dealer or an experienced radio/TV technician for help.
Caution:
Please note that changes or modifications not expressly approved by the party responsible for compliance could void the user’s authority to operate the equipment.
This device complies with part 15 of the FCC Rules. Operation is subject to the following two conditions:
- This device may not cause harmful interference, and
- This device must accept any interference received, including interference that may cause undesired operation.
Importer Name:
Lowe’s Home Centers LLC
- Importer Address: 1000 Lowe’s Blvd. Mooresville, NC 28117
- Telephone number: 888-251-1026
- Product Name: LED ring chandelier
- Model No.: KXQ3101LX-02 & KXQ3101LX-02 WBK & KXQ3101LX-02 BK.
TROUBLESHOOTING
| PROBLEM | POSSIBLE CAUSE | CORRECTIVE ACTION |
| LED chips will not light. | 1. Faulty wire connection. 2. Faulty switch. | 1. Check wiring. 2. Test or replace the switch. |
CARE AND MAINTENANCE
- Wipe with a damp cloth or use window cleaner. Do not use abrasive cleaners.
- Bulb Information: 15-watt integrated LED included; do not attempt to replace the LEDs.
WARRANTY
The manufacturer warrants all of its lighting fixtures against defects in materials and workmanship for three (3) years limited from the date of purchase.
FEELING CONFIDENT? START YOUR NEXT PROJECT
Visit lowes.com for more information.
Made in China.
ORIGIN 21 and logo designs are trademarks
or registered trademarks of LF, LLC. All rights reserved. [email protected]. lowes.com.





























