Kuzco Lighting CH90136 Ceiling LED Chandelier

Ceiling LED Chandelier
START FROM HERE
- Make sure POWER is COMPLETELY OFF at the fuse box
- Have your fixture installed by a qualified licensed electrician
- Prepare everything in a clear area
- Wear gloves at all times during this installation
- Read instructions carefully before you start assembly
- Keep this installation sheet for future reference
Please Note:
- This Kuzco LED fixture comes with pre-wired LED module(s)
- Unless instructed, Do Not touch any part of the LED module(s) as any unnecessary contact with the module could cause permanent damage
- For dimming, an ELV (Electronic Low Voltage) or TRIAC type of dimmer is required
- 120V input
- Make sure POWER is COMPLETELY OFF at the fuse box
- Have your fixture installed by a qualified licensed electrician
- Prepare everything in a clear area
- Wear gloves at all times during this installation
- Read instructions carefully before you start assembly
- Keep this installation sheet for future reference
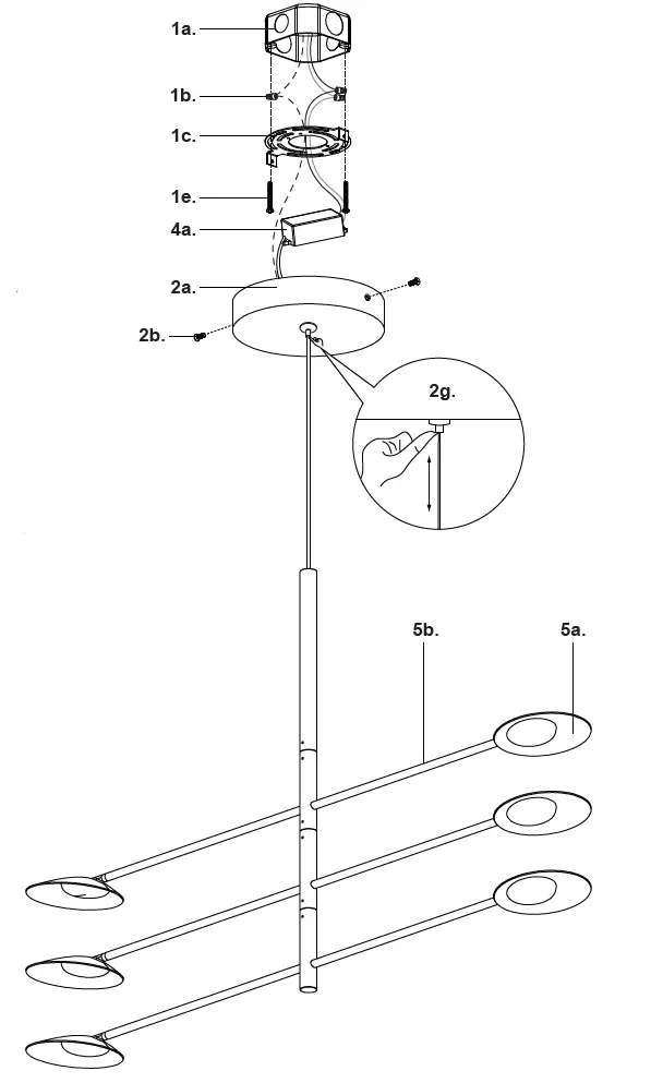
Device Overview

- Remove fixture from its original package
- Separate mounting plate (1c) from canopy (2a) b removing canopy screws (2b)
- Attach mounting plate (1c) to electrical junction box (1a) using junction box screws provided (1e) i hardware package
- To change fixture height, push and hold wire gripper (2g), slide wire to the desired length and then release wir gripper (2g) to secure
- Make proper electrical connections (black to hot “L”, white to neutral “N”, ground to “GND”) with wire nuts (1b) provided in the hardware package and place driver (4a) inside the canopy (2a)
- Attach canopy (2a) to mounting plate (1c) with no screws (2b)
- Rotate arms (5b) and tilt shades (5a) to the desired position
- Fine tone wire length if necessary, by pushing and hold the wire gripper (2g) and then adjust the wire to the desired length
19054 28th Avenue Surrey, BC Canada V3Z 6M3
T: 604 538 7162 TF: 1-855 85 KUZCO F: 604 538 7196
W: kuzcolighting.com




















