KUZCO CH95942 LED Chandelier

START FROM HERE
- Make sure POWER is COMPLETELY OFF at the fuse box
- Have your fixture installed by a qualified licensed electrician
- Prepare everything in a clear area
- Wear gloves at all times during this installation
- Read instructions carefully before you start assembly
- Keep this installation sheet for future reference
Please Note:
- This Kuzco LED fixture comes with pre-wired LED module(s)
- Unless instructed, Do Not touch any part of the LED module(s) as any unnecessary contact with the module could cause permanent damage
- For dimming, an ELV (Electronic Low Voltage) or TRIAC type of dimmer is required
Technical Support: 1-855-855-8926
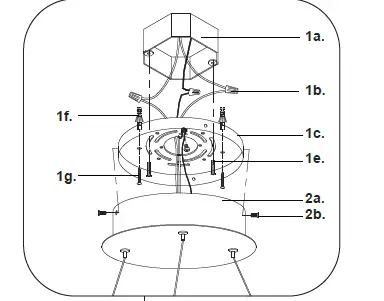
- Remove the fixture from it’s original packaging
- Separate the mounting plate (1c) from within the canopy (2a) by removing the canopy screws (2b)
- Attach mounting plate (1c) to electrical junction box (1a) using screws provided (1e) in hardware package

- To change fixture height, push and hold wire gripper (2g), slide wire to desired length and then release wire gripper (2b) to secure
- Secure mounting plate (1c) to mounting surface with anchors (1f) and screws (1g)
- Make proper electrical connections (black to hot “L”, white to neutral “N”, ground to “GND”) with wire nuts (1b) provided in hardware package
- Secure canopy (2a) to mounting plate (1c) with canopy screws (2b)
- Fine tone wire length if necessary, by push and hold wire gripper (2g) and then adjust wire to desired length

19054 28th Avenue Surrey, BC Canada V3Z 6M3
T: 604 538 7162 TF: 1-855 85 KUZCO F: 604 538 7196 W: kuzcolighting.com
20220322


















