KICHLER 34751A 3-Light Chandelier

Product Information
- Product Name: 3-Light Chandelier
- Model Number: 34687A, 34751A
- Item Numbers: 0616009, 0670122, 31885160
- Manufacturer: Kichler
- Customer Service: 1-800-554-6504, 8 a.m. – 4:30 p.m, EST, Monday – Friday
- Website: kichler.com/customer-care/contact-us
- Safety Information: This product can expose you to chemicals including lead, which is known to the State of California to cause cancer, birth defects, or other reproductive harm. For more information, visit P65Warnings.ca.gov
Package Contents
| Description | Quantity |
|---|---|
| Canopy | 1 |
| Mounting Bracket | 1 |
| Threaded Nipple | 1 |
| Hex Nut (preassembled to Threaded Nipple) | 3 |
| Socket (preassembled to Arm) | 3 |
| Coupling | 1 |
| Shade | 3 |
| Screw Collar Ring (preassembled to Threaded Nipple) | 1 |
| Screw Collar Loop (preassembled to Threaded Nipple) | 1 |
| Spacer | 3 |
| Chain | 1 |
| Fixture Loop | 1 |
| Socket Ring (preassembled to Socket) | 3 |
| Threaded Pipe Arm | 1 |
| Threaded Chain Link | 2 |
Hardware Contents
| Description | Quantity |
|---|---|
| Wire Connector | 3 |
| Short Machine Screw | 2 |
Product Usage Instructions
- Screw the fixture loop (L) onto the threaded pipe (N) before screwing the threaded pipe onto the coupling (F).
- Position the threaded nipple (C) in the mounting bracket (B) so that, when mounted:
- The canopy (A) is level
- The fixture hangs straight
- Once the proper position of the threaded nipple (C) and bracket (B) has been determined, secure with 3 hex nuts (D).
- Connect the mounting bracket (B) to the outlet box with the short machine screws (BB).
- Using the threaded chain links (P) on the chain (K), attach one end to the screw collar loop (I) and the other end to the fixture loop (L). Weave the fixture electrical and ground wires through every other chain link and pass through the threaded nipple (C) into the outlet box. Lower the screw collar ring (H) and canopy (A) over the chain (K).
- Pass the canopy (A) over the screw collar loop (I). Attach the screw collar ring (H) to the screw collar loop (I) to secure the canopy (A).
Note: The fixture will have 2 wires, either Black and White or Parallel Cord SPT-1 lamp wire with one round smooth wire and one D shaped ribbed wire.
Questions, problems, missing parts? Before returning to your retailer, call our customer service department at 1-800-554-6504, 8 a.m. – 4:30 p.m, EST, Monday – Friday. kichler.com/customer-care/contact-us
PACKAGE CONTENTS

| PART DESCRIPTION QUANTITY | ||
| A | Canopy | 1 |
| B | Mounting Bracket | 1 |
| C | Threaded Nipple | 1 |
| D | Hex Nut (preassembled to Threaded Nipple (C)) | 3 |
| E | Socket (preassembled to Arm (O)) | 3 |
| F | Coupling | 1 |
| G | Shade | 3 |
| H | Screw Collar Ring (preassembled to Threaded Nipple (C)) | 1 |
| I | Screw Collar Loop (preassembled to Threaded Nipple (C)) | 1 |
| J | Spacer | 3 |
| K | Chain | 1 |
| L | Fixture Loop | 1 |
| M | Socket Ring (preassembled to socket (E)) | 3 |
| N | Threaded Pipe | 1 |
| O | Arm | 3 |
| P | Threaded Chain Link | 2 |
HARDWARE CONTENTS

SAFETY INFORMATION
Please read and understand this entire manual before attempting to assemble, operate or install the product.
- WARNING
- CAUTION – RISK OF SHOCK –
Disconnect Power at the main circuit breaker panel or main fusebox before starting and during the installation. - WARNING:
This fixture is intended for installation in accordance with the National Electrical Code (NEC) and all local code specifications. If you are not familiar with code requirements, installation by a certified electrician is recommended. - Do not use bulbs with wattage greater than specified on this fixture.
- California Proposition 65
- CAUTION – RISK OF SHOCK –
- WARNING: This product can expose you to chemicals including lead, which is known to the State of California to cause cancer, birth defects, or other reproductive harm.
For more information, go to http://www.P65Warnings.ca.gov - CAUTION
- If you have any doubts about how to install this lighting fixture, or if the fixture fails to operate completely, please contact a licensed electrical contractor.
- All parts must be used as indicated in these instructions. Do not substitute any parts, leave parts out, or use any parts that are worn out or broken. Failure to obey this instruction could invalidate ETL listing and/or C.S.A. certification of this fixture.
PREPARATION
Before beginning assembly of product, make sure all parts are present. Compare parts with package contents list and hardware contents list. If any part is missing or damaged, do not attempt to assemble the product.
Estimated assembly time: 30 minutes to 1 hour
Tools Required for Assembly (not included): Phillips screwdriver, flathead screwdriver, wire strippers, electrical tape, ladder, safety glasses.
ASSEMBLY INSTRUCTIONS
- Screw fixture loop (L) onto threaded pipe (N) before screwing threaded pipe onto coupling (F).
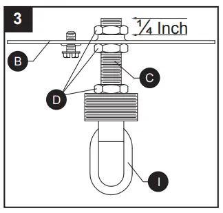
- Position threaded nipple (C) in mounting bracket (B) so that, when mounted:
- The threaded nipple (C) will protrude a minimum of ¼ inch beyond the raised center portion of the bracket (B).
- The threaded nipple (C) height should be positioned so that ½ the exterior threads of the screw collar loop (I) will extend past the canopy (A), when it is mounted.

- Once the proper position of the threaded nipple (C) and bracket (B) has been determined, secure with 3 hex nuts (D) as follows:
- Screw 1st hex nut (D) onto the threaded nipple (C) and tighten against the raised portion of the bracket (B).
- Screw 2nd hex nut (D) onto the threaded nipple (C) and tighten against the flat portion of the mounting bracket (B).
- Screw the third hex nut (D) onto threaded nipple (C) and tighten against the screw collar loop (I).

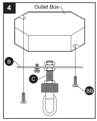
- Connect mounting bracket (B) to the outlet box with short machine screws (BB).
Hardware Used
BB Short Machine Screw x2
- Using the threaded chain links (P) on chain (K), attach one end to screw collar loop (I) and the other end to fixture loop (L). Weave the fixture electrical and ground wires through every other chain link and pass through threaded nipple (C) into outlet box. Lower the screw collar ring (H) and canopy (A) over the chain (K).

- Wire connection guide:
- Ground wire:
- For installation in the United States: Wrap ground wire from outlet box around ground screw on mounting bracket (B) no less than 2 in. from wire end. Tighten ground screw. If fixture is supplied with a ground wire, connect to outlet ground wire with a wire connector (AA).
- For installation in Canada: If fixture is supplied with ground wire, wrap ground wire around ground screw on mounting bracket (B). Tighten ground screw. Connect fixture ground wire to outlet ground wire with the wire connector (AA).
- Supply wires:
- Connect the Neutral (White) supply wire from the outlet box to the Neutral fixture wire (White or Parallel Cord “D” shaped and ribbed).
- Connect the Hot (Black) supply wire from the outlet box to the Hot fixture wire (Black or Parallel Cord round and smooth).
NOTE:
Fixture will have 2 wires either Black and White or Parallel Cord SPT-1 lamp wire with one round smooth wire and one “D” shaped ribbed wire.
Hardware Used
AA Wire Connector
- Ground wire:
- Pass canopy (A) over the screw collar loop (I). Attach screw collar ring (H) to screw collar loop (I) to secure canopy (A).

- Lower shade (G) over socket (E). Next screw spacer (J) then socket ring (M) onto socket (E).
Repeat for remaining sockets (E).
- Insert 60-watt max. medium base bulb or LED equivalent (not included) into socket (E).
Repeat for remaining sockets (E).
CARE AND MAINTENANCE
- Always be certain that electric current is turned off before cleaning this item.
- Use a soft, moist cloth with mild non-abrasive soap to clean fixture. Never use glass cleaner on fixture, as it will damage the metal finish.
- All glass shades may be washed in a towel-lined sink with warm water and mild soap. Do not wash shades in an automatic dishwasher.
TROUBLESHOOTING
| PROBLEM | POSSIBLE CAUSE | CORRECTIVE ACTION |
| Fixture does not light. | 1. Fixture may be wired incorrectly. 2. Worn or broken bulb. | 1. Check wiring. 2. Replace bulb. |











