KICHLER 82402 Sayulita 4-Light Oval Chandelier

PACKAGE CONTENTS

| PART DESCRIPTION QTY. | ||
| A | Canopy | 1 |
| B | Mounting Bracket | 1 |
| C | Canopy Loop (preassembled) | 2 |
| D | Chain | 2 |
| E | Socket | 4 |
| F | Fixture Loop | 2 |
| G | Threaded Pipe | 2 |
| PART DESCRIPTION QTY. | ||
| H | Coupling | 2 |
| I | Threaded Nipple | 1 |
| J | Lock-up Knob | 1 |
| K | Hex Nut | 3 |
| L | Lock Washer | 1 |
| M | Socket Assembly | 1 |
| N | Shade | 1 |
HARDWARE CONTENTS

SAFETY INFORMATION
Please read and understand this entire manual before attempting to assemble, operate or install the product.
WARNING
CAUTION – RISK OF SHOCK –
Disconnect Power at the main circuit breaker panel or main fusebox before starting and during the installation.
WARNING:
This fixture is intended for installation in accordance with the National Electrical Code (NEC) and all local code specifications. If you are not familiar with code requirements, installation by a certified electrician is recommended.
• Do not use bulbs with wattage greater than specified on this fixture.
• California Proposition 65
WARNING: This product can expose you to chemicals including lead, which is known to the State of California to cause cancer, birth defects, or other reproductive harm.
For more information, go to http://www.P65Warnings.ca.gov
CAUTION
- If you have any doubts about how to install this lighting fixture, or if the fixture fails to operate completely, please contact a licensed electrical contractor.
- All parts must be used as indicated in these instructions. Do not substitute any parts, leave parts out, or use any parts that are worn out or broken. Failure to obey this instruction could
invalidate ETL listing and/or C.S.A. certification of this fixture.
PREPARATION
Before beginning assembly of product, make sure all parts are present. Compare parts with package contents list and hardware contents list. If any part is missing or damaged, do not attempt to assemble the product.
Estimated assembly time: 30 minutes to 1 hour
Tools Required for Assembly (not included): Phillips screwdriver, flathead screwdriver, wire strippers, electrical tape, ladder, safety glasses, pliers (2).
ASSEMBLY INSTRUCTIONS
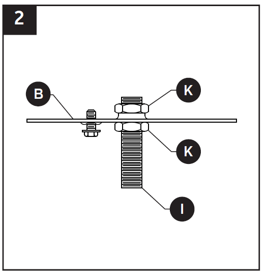
- Thread the threaded nipple (I) into mounting bracket (B) starting from the flat side of mounting bracket (B), such that when mounting bracket (B) is later mounted to outlet box (not included):
- Threaded nipple (I) will protrude a minimum of 1/4 inch (6.35 mm) beyond the raised center portion of mounting bracket (B).
- Threaded nipple (I) should be positioned such that a hex nut (K) and the lock-up knob (J) can fully secure canopy (A) flush against ceiling when fixture installation is complete.
NOTE: Canopy (A) shown here is only needed to help determine the positioning of threaded nipple (I) within mounting bracket (B). Canopy (A) will be installed in a later step.
- Once the proper positioning of threaded nipple (I) within mounting bracket (B) has been determined, secure threaded nipple (I) in place with hex nuts (K) as follows:
- Thread one hex nut (K) onto “short” end of threaded nipple (I) and tighten against the raised portion of mounting bracket (B) to secure.
- Thread another hex nut (K) onto “long” end of threaded nipple (I) and tighten against the flat side of mounting bracket (B) to secure.
NOTE: Retain the remaining hex nut (K), it will be installed in a later step.
- Raise socket assembly (M) up inside of shade (N) such that threaded holes on top of socket assembly (M) align with holes in crossbars of shade (N). Screw short thumbscrews (CC) into aligned holes to secure shade (N) to socket assembly (M).

- Screw threaded pipe (G) into coupling (H). Repeat.
NOTE: The electrical cable will need to get pulled through the individual parts as they are installed on this and later steps.
- To open chain links:
Locate the split in the chain link (D). Put one pair of pliers (not included) on each side of the split and rotate the pliers in opposite directions to open the link’s split. The open link should be shaped like the letter “C”.
Do not twist the ends of the link sideways so that the open link cannot lay flat.
- Connect the canopy loops (C) to the fixture loops (F) using chain (D). For best appearance be sure to weave the electrical cable through chain.
NOTE: Add or remove chain links once desired length is established.
CAUTION: To avoid damage from falling, make sure the open chain links are fully closed once assembled.
- Orient mounting bracket (B) such that the “long” end of threaded nipple (I) points away from outlet box (not included). Attach mounting bracket (B) to outlet box using short machine screws (BB).

- Wire connection guide:
Ground wire:- For installation in the United States: Wrap ground wire from outlet box around ground screw on mounting bracket (B) no less than 2 in. from wire end. Tighten ground screw. If fixture is supplied with a ground wire, connect to outlet ground wire with a wire connector (AA).
- For installation in Canada: If fixture is supplied with ground wire, wrap ground wire around ground screw on mounting bracket (B). Tighten ground screw. Connect fixture ground wire to outlet ground wire with a wire connector (AA).
Supply wires: - Connect the Neutral (White) supply wire from the outlet box to the Neutral fixture wire (White or Parallel Cord “D” shaped and ribbed).
- Connect the Hot (Black) supply wire from the outlet box to the Hot fixture wire (Black or Parallel Cord round and smooth).

- Raise canopy (A) to ceiling, carefully passing threaded nipple (I) through center hole in canopy (A). While holding canopy (A) in place flush against ceiling, slip lock washer (L) up over threads protruding through center hole in canopy (A). Thread remaining hex nut (K) onto threads and tighten to secure canopy (A) to ceiling.
Once canopy (A) is secured to ceiling, screw lock-up knob (J) onto threads protruding from hex nut (K) and tighten to secure lock-up knob (J) in place.
NOTE: Make sure all wires are inside of canopy (A) and do not get pinched between canopy (A) and mounting bracket (B), or canopy (A) and ceiling.
- Insert 60-watt max. medium base bulb or LED equivalent (not included) into socket (E). Repeat for remaining sockets (E).

CARE AND MAINTENANCE
- Always be certain that electric current is turned o before cleaning this item.
- Use a soft, moist cloth with mild non-abrasive soap to clean fixture. Never use glass cleaner on fixture, as it will damage the metal finish.
TROUBLESHOOTING
| PROBLEM | POSSIBLE CAUSE | CORRECTIVE ACTION |
| Fixture does not light. | 1. Fixture may be wired incorrectly. 2. Worn or broken bulb. | 1. Check wiring. 2. Replace bulb. |
Questions, problems, missing parts? Before returning to your retailer, call our customer service department at 800-554-6504, 8 a.m. – 4:30 p.m, EST, Monday – Friday.
kichler.com/customer-care/contact-us







Supply wires:












