INSTRUCTION MANUAL
50cm High Velocity Wall Fan
Model: DCWF50A
DCWF50A 50cm High Velocity Wall Fan
For domestic household use only.
IMPORTANT
THESE INSTRUCTIONS SHOULD BE READ CAREFULLY AND RETAINED FOR FUTURE REFERENCE. Note also the information presented on the appliance
CAUTION: FAILURE TO FOLLOW THESE INSTRUCTIONS MAY CAUSE INJURY AND/ OR DAMAGE AND MAY INVALIDATE YOUR WARRANTY
Please read the operating instructions carefully before using your dehumidifier for the first time and keep them in a safe place.
WARNING – This appliance must not be used in a bathroom.
WARNING – Do not use this appliance in the immediate surroundings of a bath, a shower or a swimming pool.
- Never immerse the appliance in water or other liquids.
- Operate this unit only on a firm, flat surface.
- Do not place on soft, unstable or non-horizontal/angled surfaces.
- Never operate the appliance if a cable or connector has been damaged, after appliance malfunction or if the appliance was dropped or is otherwise damaged.
- If the mains lead is damaged it must only be replaced by the manufacturers service agent or a similarly qualified person in order to avoid a hazard.
- Please ask a professional service agent to repair the product. Improper repair may cause danger to users.
- Disconnect the appliance from mains power whenever it is not in use, before relocating it, and before cleaning.
- Operate the appliance only at the voltage specified on the rating label.
- Only connect the unit to a properly installed and easily accessible socket so that you can quickly disconnect the plug if necessary.
- Do not connect this product to the mains using an extension lead.
- This fan is only intended for INDOOR RESIDENTIAL applications. This fan should not be used for commercial or industrial or leisure applications or in small enclosed spaces.
- Never use the mains lead as a carrying strap or pulling lead.
- To avoid a fire or electrocution hazard, NEVER put the cord near heat registers, radiator, stoves or heaters.
- DO NOT cover cord with carpeting, throw rugs, runners, or similar coverings.
- DO NOT route cord under furniture or appliances. Take care to position the cord away from traffic areas and where it will not be a tripping hazard.
- DO NOT use the unit near windows or where water collects. Rain and water collection may lead to a risk of fire or electric shock.
- Only operate this appliance with a minimum of 50cm clearance all around i.e. away from walls, furniture and overhanging objects such as curtains or a shelf.
- This appliance is not intended for use by persons (including children) with reduced physical, sensory or mental capabilities, or lack of experience and knowledge, unless they have been given supervision or instruction concerning use of the appliance by a person responsible for their safety.
- Children should be supervised to ensure they do not play with the appliance.
- WARNING: To avoid danger of suffocation please remove all packaging materials particularly plastic and EPS and keep these away from vulnerable people, children and babies.
- NEVER drop or insert any object or fingers into any openings.
- Do not use the appliance in locations where paint, petrol or other flammable liquids are used or stored.
- Do not use bug sprays or other flammable cleansers/vapour sprays on or around the unit.
- Always switch off the unit and take the plug out of the socket:
- If you are not using the unit
- Before you clean or carry out maintenance on the unit
- If a fault occurs
- In the event of an electrical storm.
- Avoid electromagnetic interference. Keep the unit at least 1 metre away from electrical appliances such as televisions & radios.
- DO NOT use the appliance with an extension lead or power board.

Specification
| Model no. | DCWF50A |
| Colour | Anthracite |
| Power supply | 220-240V~, 50Hz |
| Rated power | 125W |
| Speed settings | 3 |
| Air speed | 6m/s |
| Timer | 1-7 hours |
| Oscillation | 75° |
| Noise level | 68db(A) |
| Weight (net) | 5.8kg |
| Dimensions (w x d x h) | 545 x 257 x 662 |
- For greater precision, please always refer to the rating label placed on the product.
Assembly
NOTE: Before you use the fan, it must be fixed on a strong, flat wall surface. The distance from the floor to the low edge of the guard grill must be more than 2.3m.

- Draw a vertical line on the wall (Fig.2)
- Drill three holes into the vertical line with a 6.4cm gap in between each hole (Fig.3).

- Insert a wall plug into each hole.
- Place the bracket on the wall by aligning the three holes with the three wall plugs (Fig.4)

- Use the three provided tapping screws to secure the bracket. Place the screws into the three holes aligned with the bracket, and drive the screws in to secure firmly against the wall.
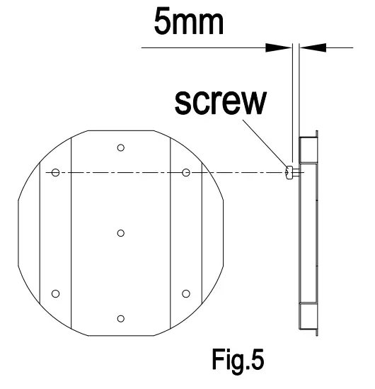
- Use two of the provided M4 screws to screw in the two upper holes of the bracket. Leave a gap of 5mm between the screw head and the bracket (Fig.5).

- Place the unit on the wall, and align the two key holes with the two screws in the bracket.
- Use two of the provided M4 screws to screw in the lower two holes of the base into the bracket to secure the unit firmly against the bracket.
- Tighten the two upper screws through the base of the upper hole. The appliance is now ready for use.
Operation
Control Panel
- Insert the plug into the socket and press the ON/OFF button. The light above this button will turn red, as an indication that the unit is on. Automatically, the unit will start to rotate on the first speed setting, and the first blue light above the SPEED button will turn on.
- To change speeds, click the SPEED button. There are 3 speed settings, being low, medium and high. The blue lights above this button will indicate what setting the fan is currently on.
- Press the OSCILLATION button to make the fan head oscillate. This fan can oscillate up to 75°. The blue light above this button will indicate that the oscillation feature is turned on.
- Press the TIMER button to set your desired fan operation time between 1-7 hours. To know what time you have set, refer to the blue lights above this button. For 1 our, only the first blue light will turn on. For 2 hours, only the second blue light will turn on. For 3 hours, the first and secind blue light will be on at the same time. For 4 hours, only the fourth bliue light will turn on. For 5 or 6 hours, the first and the third blue lights will be on at the same time. For 7 hours, the first, second and third blue lights will all be on.

Remote Control
You can also use the Remote Control to operate the unit. Refer to diagram below and instructions above.

Cleaning
Over time, dust can accumulate on the rear grille cover and fan blades, which can affect the fans performance. It is recommended to clean the fan at least once a month.
- Turn the unit OFF and disconnect the appliance from the power supply.
- Remove any dust build up with a soft brush.
- Wipe the surface of the unit with a soft damp cloth. Mild detergent can be used for any stubborn marks.
Do not use abrasive sponges, scouring pads, or a stiff brush to clean the fan.
IMPORTANT
The control panel and other parts must not come into contact with water or any other liquids.
Storage
If not using the unit for an extended period of time. After cleaning please:
- Turn the unit off, unplug and take care of the mains lead & plug.
- Cover the unit and store it upright in a location where it will not receive direct sunlight. NB- Prolonged exposure to direct sunlight will discolour the enclosure.
Maintenance
If the unit fails to operate efficiently, is broken or other problems arise, unplug and do not operate. Ask for advice by calling your local after sales service agent or the Customer Care Centre on 1300 556 816 (AU) / 0800 666 2824 (NZ).
Warranty
Please refer to the warranty card in the box for warranty information. For any troubleshooting advice, please contact the relative Customer Care Centre below.
Glen Dimplex Australia Pty Ltd 1340 Ferntree Gully Road,
Scoresby 3179, Victoria
Australia Ph: 1300 556 816
Glen Dimplex New Zealand Ltd
38 Harris Road, East Tamaki,
Auckland 2013
New Zealand
Ph: 0800 666 2824
Recycling: Do not dispose of electrical appliances as unsorted municipal waste. Use separate collection facilities. Contact your local government for information regarding the collection systems available. If electrical appliances are disposed of in landfills or dumps, hazardous substances can leak into the ground water, polluting the food chain and damaging health and well-being.
Customer Care: 1300 556 816
[email protected]
www.dimplex.com.au
Supplied by Glen Dimplex Australia
1340 Ferntree Gully Road, Scoresby, Victoria, 3179
© Glen Dimplex Australia.
All rights reserved. Material contained in this publication may not be reproduced in whole or in part,
without prior permission in writing of Glen Dimplex Australia.
DCWF50A v1



















