KICHLER 34686A 5-Light Chandelier

Product Information
Product Name: 5-LIGHT CHANDELIER
Model Numbers: 34686A, 34750A
Item Numbers: 0616008, 0670121
Manufacturer: Kichler
Customer Service Contact: 1-800-554-6504
Website: kichler.com/customer-care/contact-us
Package Contents
- Canopy – Quantity: 1
- Mounting Bracket – Quantity: 1
- Threaded Nipple – Quantity: 1
- Hex Nut (preassembled to Threaded Nipple) – Quantity: 3
- Socket (preassembled to Arm) – Quantity: 5
- Coupling – Quantity: 1
- Shade – Quantity: 5
- Screw Collar Ring (preassembled to Threaded Nipple) – Quantity: 1
- Screw Collar Loop (preassembled to Threaded Nipple) – Quantity: 1
- Spacer – Quantity: 5
- Chain – Quantity: 1
- Fixture Loop – Quantity: 1
- Socket Ring (preassembled to Socket) – Quantity: 5
- Threaded Pipe – Quantity: 1
- Arm – Quantity: 5
- Threaded Chain Link – Quantity: 2

| PART | DESCRIPTION | QUANTITY |
| A | Canopy | 1 |
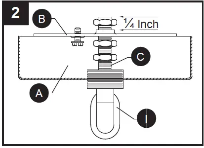
| B | Mounting Bracket | 1 |
| C | Threaded Nipple | 1 |
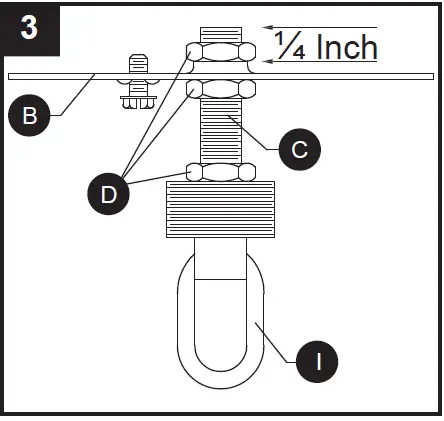
| D | Hex Nut (preassembled to Threaded Nipple (C)) | 3 |
| E | Socket (preassembled to Arm (O)) | 5 |
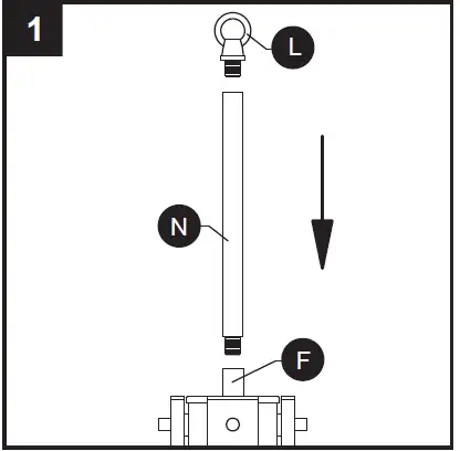
| F | Coupling | 1 |
| G | Shade | 5 |
| H | Screw Collar Ring (preassembled to Threaded Nipple (C)) | 1 |
| I | Screw Collar Loop (preassembled to Threaded Nipple (C)) | 1 |
| J | Spacer | 5 |
| K | Chain | 1 |
| L | Fixture Loop | 1 |
| M | Socket Ring (preassembled to socket (E)) | 5 |
| N | Threaded Pipe | 1 |
| O | Arm | 5 |
| P | Threaded Chain Link | 2 |
Hardware Contents
- Wire Connector – Quantity: 3
- Short Machine Screw – Quantity: 2


Safety Information
Please read and understand this entire manual before attempting to assemble, operate, or install the product. This product contains chemicals, including lead, which is known to the State of California to cause cancer, birth defects, or other reproductive harm. For more information, visit www.P65Warnings.ca.gov. Do not leave out any parts or use any worn out or broken parts as it may invalidate ETL listing and/or C.S.A. certification of this fixture.
WARNING
- CAUTION – RISK OF SHOCK –
Disconnect Power at the main circuit breaker panel or main fusebox before starting and during the installation. - WARNING:
This fixture is intended for installation in accordance with the National Electrical Code (NEC) and all local code specifications. If you are not familiar with code requirements, installation by a certified electrician is recommended. - Do not use bulbs with wattage greater than specified on this fixture.
- California Proposition 65
WARNING: This product can expose you to chemicals including lead, which is known to the State of California to cause cancer, birth defects, or other reproductive harm.
For more information, go to http://www.P65Warnings.ca.gov
CAUTION
- If you have any doubts about how to install this lighting fixture, or if the fixture fails to operate completely, please contact a licensed electrical contractor.
- All parts must be used as indicated in these instructions. Do not substitute any parts, leave parts out, or use any parts that are worn out or broken. Failure to obey this instruction could invalidate ETL listing and/or C.S.A. certification of this fixture.
Product Usage Instructions
Preparation
- Before starting the assembly, ensure that all parts are present.
- Compare the parts with the package contents list and hardware contents list.
- If any part is missing or damaged, do not proceed with the assembly.
- Estimated assembly time: 30 minutes to 1 hour.
- Tools Required (not included): Phillips screwdriver, flathead screwdriver, wire strippers, electrical tape, ladder, safety glasses.
Before beginning assembly of product, make sure all parts are present. Compare parts with package contents list and hardware contents list. If any part is missing or damaged, do not attempt to assemble the product.
Estimated assembly time: 30 minutes to 1 hour
Tools Required for Assembly (not included): Phillips screwdriver, flathead screwdriver, wire strippers, electrical tape, ladder, safety glasses.
Assembly Instructions
- Screw the fixture loop onto the threaded pipe before attaching it to the coupling.

- Position the threaded nipple in the mounting bracket so that it aligns properly when mounted.
- The threaded nipple (C) will protrude a minimum of ¼ inch beyond the raised center portion of the bracket (B).
- The threaded nipple (C) height should be positioned so that ½ the exterior threads of the screw collar loop (I) will extend past the canopy (A), when it is mounted.

- Secure the threaded nipple and bracket with 3 hex nuts. Once the proper position of the threaded nipple (C) and bracket (B) has been determined, secure with 3 hex nuts (D) as follows:
- Screw 1st hex nut (D) onto the threaded nipple (C) and tighten against the raised portion of the bracket (B).
- Screw 2nd hex nut (D) onto the threaded nipple (C) and tighten against the flat portion of the mounting bracket (B).
- Screw the third hex nut (D) onto threaded nipple (C) and tighten against the screw collar loop (I).

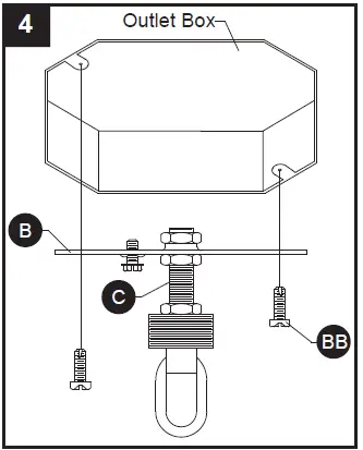
- Connect the mounting bracket to the outlet box using short machine screws.
Hardware used
- Attach one end of the chain to the screw collar loop and the other end to the fixture loop using the threaded chain links. Using the threaded chain links (P) on chain (K), attach one end to screw collar loop (I) and the other end to fixture loop (L). Weave the fixture electrical and ground wires through every other chain link and pass through threaded nipple (C) into outlet box. Lower the screw collar ring (H) and canopy (A) over the chain (K).

- Weave the fixture’s electrical and ground wires through every other chain link and pass them through the threaded nipple into the outlet box.
Wire connection guide:
Ground wire:- For installation in the United States: Wrap ground wire from outlet box around ground screw on mounting bracket (B) no less than 2 in. from wire end. Tighten ground screw. If fixture is supplied with a ground wire, connect to outlet ground wire with a wire connector (AA).
- For installation in Canada: If fixture is supplied with ground wire, wrap ground wire around ground screw on mounting bracket (B). Tighten ground screw. Connect fixture ground wire to outlet ground wire with a wire connector (AA).
Supply wires: - Connect the Neutral (White) supply wire from the outlet box to the Neutral fixture wire (White or Parallel Cord “D” shaped and ribbed).
- Connect the Hot (Black) supply wire from the outlet box to the Hot fixture wire (Black or Parallel Cord round and smooth).
NOTE:
Fixture wires will either be: - Black and White.
- Parallel Cord SPT-1 lamp wire with one round smooth wire and one “D” shaped ribbed wire.
Hardware Used
- Lower the screw collar ring and canopy over the chain. Pass canopy (A) over the screw collar loop (I). Attach screw collar ring (H) to screw collar loop (I) to secure canopy (A).

- Connect the supply wires (black, white, and bare copper/green ground) to the fixture wires using wire connectors. Lower shade (G) over socket (E). Next screw spacer (J) then socket ring (M) onto socket (E). Repeat for remaining sockets (E).

- Pass the canopy over the screw collar loop and attach the screw collar ring to it .Insert 60-watt max. medium base bulb or LED equivalent (not included) into socket (E). Repeat for remaining sockets (E).

For any questions, problems, or missing parts, contact the customer service department at the provided phone number or visit the manufacturer’s website for assistance.
CARE AND MAINTENANCE
- Always be certain that electric current is turned off before cleaning this item.
- Use a soft, moist cloth with mild non-abrasive soap to clean fixture. Never use glass cleaner on fixture, as it will damage the metal finish.
- All glass shades may be washed in a towel-lined sink with warm water and mild soap. Do not wash shades in an automatic dishwasher.
TROUBLESHOOTING
| PROBLEM | POSSIBLE CAUSE | CORRECTIVE ACTION |
| Fixture does not light. |
|
|
Distributed by: Kichler Lighting LLC 30455 Solon Rd Solon, OH 44139 Printed in India









