Kichler 82404 Edinborough 5-Light Linear Chandelier

Questions, problems, missing parts? Before returning to your retailer, call our customer service department at 800-554-6504, 8 a.m. – 4:30 p.m, EST, Monday – Friday. kichler.com/customer-care/contact-us
PACKAGE CONTENTS

| PART DESCRIPTION QTY. | ||
| A | Canopy | 1 |
| B | Mounting Bracket | 1 |
| C | Canopy Loop (preassembled) | 2 |
| D | Chain Link | 2 |
| E | Socket | 5 |
| F | Stem Loop | 2 |
| PART DESCRIPTION QTY. | ||
| G | 12” (305 mm) Threaded Pipe | 4 |
| H | 6” (152 mm) Threaded Pipe | 4 |
| I | Fixture Threads | 2 |
| J | Glass Shade | 5 |
| K | Socket Ring | 5 |
HARDWARE CONTENTS

SAFETY INFORMATION
Please read and understand this entire manual before attempting to assemble, operate or install the product.
WARNING
- CAUTION – RISK OF SHOCK –
Disconnect Power at the main circuit breaker panel or main fusebox before starting and during the installation. - WARNING:
This fixture is intended for installation in accordance with the National Electrical Code (NEC) and all local code specifications. If you are not familiar with code requirements, installation by a certified electrician is recommended. - Do not use bulbs with wattage greater than specified on this fixture.
- California Proposition 65
WARNING: This product can expose you to chemicals including lead, which is known to the State of California to cause cancer, birth defects, or other reproductive harm.
For more information, go to http://www.P65Warnings.ca.gov
CAUTION
- If you have any doubts about how to install this lighting fixture, or if the fixture fails to operate completely, please contact a licensed electrical contractor.
- All parts must be used as indicated in these instructions. Do not substitute any parts, leave parts out, or use any parts that are worn out or broken. Failure to obey this instruction could invalidate ETL listing and/or C.S.A. certification of this fixture.
PREPARATION
Before beginning assembly of product, make sure all parts are present. Compare parts with package contents list and hardware contents list. If any part is missing or damaged, do not attempt to assemble the product.
Estimated assembly time: 30 minutes to 1 hour
Tools Required for Assembly (not included): Phillips screwdriver, flathead screwdriver, wire strippers, electrical tape, ladder, safety glasses, pliers (2).
ASSEMBLY INSTRUCTIONS
- On one side of fixture, screw either a 6 inch (152 mm) threaded pipe (H) or 12 inch (305 mm) threaded pipe (G) onto fixture threads (I). Next, screw a 6 inch (152 mm) threaded pipe (H) or 12 inch (305 mm) threaded pipe (G) into the first threaded pipe screwed onto fixture threads.
- NOTE: The hanging height of this fixture is adjustable. Add or subtract threaded pipes to achieve desired fixture hanging height.
- NOTE: The fixture electrical wires will need to be pulled through the individual parts as they are installed in this and later steps.

- After desired hanging height is determined and appropriate number of threaded pipes are connected on one side of fixture, repeat with the same combination of threaded pipes on opposite side of fixture.

- Screw stem loops (F) into ends of connected threaded pipes

- Connect canopy loops (C) to stem loops (F) using open chain links (D).
CAUTION: To avoid damage from falling, make sure open chain links are fully closed once assembled.
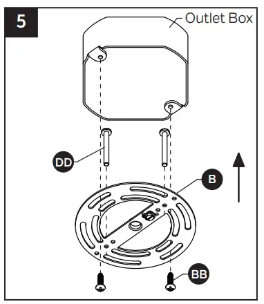
- Orient the mounting bracket (B) so the raised center portion protrudes into the outlet box (not included). Insert long machine screws (DD) through mounting bracket (B) so the long machine screws (DD) protrude downward. Connect the mounting bracket (B) to the outlet box with short machine screws (BB).

Hardware Used
- Wire connection guide:
- Ground wire:
- For installation in the United States: Wrap ground wire from outlet box around ground screw on mounting bracket (B) no less than 2 in. from wire end. Tighten ground screw. If fixture is supplied with a ground wire, connect to outlet ground wire with a wire connector (AA).
- For installation in Canada: If fixture is supplied with ground wire, wrap ground wire around ground screw on mounting bracket (B). Tighten ground screw. Connect fixture ground wire to outlet ground wire with a wire connector (AA).
- Supply wires:
- Connect the Neutral (White) supply wire from the outlet box to the Neutral fixture wire (White or Parallel Cord “D” shaped and ribbed).
- Connect the Hot (Black) supply wire from the outlet box to the Hot fixture wire (Black or Parallel Cord round and smooth).
NOTE:
Fixture wires will either be: - Black and White.
- Parallel Cord SPT-1 lamp wire with one round smooth wire and one “D” shaped ribbed wire.

Hardware Used
- Ground wire:
- a. Pass canopy (A) over the long machine screws (DD) protruding from mounting bracket (B) then secure in place with lock washers (EE) and threaded knobs (CC).
NOTE: The bottom edge of an outlet box should be flush with the bottom surface of a ceiling. However, many boxes are recessed into the ceiling. The long machine screws (DD) are designed to have extra length to accommodate to various box depths.
NOTE: Make sure all wires are inside of canopy (A) and do not get pinched between canopy (A) and mounting bracket (B), or canopy (A) and ceiling.- b.The long machine screws (DD) may, at first, protrude too far past the surface of the canopy (A).
- Screw the threaded knobs (CC) onto the long machine screws (DD). The screws will back thread into the mounting bracket (B) until the canopy (A) is tight against the ceiling.

Hardware Used
- a. Unscrew (turn counterclockwise) preinstalled socket ring (K) from socket (E) and retain.
b. Carefully raise glass shade (J) up to socket (E), passing small hole in glass shade (J) over socket (E) until the raised top portion of glass shade (J) is seated in socket base cup. While holding glass shade (J) in place, thread socket ring (K) onto socket (E) and tighten to secure glass shade (J) in place. DO NOT OVERTIGHTEN. Repeat for remaining sockets (E)
- Insert 60-watt max. medium base bulb or LED equivalent (not included) into socket (E). Repeat for remaining sockets (E).

CARE AND MAINTENANCE
- Always be certain that electric current is turned o before cleaning this item.
- Use a soft, moist cloth with mild non-abrasive soap to clean fixture. Never use glass cleaner on fixture, as it will damage the metal finish.
- All glass shades may be washed in a towel-lined sink with warm water and mild soap. Do not wash shades in an automatic dishwasher.
TROUBLESHOOTING
| PROBLEM | POSSIBLE CAUSE | CORRECTIVE ACTION |
| Fixture does not light. | 1. Fixture may be wired incorrectly. 2. Worn or broken bulb. | 1. Check wiring. 2. Replace bulb. |
ABOUT COMPANY
- Distributed by:
- Kichler Lighting LLC
- 30455 Solon Rd
- Solon, OH 44139
- Printed in China



























