HAMPTON BAY HD4969A Regan 4 Light Linear Chandelier

Product Information
Hampton Bay Regan 4-Light Linear Chandelier
The Hampton Bay Regan 4-Light Linear Chandelier comes in five different models with item numbers 1006 322 810, 1006 323 359, 1006 323 360, 1006 323 430, and 1008 422 894. The models are identified as HD4969A, HD4969A1, HD4969A2, HD4969A3, and HD4969A4 respectively. The chandelier is designed to enhance the look of your home and is a quality product from Hampton Bay.
Product Usage Instructions
Before attempting to assemble, install, or operate the product, read the instructions provided in the manual carefully. Failure to do so could lead to electrical shock, fire, or other injuries that could be hazardous or even fatal. Here are some usage instructions:
Safety Information
- Before starting installation or removing a previous fixture, disconnect the power by turning off the circuit breaker, removing the fuse at the fuse box, or tripping the breaker that controls that circuit.
- Use a voltage tester to make sure the wire is not live before touching it.
- When replacing fuses, turn off the main power first. Make sure your hands and feet are dry and place one hand behind your back to prevent electricity from making a complete circuit through your chest.
- Use tools with insulated handles and ladders made of wood or fiberglass.
- To protect children, place a safety cover over any unused outlets.
- If you have any electrical questions, consult a qualified electrician.
Pre-Installation
- Inspect the wire insulation for any cuts, abrasions, or exposed copper that may have occurred during shipping. If there is a defect in the wire, do not attempt installation. Please call the Customer Service Team at 1-855-HD-HAMPTON.
- Read all the instructions before installing. To avoid damaging this product, place it on a soft, non-abrasive surface, such as carpet or cardboard.
If you have any non-electrical questions about this fixture, please call the Hampton Bay Customer Service Team at 1-855-HD-HAMPTON or visit their website at www.HAMPTONBAY.com. Please reference the model and item numbers. The product comes with a three-year warranty which covers manufacturing defects.
THANK YOU
We appreciate the trust and confidence you have placed in Hampton Bay through the purchase of this linear chandelier. We strive to continually create quality products designed to enhance your home. Visit us online to see our full line of products available for your home improvement needs. Thank you for choosing Hampton Bay!
Safety Information
READ AND SAVE THESE INSTRUCTIONS
- For your protection and safety, carefully read and understand the information provided in this manual completely before attempting to assemble, install, or operate this product. Failure to do so could lead to electrical shock, fire, or other injuries that could be hazardous or even fatal.
- Before touching any wire, use a voltage tester to make sure it is not live.
- When replacing fuses, turn off the main power first. Make sure your hands and feet are dry, and place one hand behind your back to prevent electricity from making a complete circuit through your chest. Touch the plug fuse only by its insulated rim. Remove the cartridge fuses with a fuse puller.
- Use tools with insulated handles and ladders made of wood or fiberglass.
- To protect children, place a safety cover over any unused outlets.
DANGER: Before starting installation of this fixture or removal of a previous fixture, disconnect the power by turning off the circuit breaker, removing the fuse at the fuse box, or tripping the breaker that controls that circuit. Tape a sign to the panel warning others to leave the circuit alone while you work.
CAUTION: CONSULT A QUALIFIED ELECTRICIAN IF YOU HAVE ANY ELECTRICAL QUESTIONS. If you have any non-electrical questions about this fixture, please call our Customer Service Team at 1-855-HD-HAMPTON or visit HAMPTONBAY.COM. Please reference the model and item numbers.
Warranty
THREE (3) YEAR WARRANTY
WHAT IS COVERED
The manufacturer warrants this fixture to be free from defects in materials and workmanship for a period of three (3) years from date of purchase. This warranty applies only to the original consumer purchaser and only to products used in normal use and service. If this product is found to be defective, the manufacturer’s only obligation and your exclusive remedy, is the repair or replacement of the product at the manufacturer’s discretion, provided that the product has not been damaged through misuse, abuse, accident, modifications, alteration, neglect, or mishandling. This warranty shall not apply to any product that is found to have been improperly installed, set-up, or used in any way not in accordance with the instructions supplied with the product. This warranty shall not apply to a failure of the product as a result of an accident, misuse, abuse, negligence, alteration, faulty installation, or any other failure not relating to faulty material or workmanship. This warranty shall not apply to the finish on any portion of the product, such as surface and/or weathering, as this is considered normal wear and tear.
WHAT IS NOT COVERED
The manufacturer does not warrant and specifically disclaims any warranty, whether expressed or implied, of fitness for a particular purpose, other than the warranty contained herein. The manufacturer specifically disclaims any liability and shall not be liable for any consequential or incidental loss or damage, including but not limited to any labor/expense costs involved in the replacement or repair of said product.
Pre-Installation
PLANNING INSTALLATION
- Read all the instructions before installing.
- To avoid damaging this product, place it on a soft, non-abrasive surface, such as carpet or cardboard.
IMPORTANT: Inspect the wire insulation for any cuts, abrasions, or exposed copper that may have occurred during shipping. If there is a defect in the wire, do not attempt installation. Please call the Customer Service Team at 1-855-HD-HAMPTON.
NOTE: This product requires (4) 60W maximum medium base (E26) type “S” or 8W maximum medium base (E26) self-ballasted LED vintage Edison bulbs (sold separately).
TOOLS RECOMMENDED (NOT INCLUDED)

HARDWARE INCLUDED

| Part | Description | Quantity |
| AA | Crossbar assembly | 1 |
| BB | Outlet box screw | 2 |
| CC | Wire connector | 3 |
NOTE: Hardware is not shown to actual size.
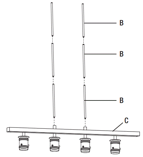
PACKAGE CONTENTS

| Part | Description | Quantity |
| A | Ceiling canopy | 1 |
| B | 12 in. Rod | 6 |
| C | Fixture body | 1 |
| D | Shade | 4 |
| E | Lock screw + 2 replacements | 12+2 |
Installation
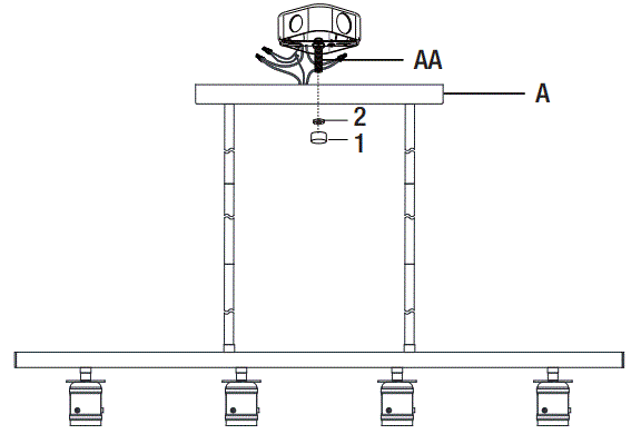
Installing the crossbar assembly

- Secure the crossbar assembly (AA) to the outlet box (not included) with the outlet box screws (BB). Tighten until snug.
NOTE: The preassembled mounting nipple on the crossbar should protrude outward.
Test fitting the ceiling canopy to the crossbar assembly

- Remove the lock ball (1) and the hex nut (2) from the crossbar assembly (AA).
- Fit the ceiling canopy (A) over the nipple on the crossbar assembly (AA) and secure with the lock ball (1).
- If this does not work, adjust the length of the nipple on the crossbar assembly (AA) by unscrewing the preassembled hex nut (3).
- Then, screw the nipple in or out of the crossbar assembly (AA) until the desired length is achieved.
- Once the ceiling canopy (A) is secure, remove the lock ball (1) and ceiling canopy (A) and proceed to Step 3.
NOTE: The ceiling canopy should be snug against the ceiling and the lock ball (1).
Installing the rods

- Choose the desired hanging length for the light fixture.
- Assemble the 12 in. rods (B) to the desired length.
- Pass the supply wires and the ground wires through the rod assembly.
- Attach the rod assembly to the fixture, and hand-tighten until snug.
Hint
- Assemble one rod at a time.
- Pass the ground wire through the rod first.
- Then, pass the supply wire through the rod.
- Thread the rod by hand until snug.
Suggested rod length to hang the fixture 30 inches above table top:
- 8 ft. ceiling (4) 12 inch rods
- 9 ft. ceiling (6) 12 inch rods
Installing the ceiling canopy


- Remove the nipple (1), the flat washer (2), the lock washer (3) and the nut (4) from the ceiling canopy (A).
- Then, thread the nipple (1) to the uppermost rod (B). Handtighten until snug.
- Place the ceiling canopy (A), the flat washer (2) and the lock washer (3) over the nipple (1).
- Secure with the previously removed nut (4). Hand-tighten until snug.
Making the electrical connections
Use wire connectors (CC) to connect the wires.

- Ground Wire:
- Wrap the supply ground wire around the green ground screw on the crossbar assembly (AA), no less than 2 in. from the end of the wire. Tighten the ground screw.
- Connect the fixture ground wire and the canopy ground wire to the supply ground wire with a wire connector (CC).
- Supply Wire:
- Connect the supply white wire to the white fixture supply wire with a wire connector (CC).
- Connect the supply black (or red) wire to the black fixture supply wire with a wire connector (CC).
- Wrap each connection with approved electrical tape and carefully insert all of the connected wires into the outlet box.
Installing the fixture body to the outlet box

- Re-attach the ceiling canopy (A) to the crossbar assembly (AA).
- Secure with the previously removed hex nut (2).
- Then, attach the lock ball (1) over the ceiling canopy (A).
Installing the shade

- Align the holes on the shade (D) to the threaded holes on the socket.
- Secure the shade (D) by threading the lock screws (E) onto the threaded holes. Hand-tighten until snug.
Installing the light bulb

- Install the correct bulbs (not included) referring to the fixture markings and/or labels for maximum wattage.
NOTE: Use (4) 60W maximum medium base (E26) type “S” or 8W maximum medium base (E26) self-ballasted LED vintage Edison bulbs (sold separately).
Care and Cleaning
- Do not use any cleaners with chemicals, solvents, or harsh abrasives. Use only a dry, soft cloth to dust or wipe carefully.
- To clean the fixture, disconnect the power by turning off the circuit breaker or by removing the fuse at the fuse box, and use a dry or slightly dampened, clean cloth to wipe the exterior surface of the fixture.
Troubleshooting
| Problem | Possible Cause | Solution |
| The lights will not turn on. | The bulb is burned out. | Replace the light bulb. |
| The power is off. | Ensure the power supply is turned on. | |
| There is a faulty switch. | Test or replace the switch. | |
| There is a faulty wire connection. | Check the wiring. | |
| The fuse blows, or the circuit breaker trips, when the light is turned on. | There are crossed wires, or the power wire is grounding out. | Discontinue use of the lamp. Check the wire connections. Contact a qualified electrician or call the Customer Care Service Team at 1-855-HD-HAMPTON. |
Service Parts
MODEL: HD4969A / HD4969A1 / HD4969A2 / HD4969A3 / HD4969A4

| Part | Description |
| AA | Crossbar assembly |
| BB | Outlet box screw |
| CC | Wire connector |
| Part | Description |
| A | Ceiling canopy |
| B | 12 in. Rod |
| C | Fixture body |
| D | Shade |
| E | Lock screw |
CONTACT
Questions, problems, missing parts?
- Before returning to the store, call Hampton Bay Customer Service
- 8 a.m. – 7 p.m., EST, Monday – Friday, 9 a.m. – 6 p.m., EST, Saturday
- 1-855-HD-HAMPTON
- HAMPTONBAY.COM
Retain this manual for future use.

















