Item No: 45046 / 454048
Assembly Instructions
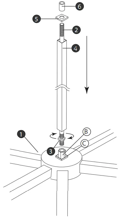
DRAWING 1 – ASSEMBLY

start here
- Find a clear area in which you can work.
- Unpack fixture and glass from carton.
- Carefully review instructions prior to assembly.
1. To begin assembly, take the center stem (2) and slip it along the wire and thread it into coupler (B) approximately 3/8″ – see Drawing 1
2. Next take hex nut (3) and tighten if up against coupler (B) to secure center stem (2).
3. Next slide decorative tube (4) over center stem (2), making sure the end of the tube rest inside check ring (C).
4. Now slip top cap (5) along wire and onto top of the decorative tube (4).
5. To complete body assembly slip decorative coupler (6) along wire and thread onto exposed end of center stem (2), and tighten. The assembly of the fixture body is complete.
6. Now follow instruction sheet (IS-19-81) provided to complete installa-tion of your fixture.
7. After fixture is installed return to this page for instructions on installing the shade and lens.
SAFETY WARNING: READ WIRING AND GROUNDING INSTRUC-TIONS (LS. 18) AND ANY ADDITIONAL DIRECTIONS. TURN POWER SUPPLY OFF DURING INSTALLATION. IF NEW WIRING IS REQUIRED, CONSULT A QUALIFIED ELECTRICIAN OR LOCAL AUTHORITIES FOR CODE REQUIRE-MENTS.
Mounting Instructions
Drawing 1 – Fixture Assembly

- Find a clear area in which you can work.
- Unpack fixture and glass from carton.
- Carefully review instructions prior to assembly.
Drawing 2 – Fixture Mounting

Safety Warning: read wiring and grounding instructions (I.S. 18) and any additional directions, Turn power supply off during installation. If new wiring is required, consult a qualified electri-cian or local authorities for code requirements.
1. Shut off electrical current before starting. If the fixture you are replacing is turned on and off by a wall switch, simply turn the switch off. If not, remove the appropriate fuse (or open the circuit breakers) until the fixture is dead.
• DO NOT restore current – either by fuse, breaker or switch -until the new fixture is completely wired in place.
- Determine the desired height the chandelier will be installed at.
- The fixture is supplied with a variety of stem lengths. Determine what combination of stems are needed to achieve desired length – see Drawing 1.
- Slip stems over wire and thread first stem onto top of chande-lier. Repeat this process until all required stems are threaded together.
- Slip wire through center of canopy swivel and thread onto stem assembly.
1. Thread two long 8-32 (1) screws provided into the mounting strap (2).
• NOTE: the tow screws should be threaded into the gull wind shaped part of the mounting strap with the flat part of the strap facing up.
• Make sure screws are threaded into holes that line up with holes in the canopy (3) – see Drawing 2.
2. Attach mount strap (2) to junction box with two short 8-32 screws (5) provided.
3 Now with assistance take the assembled fixture and lift it up and using hook on end of inspection cable (I), attached to the inside of canopy (C), hook it into the mounting strap. Now slowly release the fixture until it is safely hanging from the inspcetion cable – see DETAIL .
NOTE: It is still recommend that an assistant be used to support fixture during this process.
4. Make wire connections following the instructions on I.S.18 instruction sheet provided.
5. Slip canopy/fixture over screws (1) and secure fixture with ball

I.S. 18 wiring grounding instructions
SAFETY WARNING: READ WIRING AND GROUNDING INSTRUCTIONS (IS 18) AND ANY ADDITIONAL DIRECTIONS. TURN POWER SUPPLY OFF DURING INSTALLATION. IF NEW WIRING IS REQUIRED, CONSULT A QUALIFIED ELECTRICIAN OR LOCAL AUTHORITIES FOR CODE REQUIREMENTS
wiring instructions
Indoor Fixtures
- Connect positive supply wire (A) (typically black or the smooth, unmarked side of the two-conductor cord) to positive fixture lead (B) with appropriately sized twist on connector – see Drawings 1 or 2.
Drawing 1 – Flush Mount
Drawing 2 – Chain Hung

- Connect negative supply wire (C) (typically white or the ribbed, marked side of the two-conductor cord) to negative fixture lead (D).
- Please refer to the grounding instructions below to complete all electrical connections
Outdoor Fixtures
- Connect positive supply wire (A) (typically black or the smooth unmarked side of the two-conductor cord) to positive fixture lead (B) with appropriately sized twist on connector — – see Drawings 2 or 3.
- Connect negative supply wire (C) (typically white or the ribbed, marked side of the two-conductor cord) to negative fixture lead (D).
- Cover open end of connectors with silicone sealant to form a watertight seal.
If installing a wall mount fixture, use caulk to seal gaps between the fixture mounting plate (backplate) and the wall. This will help prevent water from entering the outlet box. If the wall surface is lap siding, use caulk and a fixture mounting platform specially. - Please refer to the grounding instructions below to complete all electrical connections.
grounding instructions
Flush Mount Fixtures
For positive grounding in a 3-wire electrical system, fasten the fixture ground wire (E ) (typically copper or green plastic coated) to the fixture mounting strap (M) with the ground screw (S ) – see Drawing 1. Note: On straps for screw supported fixtures, first install the two mounting screws in strap. Any remaining tapped hole may be used for the ground screw.
Chain Hung Fixtures
Loop fixture ground wire (E) (typically copper or green plastic coated) under the head of the ground screw (S) on fixture mounting strap (M) and connect to the loose end of the fixture ground wire directly to the ground wire of the building system with appropriately sized twist-on connectors – see Drawing 2.
Post-Mount Fixtures
Connect fixture ground wire (E) (typically copper or green plastic coated) to power supply ground with appropriately sized twist-on connector inside post. Cover open end of connector with silicone sealant to form a watertight seal – see Drawing 3.
Drawing 3 – Post-Mount

HINKLEY 33000 Pin Oak Parkway , Avon Lake, OH 44012 800.446.5539 / 440.653.5500 hinkley.com















