FR30908, FR30909 Revel Linear Chandelier
Instruction Manual
Start here
- Find a clear area in which you can work.
- Unpack fixture and glass from carton.
- Carefully review instructions prior to assembly.
![]() | ![]() |
STEP 1
- To begin assembly it is necessary to attach the stem with loop (1) to the main body (2). On the wire side slip stem along wire and thread onto tubing (3) – see Drawing
- To begin installation of your fixture first it will be necesary to determine the amount of chain that will be required to hang your fixture at the desired height.
- After this has been determined attach on end of the chain to the fixture loop (A) and the other end to Loop (B) on the canopy (2) – see Drawing 2.
- Next weave the wire from the fixture through the chain to the caonpy.
- After wire has been woven through the chain slip end through center hole of loop in canopy.
- Fixture is ready to install.
- Remove mounting plate (1) from canopy (2) by removing the 4 screws (3) on the side. Place screws in a safe place for use later – see DRAWING 4.
- Next attach mounting plate (1) to the junction box using two 1”- 8/32 screws NOT PROVIDED, see DRAWING 3.
- THIS IS STEP IS OPTIONAL. It is recommended that additonal support be added by using screws (S) at the ends of the mounting plate – see DRAWING 4.
NOTE: use hardware appropriate for the material you will be anchoring too. - Attach safety cable to junction box refer to IS-SCC
- Now make all necessary electrical connections following instruction sheet (FRIS18) provided
- After all connections are made tuck wires into junction box and lift canopy (2) with the fixture up to the mounting plate (1). Align holes in side of mounting plate with holes in side of canopy, and thread in screws to secure fixture to ceiling.
- After fixture is hung the crystals can be installed
Assembly Instructions

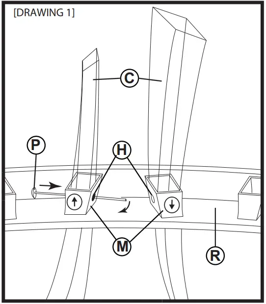
STEP 1
- After fixture is installed the crystals (C) can be installed. To accomplish this, start at the marked arrows located on the inside of the ring (R) – see Drawing 2.
- At the up arrow slip the small end of the crystal (C) up through the bottom of the ring – see Drawing 2. Align holes in crystals with the holes (H) in the mounting bracket (M). Then slide in brass wire pin (P) through the holes. After pin is through, bend over the end to keep pin in place. The next crystal is installed in the same fashion only the small end is slip through the top of the bracket. Continue alternating crystals until installation is complete.
Safety Cable Installation

WARNING: TO AVOID ELECTRICAL SHOCK, THIS SECTION OF THE INSTRUCTION SHEET IS FOR THE SOLE PURPOSE OF SAFETY CABLE INSTALLATION, AND IS NOT TO BE USED TO MAKE ANY ELECTRICAL CONNECTIONS.
The safety cable must be attached to a ceiling joist or other permanent structure independent of the junction box.
- using a 3/16″ dia. drill, drill a pilot hole (1). It must be drilled into the permanent structure or through the junction box on the joist side were the safety cable will be attached – see Drawing 1.
- Insert and thread a 1/4″ hex head lag screw (2) (not included) into pilot hole.
- Continue installation of this xture according to IS19-50 provided.
- After length of safety cable is determined, allow enough extra cable so it can be wrapped around lag screw. Thread lag screw to secure safety cable.
Make electrical connections from supply wire to fixture lead wires.
Refer to instruction sheet (I.S. 18) and follow all instructions to make all necessary wiring connections. Then refer back to this sheet to continue installatio of this fixture.
FRIS18
WIRING AND GROUNDING INSTRUCTIONS
Safety Warning:
Read wiring and grounding instructions [FRIS 18] and any additional directions. Turn power supply off during installation. If new wiring is required, consult a qualified electrician or local authorities for code requirements.
WIRING INSTRUCTIONS
Indoor Fixtures
- Connect positive supply wire (A) (typically black or the smooth, unmarked side of the two-conductor cord) to positive fixture lead (B) with appropriately sized twist on connector – See Drawing 1 or 2.
- Connect negative supply wire (C) (typically white or the ribbed, marked side of the two-conductor cord) to negative fixture lead (D)
- Please refer to the grounding instructions below to complete all electrical connections.
Outdoor Fixtures
- Connect positive supply wire (A) (typically black or the smooth, unmarked side of the two-conductor cord) to positive fixture lead (B) with appropriately sized twist on connector – See Drawing 1 or 2.
- Connect negative supply wire (C) (typically white or the ribbed, marked side of the two-conductor cord) to negative fixture lead (D)
- Cover open end of connectors with silicone sealant to form a watertight seal. • If installing a wall mount fixture, use caulk to seal gaps between the fixture mounting plate (backplate) and the wall. This will help prevent water from entering the outlet box. If the wall surface is lap siding, use caulk and a fixture mounting platform specially.
- Please refer to the grounding instructions below to complete all electrical connections.

GROUNDING INSTRUCTIONS
Flush Mount Fixtures
For positive grounding in a 3-wire electrical system, fasten the fixture ground wire (E) (typically copper or green plastic coated) to the fixture mounting strap (1) with the ground screw (2) – See Drawing 1.
Note: On straps for screw supported fixtures, first install the two mounting screws in strap.
Any remaining tapped hole may be used for the ground screw.
Chain Hung Fixtures
Loop fixture ground wire (E) (typically copper or green plastic coated) under the head of the ground screw (2) on fixture mounting strap (1) and connect to the loose end of the fixture ground wire directly to the ground wire of the building system with appropriately sized twist-on connectors – See Drawing 2.
Post-Mount Fixtures
Connect fixture ground wire (E) (typically copper or green plastic coated) to power supply ground with appropriately sized twist-on connector inside post.
Cover open end of connector with silicone sealant to form a watertight seal See Drawing 3.
A Division of Hinkley Lighting, Inc.
33000 PIN OAK PARKWAY
AVON LAKE, OHIO 44012
toll free 800.446.5539
phone 440.653.5500


















