lowes 49300325 5 Light Chandelier

OVERVIEW

Hardware (Parts are not to scale)

THIS MANUAL CONTAINS IMPORTANT SAFETY INFORMATION. PLEASE READ AND KEEP FOR FUTURE REFERENCE.
IMPORTANT SAFETY INFORMATION
- Please read and understand this entire manual before attempting to assemble, operate or install the product.
- Turn off electricity at main fuse box (or circuit breaker box) before beginning installation by removing fuse (or switching off circuit breaker).
- Be careful not to damage or cut the wire insulation (covering) during fixture installation. Do not permit wires to contact any surface having a sharp edge. To do so may damage or cut the wire insulation, which could cause serious injury or death from electric shock.
- All electrical connections must be in agreement with local codes, ordinances or the national electric code (NEC). Contact your municipal building department to learn about your local codes, permits and/or inspections. If you do not have electrical wiring experience, refer to a do-it-yourself wiring handbook or have your fixture installed by a qualified licensed electrician.
- Risk of fire – most dwellings built before 1985 have supply wire rated for 140°F/60°C. Consult a qualified electrician before installation.
- Do not exceed the recommended wattage. Refer to the re-lamping label on the light socket for maximum wattage.
- Do not replace a bulb when electrical outlet switch is turned to the “ON” position.
- Do not immerse your lamp in water; doing so will damage the wire.
- Keep materials that burn easily away from lighted bulbs.
PREPARATION
- Before beginning assembly, installation or operation of product, make sure all parts are present. Compare parts with package contents list and diagram on previous page. If any part is missing or damaged, do not attempt to assemble, install or operate the product. Contact customer service for replacement parts.
- Tools required for assembly (not included): flathead screwdriver, phillips screwdriver, pliers, electrical tape, wire cutters, safety glasses, ladder, wire stripper.
INSTALLATION
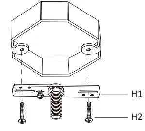
- Preparing the mounting strip
Screw the threaded tube (H3) into the mounting strip (H1), and secure it using the lock washer (H5) and hex nut (H4).
NOTE: The threaded tube (H3) should extend long enough to protrude through the canopy, when it is mounted. (Adjust as needed.).
- Installing the mounting strip
Fasten the mounting strip (H1) onto the outlet box using two outlet box screws (H2).
- Attaching the canopy to the outlet box
- Place the canopy (H11) over the threaded tube (H3), and screw the screw collar loop (H8) onto the threaded tube (H3).
- Secure the canopy (H11) using the ring (H9).

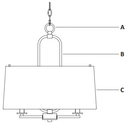
- Assembling the loop and the flat tube to the fixture body
- Pull the fixture wire through the loop (A), and tighten the loop (A) onto the top of the fixture body (B).
- Unscrew the two screws (H15) from the flat tube of the fixture body (B). Insert the flat tubes (H13) to the flat metal plate of the fixture body and secure with the screws (H15) using Phillips screwdriver (no included) as shown below.

- Assembling the shade to the fixture body
Unscrew the two thumbscrews (H14) from the flat tube (H13). Place the shade (B) over the top of the fixture body (B). Align the two holes of the shade (C) and the flat tube (H13), then tighten the two thumbscrews (H14).
NOTE: Remove the plastic cover from the shade before using.
- Attaching the chain
- Adjust the chain (H12) to the desired height by spreading the end link of the chain (H12) apart. Use a pair of pliers and a screwdriver (not included). Wrap a soft cloth around the pliers to protect the chain’s finish.
- Open the first quick link (H10), connect chain (H12) to the loop of the loop (A) and close the quick link (H10).
- Open the second quick link (10), connect other end of chain (H12) to the screw collar loop (H8) and close the quick link (H12).

- Weaving the fixture wire
- Unscrew the ring (H9) from the screw collar loop (H8), and lower the canopy (H11) and ring (H9) over the chain (H12) on the fixture.
- Weave the fixture wires and bare copper ground wire up through the chain (H12), ring (H9), canopy (H11), screw collar loop (H8), threaded tube (H3), and then into the outlet box.

- Making the electrical connection
- Strip 3/4 in. of insulation from the wire ends.
- Connect the glossy live wire from the fixture to the black wire from the outlet box, and the rough neutral wire from the fixture to the white wire from the outlet box.
- The bare copper ground wire from the fixture must loop one turn under the head of the green ground screw (H6) on the mounting strip (H1) before it is connected to the ground conductor of the supply circuit.
- Cover the wires with wire connectors (H7). Tape the wire connectors (H7) and wires together, and carefully position all wires inside the outlet box.
NOTE: The glossy live wire has the text printed on it; the rough neutral wire has the ridge on it.
- Installing the canopy to the outlet box
Raise the canopy (H11) all the way up to the ceiling, and tighten the ring (H9) onto the screw collar loop (H8) until the canopy (H11) is firmly held against the ceiling.
- Installing the light bulbs
Install the light bulbs (not included) into the socket. Use five Max 60W candelabra base (E12) type “B” bulbs (recommended).
NOTE: You can also use five MAX 9W candelabra base (E12) self-ballasted LED bulbs. Do not exceed the recommended wattage.
CLEANING
- Do not use any cleaners with chemicals, solvents, or harsh abrasives. Use only a dry, soft cloth to dust or wipe carefully.
- To clean the fixture, disconnect the power by turning off the circuit breaker or by removing the fuse at the fuse box. Use a dry or slightly dampened, clean cloth to wipe the exterior surface of the fixture.
TROUBLESHOOTING
- The light does not come on at all:
- Make sure the wall switch and circuit breaker are on.
- Make sure the wiring is correct.
- Fuse blows or circuit trips when light is turned on.
Check for crossed wires, ensure wiring is correct.


























