43694BK Alton 5 Light 27 Inch Wide Chandelier
Instruction Manual
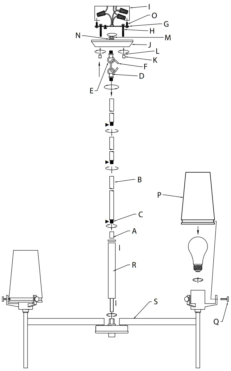
Fixture Diagram

Parts List
| [A] Coupler [B] Stem [C] Short Threaded Tubes [D] First Loop [E] Second Loop [F] Chain Link [G] Mounting Strap [H] Mounting Screws [I] Outlet Box [J] Canopy | [K] Knobs [L] Lockwashers [M] Hexnut [N] Lockwasher [O] Strap Mounting Screws [P] Glass [Q] Glass Retainer Screws [R] Center Tube Assembly [S] Main Body |
Cautions
CAUTION – RISK OF SHOCK –
Disconnect Power at the main circuit breaker panel or main fusebox before starting and during the installation.
WARNING:
This fixture is intended for installation in accordance with the National Electrical Code (NEC) and all local code specifications. If you are not familiar with code requirements, installation by a certified electrician is recommended.
Installation Instructions
- Assemble the center tube assembly[R] to the main body[S] by threading the center tube into the elongated nut in the center and secure into place using the coupler[A].
- NOTE: At least one (1) 6 inch tube must be used during mounting. Pass fixture wire from the coupling on top of fixture through a stem[B] and threaded tubes[C] and screw stem into coupler[A] on top of the main body.
NOTE: Thread locking compound must be applied to all stem threads as noted with symbol (4) to prevent accidental rotation of fixture during cleaning, relamping, etc. - Pass fixture wire through desired amount of stems and screw stems together using supplied short threaded tubes.
- Pass fixture wire from last stem through first loop[D]. Thread first loop onto end of last stem.
- Pass fixture wire through second loop[E] and through hole in canopy.
- (If second loop is already attached to canopy, proceed to next step). Pass threaded pipe at end of second loop through hole in canopy. Thread lockwasher[N] onto threaded pipe protruding from inside canopy. Pass fixture wire through hole in hexnut[M] and thread hexnut onto end of threaded pipe.
- Attach chain link[F] to small loop at end of stem and to loop on canopy. Close the open chain link by placing a piece of cloth over the open link and using a pair of pliers gently squeeze the link closed.
- Find the appropriate threaded holes on mounting strap[G]. Assemble mounting screws[H] into threaded holes.
- Attach mounting strap to outlet box[I] using the strap mounting screws[O]. The mounting strap can be adjusted to suit position of fixture.
- Grounding instructions: (See Illus. a or b).
a) On fixtures where mounting strap is provided with a hole and two raised dimples, wrap ground wire from outlet box around green ground screw, and thread into hole.
b) On fixtures where a cupped washer is provided,attach ground wire from outlet box under cupped washer and green ground screw, then thread into mounting strap.
If fixture is provided with ground wire, connect fixture ground wire to outlet box ground wire with wire connector after following the above steps. Never connect ground wire to black or white power supply wires.
- Make wire connection. Reference chart below for correct connections and wire accordingly.
Connect Black or Red Supply Wire to: Connect White Supply Wire to: Black White *Parallel cord (round & smooth) *Parallel cord (square & ridged) Clear, Brown, Gold or Black without Tracer Clear, Brown, Gold or Black with Tracer Insulated wire (other than green) with copper conductor Insulated wire (other than green) with silver conductor *Note: When parallel wire (SPT 1 & SPT 2) are used. The neutral wire is square shaped or ridged and the other wire will be round in shape or smooth (see illus.)

- Push fixture to ceiling, carefully passing mounting screws through holes in canopy[J]. NOTE: Be certain wires do not get pinched between canopy and ceiling.
- Use knobs[K] and lockwashers[L] to secure canopy. Tighten to secure.
- Install the recommended bulbs. (Not supplied).
- Place the glass[P] over the installed bulbs and secure into place with the glass retainer screws[Q], three (3) per glass.
IS-43694-US













