
Hunter 19985 Sunjai 7 Light Linear Chandelier Instruction Manual

For Models:
19985
19986
PREPARING FOR INSTALLATION
Carefully remove all contents from the carton. Shut off the power at the circuit breaker and completely remove the old fixture from the ceiling, including the old mounting bracket. Remove the new mounting bracket assembly from the bag. Put the drywall anchor (C) inside the hole in the ceiling. Place the mounting plate (D) over the junction box so that mounting screws (B) extend out away from the ceiling. Pull the house wires through the center of mounting plate (D). Secure mounting plate (D) to the junction box by tightening the screws (F) then insert the drywall screw (E) through the mounting plate (D) into the drywall anchor (C).
ASSEMBLING THE FIXTURE
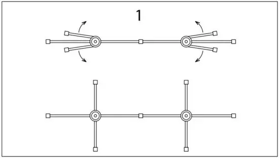
Adjust the angle of the lamp arms so that they are evenly distributed (see drawing 1) and install candle finials (R).
There are 4 12-inch rods (P), and 1 6-inch rod (O) included for each side of the fixture. Determine the correct number of rods needed for proper hanging height. To lengthen the fixture, add additional rods. To shorten the fixture, trim the wires to desired length. Leave at least 8 to 10 inches of wire in addition to the desired length and slide any excess rods off the fixture’s wiring to discard. Keep in mind that you must use at least one rod on each side to hang the fixture. Thread the wires through the rods and pull the wires until taut before connecting the rods together. All threads should be engaged but do not overtighten (some manual straightening of the downrods may be required). Screw the lower end of rod onto threaded post (Q) of the fixture. Place reinforcing plate (J) inside canopy (L) and the canopy (L) over the threaded post (N) of the top rod. Put the center of threaded post (N) through washer (I), the wire rope loop (K) and washer (I). Secure the reinforcing plate and canopy with the hex nut (H) on threaded post (N). Secure the other side using a washer (I) and hex nut (H). Hide wire rope inside the canopy (L). Secure the screw collar loop (A) into mounting plate (D).

CONNECTING THE WIRES
Have a helper support the fixture’s weight while completing the wiring. Attach the fixture’s wires to the power supply wires from the junction box. Connect black to black (live); white to white (neutral); grounding to grounding (green or copper). Twist the ends of the wire pairs together. Then, twist on a wire connector. Make sure all twists are in the same direction. Loop fixture’s ground wire around grounding screw (G) and tighten. If there is no ground wire (green or copper) from the junction box, contact a qualified electrician.
FINISHING THE INSTALLATION
Raise canopy (L) to mounting plate (D) and position mounting screws (B) so that they protrude through the openings of canopy (L). Secure canopy (L) in place with cap nuts (M). Install light bulbs (not included) in accordance with the fixture’s specifications. Do not exceed the recommended wattage. Turn on the power and test the fixture. Your installation is now complete.
CLEANING TIPS
Treat the fixture gently! Regular cleaning will reduce the need for deep cleaning. For regular cleaning, turn off the light and wipe down the fixture with a clean lint-free cotton or microfiber cloth. Never spray cleaner directly onto the fixture.



Here are the tools you’ll need to complete your installation:



INSTALLATION INSTRUCTIONS
WARNING
![]()
- To avoid possible electrical shock, before installing your light fixture, disconnect the power by turning off the circuit breakers to the outlet box associated with the wall switch location.
- The lighting fixture must be grounded. If the ground wire for the installation site is not present, immediately STOP installation and consult a qualified electrician.
READ AND SAVE THESE INSTRUCTIONS
These instructions are provided for your safety. It is very important that they are read carefully and completely before beginning installation of the lighting fixture.
Read More About This Manual & Download PDF:



















