For Models: 19811, 19812
Woodburn
Instruction Manual
19811 5 Light Linear Chandelier
5 Light Linear Chandelier
Fixture weight ±2 Ibs: 24.6 Ibs (11.16 kg)
Peso ±2 lb: Poids fixe ±2 Ibs:
Hardware Service Kit
| Part # | Model | Finish |
| KE99701214 | 19811 | Brushed Nickel |
| KE99702834 | 19812 | Noble Bronze |
Glass
| Part # | Model | Type |
Here are the tools you’ll need to complete your installation:
| Ladder | Screwdriver |
| Pliers | Wire Strippers |
| Drill |
INSTALLATION INSTRUCTIONS
WARNING ![]()
- To avoid possible electrical shock, before installing your light fixture, disconnect the power by turning off the circuit breakers to the outlet box associated with the wall switch location.
- The lighting fixture must be grounded. If the ground wire for the installation site is not present, immediately STOP installation and consult a qualified electrician.
- All wiring must be in accordance with national and local electrical codes ANSI/NFPA 70. If you are unfamiliar with wiring or in doubt, consult a qualified electrician.
READ AND SAVE THESE INSTRUCTIONS
These instructions are provided for your safety. It is very important that they are read carefully and completely before beginning installation of the lighting fixture.
PREPARING FOR INSTALLATION
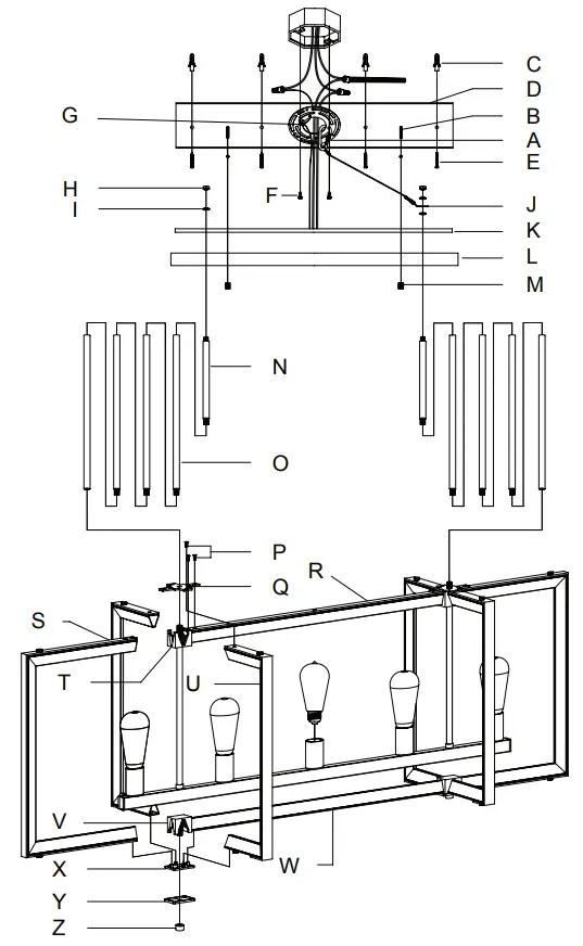
Carefully remove all contents from the carton. Shut off the power at the circuit breaker and completely remove the old fixture from the ceiling, including the old mounting bracket. Remove the new mounting bracket assembly from the bag. Put the drywall anchor (C) inside the hole in the ceiling. Place the mounting plate (D) over the junction box so that mounting screws (B) extend out away from the ceiling. Pull the house wires through the center of the mounting plate (D). Secure mounting plate (D) to the junction box by tightening the screws (F) then insert the drywall screw (E) through the mounting plate (D) into the drywall anchor (C).
ASSEMBLING THE FIXTURE
Slide frame pieces (R, S, U) into slots on cleat (T). Secure cross plate (Q) onto frame pieces (R, S, U) with screws (P). Do not fully tighten screws (P) until all frame pieces are in place. Slide frame pieces (S, U, W) into slots on cleat (V). Fit cleat plate (X) over cleat (V), place cover (Y) over cleat plate (X), and secure with a finial (Z). There are 4 12-inch rods (0), and 1 6-inch rod (N) included for each side of the fixture. Determine the correct number of rods needed for proper hanging height. To lengthen the fixture, add additional rods. To shorten the fixture, trim the wires to the desired length. Leave at least 8 to 10 inches of wire in addition to the desired length and slide any excess rods off the fixture’s wiring to discard. Keep in mind that you must use at least one rod to hang the fixture on each side. Thread the wires through the rods and pull the wires until taut before connecting the rods together. All threads should be engaged but do not overtighten (some manual straightening of the downloads may be required). Screw the lower end of the rod onto the threaded post of the cleat (T). Place reinforcing plate (K) inside the canopy (L) and the canopy (L) over the threaded post (N) of the top rod. Put the center of the threaded post (N) through the wire rope loop (J) and washer (I). Lock the reinforcing plate and canopy with the hex nut (H) on the threaded post (N). Hide wire rope inside the canopy (L). Secure the screw collar loop (A) into the mounting plate (D).
CONNECTING THE WIRES
Have a helper support the fixture’s weight while completing the wiring. Attach the fixture’s wires to the power supply wires from the junction box. Connect black to black (Live); white to white (grounded); grounding to grounding (green or copper). Twist the ends of the wire pairs together. Then, twist on a wire connector. Make sure all twists are in the same direction. Loop fixture’s ground wire around grounding screw (G) and tighten. If there is no ground wire (green or copper) from the junction box, contact a qualified electrician.

FINISHING THE INSTALLATION
Raise canopy (L) to mounting plate (D) and position mounting screws (B) so that they protrude through the openings of the canopy (L). Secure canopy (L) in place with cap nuts (M). Install light bulb (not included) in accordance with the fixture’s specifications. Do not exceed the recommended wattage. Your installation is now complete. Turn on the power and test the fixture.
CLEANING TIPS
Treat the fixture gently! Regular cleaning will reduce the need for deep cleaning. For regular cleaning, turn off the light and wipe down the fixture with a clean lint-free cotton or microfiber cloth. Never spray the cleaner directly onto the fixture.
Hunter Pro Tip:
Let the tool do the work! Use chain pliers to easily open and close chain links to shorten your fixture.
NOTICE
Drill 9/64″ pilot holes in the support structure to aid in securing the light fixture.
NOTICE
In order to use a 12in the rod by itself, you must first remove the post from the 6in rod and install it on one of the ends of the 12in the rod.
Hunter Pro Tip:
Twist or tape wire ends together to make it easier to pass them through the downloads. Threaded posts may also be removed for easier wire access.
ASSEMBLING THE FIXTURE


















