KICHLER 3-Light Chandelier

PACKAGE CONTENTS
| PART DESCRIPTION QUANTITY | ||
| A | Canopy | 1 |
| B | Mounting Bracket | 1 |
| C | Threaded Nipple | 1 |
| D | Hex Nut (preassembled to Threaded Nipple (C)) | 3 |
| E | Socket (preassembled to Arm (O)) | 3 |
| F | Coupling | 1 |
| G | Shade | 3 |
| H | Screw Collar Ring (preassembled to Threaded Nipple (C)) | 1 |
| I | Screw Collar Loop (preassembled to Threaded Nipple (C)) | 1 |
| J | Spacer | 3 |
| K | Chain | 1 |
| L | Fixture Loop | 1 |
| M | Socket Ring (preassembled to socket (E)) | 3 |
| N | Threaded Pipe | 1 |
| O | Arm | 3 |
| P | 60-Watt Edison Bulb | 3 |
| Q | Threaded Chain Link | 2 |
HARDWARE CONTENTS
SAFETY INFORMATION
Please read and understand this entire manual before attempting to assemble, operate or install the product.
WARNING
- IMPORTANT: NEVER attempt any work without shutting off the electricity.
- Place the main power switch in the “OFF” position and unscrew the fuse(s), or switch “OFF” the circuit breaker switch(es), that control the power to the fixture or room you are working in.
- Place the wall switch in the “OFF” position. If the fixture to be replaced has a switch or pull chain, place it in the “OFF” position.
- Do not use bulbs with wattage greater than specified on this fixture.
- California Proposition 65
WARNING: This product can expose you to lead, which is known to the State of California to cause cancer, birth defects or other reproductive harm. For more information go to www.p65warnings.ca.gov
CAUTION
- If you have any doubts about how to install this lighting fixture, or if the fixture fails to operate completely, please contact a licensed electrical contractor.
- All parts must be used as indicated in these instructions. Do not substitute any parts, leave parts out, or use any parts that are worn out or broken. Failure to obey this instruction could invalidate ETL listing and/or C.S.A. certification of this fixture.
PREPARATION
Before beginning assembly of product, make sure all parts are present. Compare parts with package contents list and hardware contents list. If any part is missing or damaged, do not attempt to assemble the product.
Estimated assembly time: 30 minutes to 1 hour
Tools Required for Assembly (not included): Phillips screwdriver, flathead screwdriver, wire strippers, electrical tape, ladder, safety glasses.
ASSEMBLY INSTRUCTIONS
- Screw fixture loop (L) onto threaded pipe (N) before screwing threaded pipe onto coupling (F).

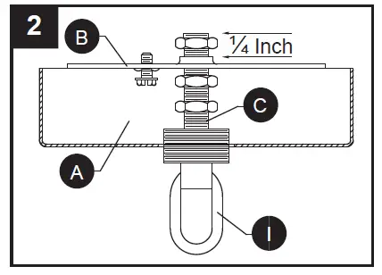
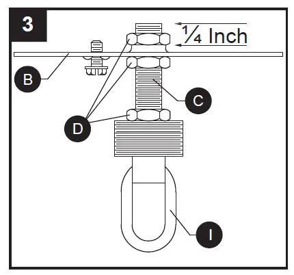
- Position threaded nipple (C) in mounting bracket (B) so that, when mounted:
- The threaded nipple (C) will protrude a minimum of ¼ inch beyond the raised center portion of the bracket (B).
- The threaded nipple (C) height should be positioned so that ½ the exterior threads of the screw collar loop (I) will extend past the canopy (A), when it is mounted.

- Once the proper position of the threaded nipple (C) and bracket (B) has been determined, secure with 3 hex nuts (D) as follows:
- Screw 1st hex nut (D) onto the threaded nipple (C) and tighten against the raised portion of the bracket (B).
- Screw 2nd hex nut (D) onto the threaded nipple (C) and tighten against the flat portion of the mounting bracket (B).
- Screw the third hex nut (D) onto threaded nipple (C) and tighten against the screw collar loop (I).

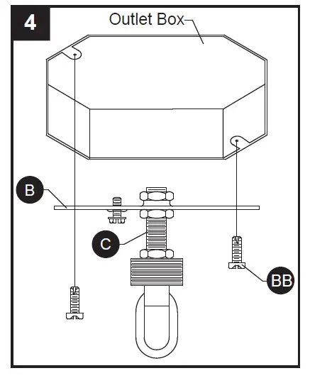
- Connect mounting bracket (B) to the outlet box with short machine screws (BB).

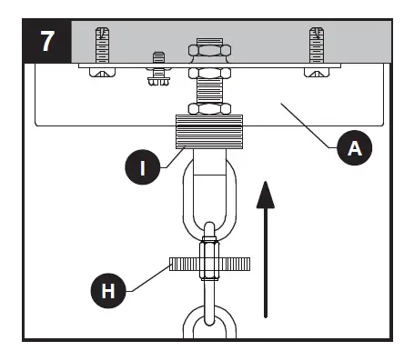
- Using the threaded chain links (Q) on chain (K), attach one end to screw collar loop (I) and the other end to fixture loop (L). Weave the fixture electrical and ground wires through every other chain link and pass through threaded nipple (C) into outlet box. Lower the screw collar ring (H) and canopy (A) over the chain (K).

- Wire connection guide:
Ground wire:- For installation in the United States: Wrap ground wire from outlet box around ground screw on mounting bracket (B) no less than 2 in. from wire end. Tighten ground screw. If fixture is supplied with a ground wire, connect to outlet ground wire with a wire connector (AA).
- For installation in Canada: If fixture is supplied with ground wire, wrap ground wire around ground screw on mounting bracket (B). Tighten ground screw.
Supply wires: - Connect the Neutral (White) supply wire from the outlet box to the Neutral fixture wire (White or Parallel Cord “D” shaped and ribbed).
- Connect the Hot (Black) supply wire from the outlet box to the Hot fixture wire (Black or Parallel Cord round and smooth).
NOTE:
Fixture will have 2 wires either Black and White or Parallel Cord SPT-1 lamp wire with one round smooth wire and one “D” shaped ribbed wire.
- Pass canopy (A) over the screw collar loop (I). Attach screw collar ring (H) to screw collar loop (I) to secure canopy (A).

- Lower shade (G) over socket (E). Next screw spacer (J) then socket ring (M) onto socket (E). Repeat for remaining sockets (E).

- Insert 60-watt max. Edison bulb (P) into socket (E). Repeat for remaining sockets (E).

CARE AND MAINTENANCE
- Always be certain that electric current is turned off before cleaning this item.
- Use a soft, moist cloth with mild non-abrasive soap to clean fixture. Never use glass cleaner on fixture, as it will damage the metal finish.
- All glass shades may be washed in a towel-lined sink with warm water and mild soap. Do not wash shades in an automatic dishwasher.
TROUBLESHOOTING
| PROBLEM POSSIBLE CAUSE CORRECTIVE ACTION | ||
| Fixture does not light. | 1. Fixture may be wired incorrectly. 2.Worn or broken bulb. | 1. Check wiring. 2. Replace bulb. |
WARRANTY
Kichler Lighting LLC (“Kichler Lighting”) warrants the following catalogued products and component parts to the original consumer purchaser or commercial purchaser, as applicable, to be free from defects in material and workmanship for the applicable period specified below.
Indoor Lighting Fixtures One (1) year from the date of purchase. LED Light Engine and Electrical Components Five (5) years from the date of purchase when the lighting fixture containing the LED light engine and electrical components is installed in a single family residence by the original consumer purchaser. For commercial purchasers, the warranty period is three (3) years from the date of purchase. Indoor Lighting Fixtures with Energy Star® Label Three (3) years from the date of purchase. Special Order (non-catalogued) Indoor Lighting Fixtures One (1) year from the date of purchase.
What We Will Do
Kichler Lighting, at its sole discretion, will repair or replace, free of charge, during the applicable warranty period, any product or component part (as described above) that proves defective in material and/or workmanship under normal installation, use and service. If repair or replacement is not practical, Kichler Lighting may elect to refund the purchase price in exchange for the return of the product. Replacement parts are subject to availability and may differ from those originally supplied. These are your exclusive remedies.
What Is Not Covered
The following carry no warranty other than the manufacturer’s warranty:
- Non-LED light bulbs supplied by, but not manufactured by, Kichler Lighting
- Non-Kichler branded LED light bulbs supplied by, but not manufactured by, Kichler Lighting.
This warranty does not cover polished brass finishes on the products described above. This warranty does not cover damage resulting from reasonable wear and tear, voltage outside of the North American Standard Voltage Range 108 to 132 VAC (60HZ), acts of God, misuse (including use of the product for an unintended application), abuse, improper packaging of product returned to Kichler Lighting, neglect and improper or incorrect installation, maintenance or repair, including failure to follow the applicable care and cleaning instructions. Kichler Lighting recommends using a professional electrician for all installation and repair of its products.
What You Must Do to Obtain Warranty Service or Replacement Parts
A warranty claim may be made by returning the product to the distributor or retailer from whom you purchased the product with proof of purchase (original sales receipt) and a written claim briefly describing the defect. If the distributor or retailer is not available, or if you have questions about this warranty, please contact us by mail or online as follows (please include your model number and date of purchase):
Kichler Lighting LLC
7711 East Pleasant Valley Rd
Cleveland, OH 44161-8010
http://www.kichler.com/customer-service/contact-us/.aspx
Limitation on Duration of Implied Warranties
Note: Some states/provinces (including Quebec) do not allow limitations on how long an implied warranty lasts, so the below limitation may not apply to you. TO THE EXTENT PERMITTED BY LAW, ANY IMPLIED WARRANTY, INCLUDING THE IMPLIED WARRANTIES OF MERCHANTABILITY AND OF FITNESS FOR A PARTICULAR PURPOSE, IS LIMITED TO THE STATUTORY PERIOD OR THE DURATION OF THIS WARRANTY, WHICHEVER IS SHORTER.
Limitation of Special, Incidental or Consequential Damages
Note: Some states/provinces (including Quebec) do not allow the exclusion or limitation of special, incidental or consequential damages, so the below limitations and exclusions may not apply to you. Notice to residents of the State of New Jersey: The provisions of this warranty, including its limitations, are intended to apply to the fullest extent permitted by the laws of the State of New Jersey. KICHLER LIGHTING SHALL NOT BE LIABLE FOR ANY SPECIAL, INCIDENTAL OR CONSEQUENTIAL DAMAGES (INCLUDING LABOR CHARGES TO REPAIR, REPLACE, INSTALL OR REMOVE THIS PRODUCT), WHETHER ARISING OUT OF BREACH OF ANY EXPRESS OR IMPLIED WARRANTY, BREACH OF CONTRACT, TORT, OR OTHERWISE.
Additional Rights
This warranty gives you specific legal rights. You may also have other rights which vary by state or province.
This warranty is not transferable.
REPLACEMENT PARTS LIST
For replacement parts, call our customer service department at 1-800-554-6504, 8 a.m. – 4:30 p.m., EST, Monday – Friday.
| PART DESCRIPTION PART # | ||
| A | Canopy | C34686 |
| B | Mounting Bracket | XBAR01 |
| C | Threaded Nipple | TN18200 |
| D | Hex Nut | NUT18 |
| G | Shade | G34686 |
| H | Screw Collar Ring | SCG-DBK |
| I | Screw Collar Loop | SCL-DBK |
| J | Spacer | SP34686 |
| K | Chain | CHAIN-DBK |
| L | Fixture Loop | TLOOP07-DBK |
| M | Socket Ring | LR013W090-DBK |
| N | Threaded Pipe | PIPEX12-DBK |
| Q | Threaded Chain Link | LINK02-DBK |
| AA | Wire Connector | WC001 |
| BB | Short Machine Screw | SCR832X050 |



























