ITEM # 5055206
MARITIME 4-LIGHT LINEAR CHANDELIER
MODEL #82399
Installation Guide
82399 Maritime 4-Light Linear Chandelier
ATTACH YOUR RECEIPT HERE
Serial Number ———–
Purchase Date —————
Questions, problems, missing parts? Before returning to your retailer, call our customer service department at 800-554-6504, 8 a.m. – 4:30 p.m, EST, Monday – Friday.
kichler.com/customer-care/contact-us
PACKAGE CONTENTS

| PART | DESCRIPTION | QTY. |
| A | Canopy | 1 |
| B | Mounting Bracket | 1 |
| C | Canopy Loop (preassembled) | 2 |
| D | Chain | 2 |
| E | Socket | 4 |
| F | Fixture Loop | 2 |
| G | Threaded Pipe | 2 |
| H | Coupling | 2 |
| I | Glass Shade | 4 |
| J | Socket Ring | 4 |
| K | Threaded Nipple | 1 |
| L | Lock-up Knob | 1 |
| M | Hex Nut | 3 |
| N | Lock Washer | 1 |
HARDWARE CONTENTS
![]() | |
| Wire Connector Qty: 3 | Short Machine Screw Qty: 2 |
SAFETY INFORMATION
Please read and understand this entire manual before attempting to assemble, operate or install the product.
WARNING
- CAUTION – RISK OF SHOCK –
Disconnect Power at the main circuit breaker panel or main fusebox before starting and during the installation. - WARNING:
This fixture is intended for installation in accordance with the National Electrical Code (NEC) and all local code specifications. If you are not familiar with code requirements, installation by a certified electrician is recommended. - Do not use bulbs with wattage greater than specified on this fixture.
- California Proposition 65
WARNING: This product can expose you to chemicals including lead, which is known to the State of California to cause cancer, birth defects, or other reproductive harm. For more information, go to http://www.P65Warnings.ca.gov
CAUTION
- If you have any doubts about how to install this lighting fixture, or if the fixture fails to operate completely, please contact a licensed electrical contractor.
- All parts must be used as indicated in these instructions. Do not substitute any parts, leave parts out, or use any parts that are worn out or broken. Failure to obey this instruction could invalidate ETL listing and/or C.S.A. certification of this fixture.
PREPARATION
Before beginning assembly of product, make sure all parts are present. Compare parts with package contents list and hardware contents list. If any part is missing or damaged, do not attempt to assemble the product.
Estimated assembly time: 30 minutes to 1 hour
Tools Required for Assembly (not included): Phillips screwdriver, flathead screwdriver, wire strippers, electrical tape, ladder, safety glasses, pliers (2).
ASSEMBLY INSTRUCTIONS
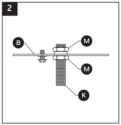
- Thread the threaded nipple (K) into mounting bracket (B) starting from the flat side of mounting bracket (B), such that when mounting bracket (B) is later mounted to outlet box (not included):
• Threaded nipple (K) will protrude a minimum of 1/4 inch (6.35 mm) beyond the raised center portion of mounting bracket (B).
• Threaded nipple (K) should be positioned such that a hex nut (M) and the lock-up knob (L) can fully secure canopy (A) flush against ceiling when fixture installation is complete.
NOTE: Canopy (A) shown here is only needed to help determine the positioning of threaded nipple (K) within mounting bracket (B). Canopy (A) will be installed in a later step. - Once the proper positioning of threaded nipple (K) within mounting bracket (B) has been determined, secure threaded nipple (K) in place with hex nuts (M) as follows:
• Thread one hex nut (M) onto “short” end of threaded nipple (K) and tighten against the raised portion of mounting bracket (B) to secure.
• Thread another hex nut (M) onto “long” end of threaded nipple (K) and tighten against the flat side of mounting bracket (B) to secure.
NOTE: Retain the remaining hex nut (M), it will be installed in a later step. - Screw threaded pipe (G) into coupling (H). Next, screw fixture loop (F) into threaded pipe (G). Repeat.
NOTE: The electrical cable will need to get pulled through the individual parts as they are installed on this and later steps. - To open chain links:
Locate the split in the chain link (D). Put one pair of pliers (not included) on each side of the split and rotate the pliers in opposite directions to open the link’s split. The open link should be shaped like the letter “C”.
Do not twist the ends of the link sideways so that the open link cannot lay flat. - Connect the canopy loops (C) to the fixture loops (F) using chain (D).
For best appearance be sure to weave the electrical cable through chain.
NOTE: Add or remove chain links once desired length is established.
CAUTION: To avoid damage from falling, make sure the open chain links are fully closed once assembled. - Orient mounting bracket (B) such that the “long” end of threaded nipple (K) points away from outlet box (not included). Attach mounting bracket (B) to outlet box using short machine screws (BB).
Hardware UsedBB Short Machine Screw 
- Wire connection guide:
Ground wire:
• For installation in the United States: Wrap ground wire from outlet box around ground screw on mounting bracket (B) no less than 2 in. from wire end. Tighten ground screw. If fixture is supplied with a ground wire, connect to outlet ground wire with a wire connector (AA).
• For installation in Canada: If fixture is supplied with ground wire, wrap ground wire around ground screw on mounting bracket (B). Tighten ground screw. Connect fixture ground wire to outlet ground wire with a wire connector (AA).
Supply wires:
• Connect the Neutral (White) supply wire from the outlet box to the Neutral fixture wire (White or Parallel Cord “D” shaped and ribbed).
• Connect the Hot (Black) supply wire from the outlet box to the Hot fixture wire (Black or Parallel Cord round and smooth).
NOTE:
Fixture wires will either be:
• Black and White.
• Parallel Cord SPT-1 lamp wire with one round smooth wire and one “D” shaped ribbed wire.
Hardware UsedAA Wire Connector 

- Raise canopy (A) to ceiling, carefully passing threaded nipple (K) through center hole in canopy (A). While holding canopy (A) in place flush against ceiling, slip lock washer (N) up over threads protruding through center hole in canopy (A). Thread remaining hex nut (M) onto threads and tighten to secure canopy (A) to ceiling.
Once canopy (A) is secured to ceiling, screw lock-up knob (L) onto threads protruding from hex nut (M) and tighten to secure lock-up knob (L) in place.
NOTE: Make sure all wires are inside of canopy (A) and do not get pinched between canopy (A) and mounting bracket (B), or canopy (A) and ceiling.
- Carefully slip glass shade (I) up over socket (E) until it is seated in socket base cup. While holding glass shade (I) in place, thread socket ring (J) onto threads of socket (E). Tighten socket ring (J) to secure glass shade (I) in place. DO NOT OVER-TIGHTEN.
Repeat for remaining glass shades (I).
- Insert 60-watt max. medium base bulb or LED equivalent (not included) into socket (E). Repeat for remaining sockets (E).

CARE AND MAINTENANCE
- Always be certain that electric current is turned off before cleaning this item.
- Use a soft, moist cloth with mild non-abrasive soap to clean fixture. Never use glass cleaner on fixture, as it will damage the metal finish.
- All glass shades may be washed in a towel-lined sink with warm water and mild soap. Do not wash shades in an automatic dishwasher.
TROUBLESHOOTING
| PROBLEM | POSSIBLE CAUSE | CORRECTIVE ACTION |
| Fixture does not light. | 1. Fixture may be wired incorrectly. 2. Worn or broken bulb. | 1. Check wiring. 2. Replace bulb. |
REV 20-APR-2022
Distributed by: Kichler Lighting LLC
30455 Solon Rd
Solon, OH 44139
Printed in China

NOTE: Canopy (A) shown here is only needed to help determine the positioning of threaded nipple (K) within mounting bracket (B). Canopy (A) will be installed in a later step.
NOTE: Retain the remaining hex nut (M), it will be installed in a later step.
NOTE: The electrical cable will need to get pulled through the individual parts as they are installed on this and later steps.
Do not twist the ends of the link sideways so that the open link cannot lay flat.
For best appearance be sure to weave the electrical cable through chain.
Hardware Used




















