Hunter
Hartland Light Chandelier
Installation Guide
For Models: 19010; 19011; 19135

8 Light Chandelier
Fixture weight ±2 lbs: 19 lbs (8.62 kg)
READ AND SAVE THESE INSTRUCTIONS
These instructions are provided for your safety. It is very important that they are read carefully and completely before
Here are the tools you’ll need to complete your installation:


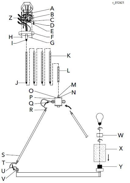
Diagram

WARNING
- To avoid possible electrical shock, before installing your light fixture, disconnect the power by turning off the circuit breakers to the outlet box associated with the wall switch location.
- The lighting fixture must be grounded. If the ground wire for the installation site is not present, immediately STOP installation and consult a qualified electrician.
- All wiring must be in accordance with national and local electrical codes ANSI/NFPA 70. If you are unfamiliar with wiring or in doubt, consult a qualified electrician.
PREPARING FOR INSTALLATION
CLEANING TIPS
Treat the fixture gently! Regular cleaning will reduce the need for deep cleaning. For regular cleaning, turn off the light and wipe down the fixture with a clean lint-free cotton or microfiber cloth. Never spray cleaner directly onto the fixture.
Carefully remove all contents from the carton. Shut off the power at the circuit breaker and completely remove the old fixture from the ceiling, including the old mounting bracket. Remove the new mounting bracket assembly from the bag. Remove decorative nuts (H) from mounting screws (A). Mounting plate (B) contains several pairs of threaded holes. Find the pair of holes that matches the spacing on the holes on the fixture’s canopy. Place the mounting plate (B) over the junction box so that mounting screws (A) and nuts (C) are visible. Pull the house wires through the center of mounting plate (B). Secure mounting plate (B) to the junction box by tightening the screws (D). Adjust the position of mounting screws (A) so that mounting screws (A) can be exposed 5-6 mm after passing through the canopy (F).
Once the ideal position of mounting screws (A) has been confirmed, tighten nuts (C) on mounting screws (A) under the mounting plate to ensure that mounting screws (A) are in place.
ASSEMBLING THE FIXTURE
There are 4 12-inch rods (K), and 1 6-inch rod (L) included for each fixture. Determine the correct number of rods needed for proper hanging height. To lengthen the fixture, add additional rods. To shorten the fixture, trim the wires to desired length. Leave at least 8 to 10 inches of wire in addition to the desired length and slide any excess rods off the fixture’s wiring to discard. Keep in mind that you must use at least the provided one rod to hang the fixture. Thread the wires through the rods and pull the wires until taut before connecting the rods together. Screw rod onto threaded post (M) on the fixture. Screw the threaded post of the top rod to swivel post (I) of canopy (F). Pull the fixture wires through the top of the canopy. Tighten the screw collar loop (Z) into mounting plate (B).
CONNECTING THE WIRES

Have a helper support the fixture’s weight while completing the wiring. Attach the fixture’s wires to the power supply wires from the junction box. Connect black to black (Live); white to white (grounded); grounding to grounding (green or copper). Twist the ends of the wire pairs together. Then, twist on a wire connector. Make sure all twists are in the same direction. Loop fixture’s ground wire around grounding screw (E) and tighten. If there is no ground wire (green or copper) from the junction box, contact a qualified electrician.
FINISHING THE INSTALLATION
Raise canopy (F) to mounting plate (B) and position mounting screws (A) so that they protrude through the openings of canopy (F). Secure canopy (F) in place with decorative nuts (H). Secure glass (X) onto the socket (Y) by screwing socket ring (W) tight. Install light bulb (not included) in accordance with the fixture’s specifications. Do not exceed the recommended wattage. Your installation is now complete. Turn on the power and test the fixture.
CLEANING TIPS
Treat the fixture gently! Regular cleaning will reduce the need for deep cleaning. For regular cleaning, turn off the light and wipe down the fixture with a clean lint-free cotton or microfiber cloth. Never spray cleaner directly onto the fixture.
NOTICE
In order to use a 12in rod by itself you must first remove the post from the 6in rod and install it on one of the ends of the 12in rod.
Hunter Pro Tip: Twist or tape wire ends together to make it easier to thread through download.



















