KICHLER 1007968372 Ekero 5-Light Chandelier

Product Information
- Item # 1007968372, 320893090
- Model # 82396
- EKERO 5-LIGHT CHANDELIER
Package Contents:
- A – Canopy
- B – Mounting Bracket
- C – Threaded Nipple
- D – Hex Nut Socket Loop
- E – 12in. (305 mm) Threaded Pipe
- F – Screw Collar Ring
- G – Screw Collar Loop
- H – 6in. (152 mm) Threaded Pipe
- I – Chain Link
- J – Glass Shade
- K – Center Tube
- L – Center Tube End Cap
- M – Long Threaded Nipple
- N – Fixture Coupling
- O – Stem Coupling
- P – Socket Base Cup
- Q – Wire Connector
Hardware Contents:
- AA – Short Machine Screw (Qty: 2)
- BB – Wire Connector (Qty: 3)
Safety Information:
Please read and understand the entire manual before attempting to assemble, operate, or install the product. This product contains chemicals known to the State of California to cause cancer, birth defects, or other reproductive harm. For more information, go to http://www.P65Warnings.ca.gov. Do not use any parts that are worn out or broken as it could invalidate ETL listing and/or C.S.A. certification of this fixture.
Product Usage Instructions
Before beginning assembly of the product, make sure all parts are present. Compare parts with package contents list and hardware contents list. If any part is missing or damaged, do not attempt to assemble the product. The estimated assembly time is 30 minutes to 1 hour. Tools required for assembly (not included): Phillips screwdriver, flathead screwdriver, wire strippers, electrical tape, ladder, safety glasses, pliers (2).
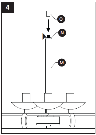
- Unfold fixture arms so they resemble a 5-pointed star.
- Screw long threaded nipple (O) into fixture coupling (P), making sure that the end of long threaded nipple (O) with a pre-installed hex nut is the end screwed into fixture coupling (P). Screw pre-installed hex nut on long threaded nipple (O) down against fixture coupling (P) and tighten to secure long threaded nipple (O) in place.
- Slip center tube (M) down over long threaded nipple (O) until it rests on top of fixture. Slip center tube end cap (N) down over threads protruding from top of center tube (M).
- Screw stem coupling (Q) onto threads protruding from top of center tube end cap (N) and tighten to secure center tube (M) and center tube end cap (N) in place.
- Screw either a 6 inch (152 mm) threaded pipe (J) or a 12 inch (305 mm) threaded pipe (G) into stem coupling (Q). Next, screw another 6 inch (152 mm) threaded pipe (J) or 12 inch (305 mm) threaded pipe (G) into the first threaded pipe that was screwed into stem coupling (Q).
Note:
Thread locking compound must be applied to all stem threads as noted with () symbol to prevent accidental rotation of fixture during cleaning, relamping, etc.
If you have any questions, problems, or missing parts, call the customer service department at 800-554-6504, 8 a.m. – 4:30 p.m, EST, Monday – Friday or visit kichler.com/customer-care/contact-us before returning to your retailer.
PACKAGE CONTENTS

| PART DESCRIPTION | QTY | |
| A | Canopy | 1 |
| B | Mounting Bracket | 1 |
| C | Threaded Nipple | 1 |
| D | Hex Nut | 3 |
| E | Socket | 5 |
| F | Loop | 1 |
| G | 12in. (305 mm) Threaded Pipe | 2 |
| H | Screw Collar Ring | 1 |
| I | Screw Collar Loop | 1 |
| J | 6in. (152 mm) Threaded Pipe | 2 |
| K | Chain Link | 1 |
| L | Glass Shade | 5 |
| M | Center Tube | 1 |
| N | Center Tube End Cap | 1 |
| O | Long Threaded Nipple | 1 |
| P | Fixture Coupling | 1 |
| Q | Stem Coupling | 1 |
| R | Socket Base Cup | 5 |
HARDWARE CONTENTS

SAFETY INFORMATION
Please read and understand this entire manual before attempting to assemble, operate or install the product.
WARNING
- CAUTION – RISK OF SHOCK
Disconnect Power at the main circuit breaker panel or main fusebox before starting and during the installation. - WARNING:
This fixture is intended for installation in accordance with the National Electrical Code (NEC) and all local code specifications. If you are not familiar with code requirements, installation by a certified electrician is recommended. - Do not use bulbs with wattage greater than specified on this fixture.
- California Proposition 65
WARNING: This product can expose you to chemicals including lead, which is known to the State of California to cause cancer, birth defects, or other reproductive harm. For more information, go to http://www.P65Warnings.ca.gov.
CAUTION
- If you have any doubts about how to install this lighting fixture, or if the fixture fails to operate completely, please contact a licensed electrical contractor.
- All parts must be used as indicated in these instructions. Do not substitute any parts, leave parts out, or use any parts that are worn out or broken. Failure to obey this instruction could invalidate ETL listing and/or C.S.A. certification of this fixture.
PREPARATION
Before beginning assembly of product, make sure all parts are present. Compare parts with package contents list and hardware contents list. If any part is missing or damaged, do not attempt to assemble the product.
Estimated assembly time: 30 minutes to 1 hour
Tools Required for Assembly (not included): Phillips screwdriver, flathead screwdriver, wire strippers, electrical tape, ladder, safety glasses, pliers (2).
![]()
Beginner
ASSEMBLY INSTRUCTIONS
- Unfold fixture arms so they resemble a 5- pointed star.

- Screw long threaded nipple (O) into fixture coupling (P), making sure that the end of long threaded nipple (O) with a pre-installed hex nut is the end screwed into fixture coupling (P). Screw pre-installed hex nut on long threaded nipple (O) down against fixture coupling (P) and tighten to secure long threaded nipple (O) in place.
NOTE: The electrical cable will need to get pulled through the individual parts as they are installed on this and later steps.
- Slip center tube (M) down over long threaded nipple (O) until it rests on top of fixture. Slip center tube end cap (N) down over threads protruding from top of center tube (M).

- Screw stem coupling (Q) onto threads protruding from top of center tube end cap (N) and tighten to secure center tube (M) and center tube end cap (N) in place.
NOTE: Thread locking compound must be applied to all stem threads as noted with (
) symbol to prevent accidental rotation of fixture during cleaning, relamping, etc.
- Screw either a 6 inch (152 mm) threaded pipe (J) or a 12 inch (305 mm) threaded pipe (G) into stem coupling (Q). Next, screw another 6 inch (152 mm) threaded pipe (J) or 12 inch (305 mm) threaded pipe (G) into first threaded pipe that was screwed into stem coupling (Q).
- NOTE: Thread locking compound must be applied to all stem threads as noted with (
) symbol to prevent accidental rotation of fixture during cleaning, relamping, etc. - NOTE: he hanging height of this fixture is adjustable. Add or subtract threaded pipes to achieve desired hanging height. Once desired hanging height is determined and the necessary threaded pipes are connected, screw loop (F) into top of the connected threaded pipes.

- NOTE: Thread locking compound must be applied to all stem threads as noted with (
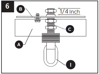
- Position threaded nipple (C) in mounting bracket (B) so that, when mounted:
- The threaded nipple (C) will protrude a minimum of 1/4 inch beyond the raised center portion of the bracket (B).
- The threaded nipple (C) height should be positioned so that 1/2 the exterior threads of the screw collar loop (I) will extend past the canopy (A), when it is mounted.
NOTE: Canopy (A) is only needed to determine the position of the threaded nipple (C) and screw collar loop (I). It will be installed later.
- Once the proper position of the threaded nipple (C) and mounting bracket (B) has been determined, secure with hex nuts (D) as follows:
- Screw one hex nut (D) onto the threaded nipple (C) and tighten against the raised portion of the mounting bracket (B).
- Screw another hex nut (D) onto the threaded nipple (C) and tighten against the flat portion of the mounting bracket (B).
- Screw the remaining hex nut (D) onto threaded nipple (C) and tighten against the screw collar loop (I).

- Connect mounting bracket (B) to the outlet box (not included) with short machine screws (BB).

Hardware Used
- Carefully pass screw collar ring (H) and canopy (A) over the screw collar loop (I). Using the open chain link (K), connect loop (F) to screw collar loop (I). Close chain link (K) using pliers. Then, pass electrical and ground wires through threaded nipple (C) into outlet box.
CAUTION: To avoid damage from falling, make sure the open chain link is fully closed once assembled.
- Wire connection guide:
Ground wire:- For installation in the United States: Wrap ground wire from outlet box around ground screw on mounting bracket (B) no less than 2 in. from wire end. Tighten ground screw. If fixture is supplied with a ground wire, connect to outlet ground wire with a wire connector (AA).
- For installation in Canada: If fixture is supplied with ground wire, wrap ground wire around ground screw on mounting bracket (B). Tighten ground screw. Connect fixture ground wire to outlet ground wire with a wire connector (AA).

Supply wires: - Connect the Neutral (White) supply wire from the outlet box to the Neutral fixture wire (White or Parallel Cord “D” shaped and ribbed).
- Connect the Hot (Black) supply wire from the outlet box to the Hot fixture wire (Black or Parallel Cord round and smooth).
NOTE:
Fixture wires will either be: - Black and White.
- Parallel Cord SPT-1 lamp wire with one round smooth wire and one “D” shaped ribbed wire.
- Pass canopy (A) over the screw collar loop (I). Attach screw collar ring (H) to screw collar loop (I) to secure canopy (A).
NOTE: Make sure all wires are inside of canopy (A) and do not get pinched between canopy (A) and mounting bracket (B), or canopy (A) and ceiling.
- Insert 60-watt max. candelabra-base bulb or LED equivalent (not included) into socket (E).
Repeat for remaining sockets (E). Carefully lower glass shade (L) down over bulb and socket (E) and into socket base cup (R). While holding glass shade (L) in place, carefully screw glass shade (L) down clockwise approximately 1/4-1/2 turn into socket base cup (R) until glass shade (L) locks in place securely in socket base cup (R). Repeat for remaining glass shades (L).
CARE AND MAINTENANCE
- Always be certain that electric current is turned off before cleaning this item.
- Use a soft, moist cloth with mild non-abrasive soap to clean fixture. Never use glass cleaner on fixture, as it will damage the metal finish.
- All glass shades may be washed in a towel-lined sink with warm water and mild soap. Do not wash shades in an automatic dishwasher.
TROUBLESHOOTING
| PROBLEM | POSSIBLE CAUSE | CORRECTIVE ACTION |
| Fixture does not light. | 1. Fixture may be wired incorrectly. 2. Worn or broken bulb. | 1. Check wiring. 2. Replace bulb. |
Questions, problems, missing parts?
Before returning to your retailer, call our customer service department at 800-554-6504, 8 a.m. – 4:30 p.m, EST, Monday – Friday.
kichler.com/customer-care/contact-us.
Distributed by:
Kichler Lighting LLC
30455 Solon Rd Solon, OH 44139
Printed in China.

























