P5437-697-L Contemporary LED Chandelier
Instruction Manual
![]()
P5437-697-L Contemporary LED Chandelier
INSTALLATION INSTRUCTIONS
Item#P5436-697-L & P5437-697-L (Rev. 04/26/2022)
READ AND SAVE THESE INSTRUCTIONS
WARNING! SHUTPOWER OFF AT FUSEOR CIR CUITBR EAKE R .
PREPARATION
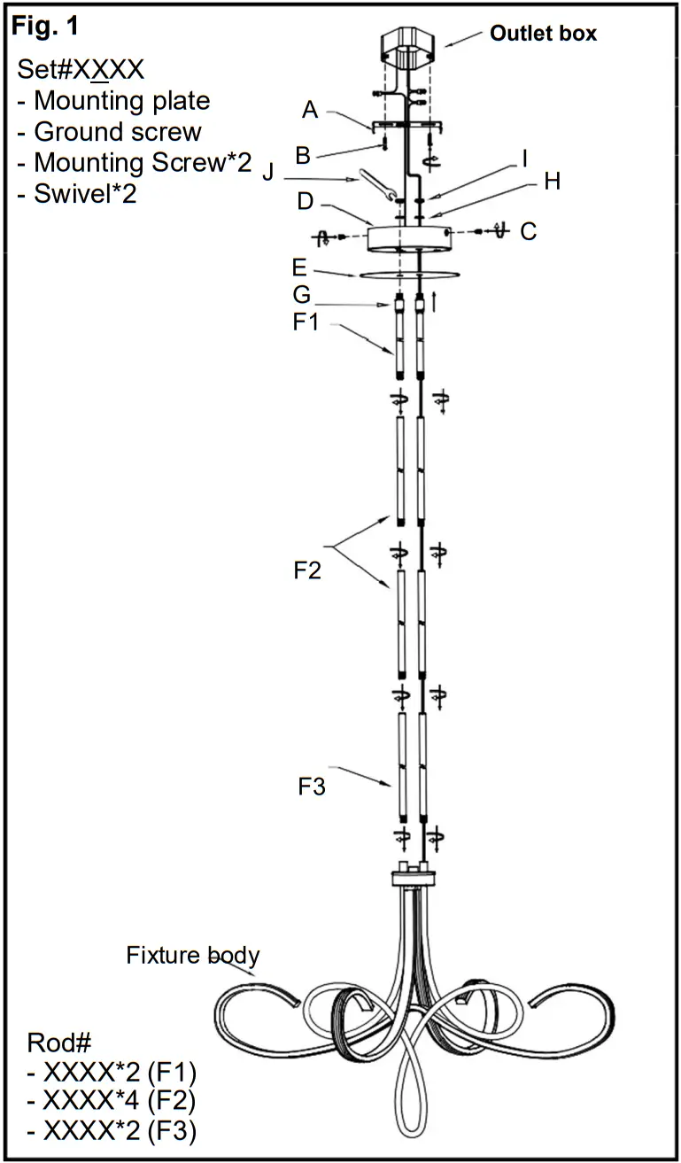
- Carefully remove the fixture from the carton and check that all parts are included as shown in the illustration.
- Shut off power at the circuit breaker and remove the old fixture including the mounting hardware.
MOUNTING THE FIXYURE (Fig. 1)
- Attach mounting plate (A) to junction box (not included) using mounting screws (B) (Size: #8-32N*L1”L) as shown in Fig. 1.
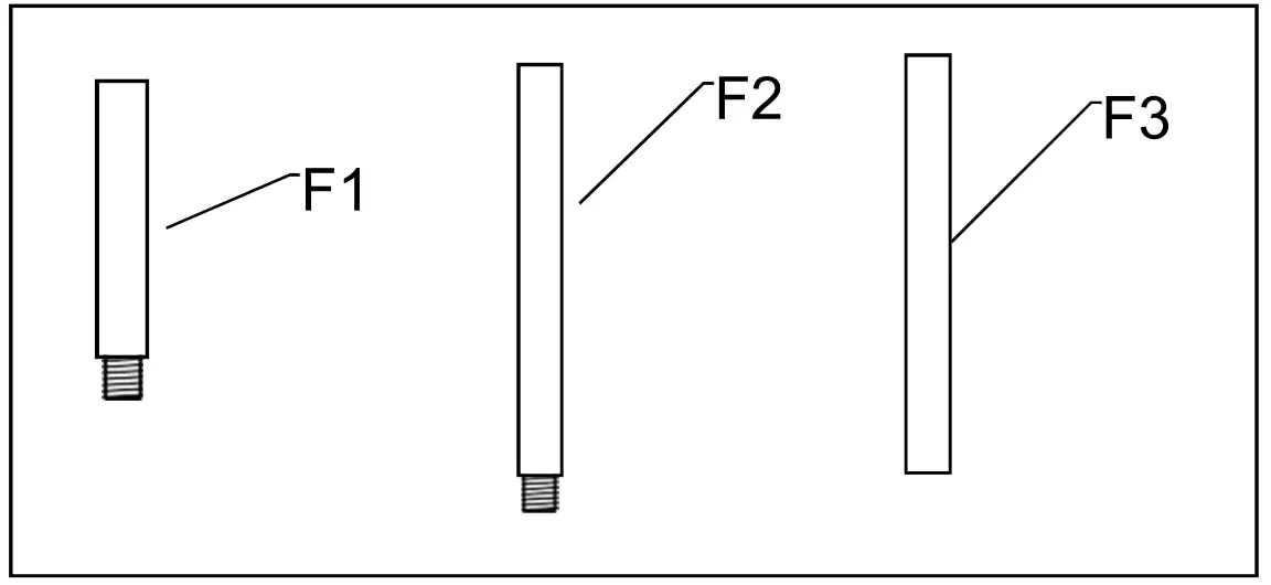
Noted: The side of mounting plate (A) marked “GND” must face out. - Determine the desired hanging height and thread rods (F1, F2 and F3) to all thread on fixture body. Carefully pass wires through each rod during assembly. Secure swivels (G) onto rods (F1).
- Slide metal plate (E) and canopy (D) followed by lock washers (H) over swivels (G) and secure with hex nuts (I) via wrench (J) (not included).
CONNECTION THE WIRES (Fig. 2)
- There is one driver inside canopy, connect driver output wire to LED wires as listed below. Secure with wire connectors (I).
-Red driver output wire (labeled Output+) to red LED wire (labeled LED+)
-Yellow driver output wire (labeled Output-) to yellow LED wire (labeled LED-) - Connect the electrical wires as shown in Fig. 2, making sure that all wire connectors are secured. If your junction box has a ground wire (green or bare copper), connect the fixtures ground wire to it.
Otherwise, connect the fixture ground wire directly to the mounting plate (A) using the green screw provided. After wires are connected, tuck them carefully inside the junction box.
FINISHING THE INSTALLATION (Fig. 1) - Align canopy (D) over mounting plate (A) and secure with screws (C).
- Adjust each frame on the fixture body as Fig.3.
Note: Illustration (Fig. 1) on this manual is for installation purpose only. It may or may not be identical to the fixture purchased.
Dimmable with ELV and/or LED compatible wall dimmer switch.
IMPORTANT: FIXTURE SHOULD BE INSTALLED BY A QUALIFIED ELECTRICIAN TO ENSURE PROPER WIRING AND INSTALLATION.
Fig.4
a. Hardware Bag
A. Mounting Plate*1
D.Canopy*1
E.Metal plate*1
C.Mounting screw*2
G.Swivel*2
b. Hardware Bag:
F1. ROD 6″*2
F2. ROD 12″*4
F3. ROD 12″*2
P5436-697-L & P5437-697-L 


Note: Illustration (Fig. 1) on this manual is for installation purpose only. It may or may not be identical to the fixture purchased.














