P5431-697-L Modern Contemporary Geometric
Instruction Manual
PREPARATION
- Carefully remove the fixture from the carton and check that all parts are included as shown in the illustration.
- Shut off power at the circuit breaker and remove the old fixture including the mounting hardware.
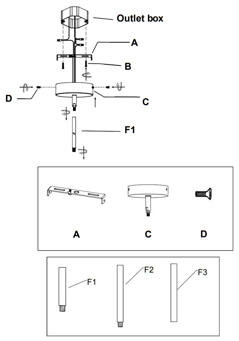
MOUNTING THE FIXTURE (Fig. 1) - Attach mounting plate (A) to the junction box (not included) using mounting screws (B) (Size: #8-32N*L1”L) as shown in Fig. 1.
Noted: The side of mounting plate (A) marked “GND” must face out. - Determine the desired hanging height and thread rods (F1, F2 and F3) to all thread (E) on fixture body. Screw canopy assembly (C) ontorod (F1). Pass the wires carefully through each rod and through the canopy assembly.
- There is one driver inside canopy. Connect driver output wire to LED wires as listed below. Secure with wire connectors (G).
-Red driver output wire (labeled Output+) to red LED wire (labeled LED+)
-Yellow driver output wire (labeled Output-) to yellow LED wire (labeled LED-)
CONNECTION THE WIRES (Fig. 2) - Connect the electrical wires as shown in Fig.2, making sure that all wire connectors are secured. If your outlet has a ground wire (green or bare copper), connect the fixtures ground wire to it. Otherwise, connect the fixture ground wire directly to the mounting plate (A) using the green screw provided. After wires are connected, tuck them carefully inside the junction box.
FINISHING THE INSTALLATION (Fig. 1) - Align canopy (C) over mounting plate (A) and secure with screws (D).
Your installation is now complete. Return power to the junction box and test the fixture.
Note: Illustration (Fig. 1) on this manual is for installation purpose only. It may or may not be identical to the fixture purchased.
Dimmable with ELV and/or LED compatible wall dimmer switch.
Fig.3 
| a. Hardware Bag A. Mounting Plate*1 C. Canopy*1 D. Mounting screw*2 | b. Hardware Bag: F1. ROD 6″*1 F2. ROD 12″*2 F3. ROD 12″*1 |
P5431-697-L
CONNECTION THE WIRES (Fig. 2)















