KUZCO CH96121 Ceiling LED Pendant
START FROM HERE
- Make sure power is completely off at the fuse box.
- Have your fixture installed by a qualified licensed electrician
- Prepare everything in a clear area.
- Wear gloves at all times during this installation.
- Read instructions carefully before you start assembly.
- Keep this instruction sheet for future reference.
Please Note: For dimming, a TRIAC or ELV type of dimmer is required.
CAUTION: CAUTION: HEAVY FIXTURE, THE JUNCTION BOX NEEDS TO BE REINFORCED BEFORE INSTALLATION. ALL MOUNTING SCREWS MUST SCREW INTO A MINIMUM OF 1” OF WOOD BEHIND THE DRYWALL. DO NOT MOUNT THIS FIXTURE JUST TO DRYWALL. (Be sure all wood that you screwed into, is secured to the cross beams/ceiling joists behind the drywall)
Instructions
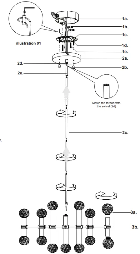
- Remove the fixture from its original packaging. Remove the mounting plate (1c) from within the canopy (2a) by removing the two decorative nuts (2b). Remove the wires, aircraft cable and extension rods (2c) from canopy (2a). To shorten or lengthen the fixture (3b) just remove or add extension rods (2c) by threading clockwise for adding and counter clockwise for removing. Secure the mounting plate (1c) to the reinforced junction box (1a) with the screws (1e) provided in the hardware package.
- Before you mount the canopy to the mounting plate, install 4-inch threaded rod (2e) in-between the swivel (2d) and the extension rods (2c) and then secure the extension rods
(2c) to the canopy (2a). (see rear for the full DC driver pre-install). - You are now ready to mount the canopy (2a) to the mounting plate (1c). Align the threaded screws (1d) hanging downward from the mounting plate to the holes inside the canopy (2a).
- Push the canopy up towards the ceiling so the two screws point through the hole in the canopy (2a). You can now screw on the decorative nuts
(2b) onto the threaded studs (1d) pointing through the canopy. - Push the glass (3a) down to the LED engine (3b) and thread, turning clockwise. Repeat this step for the remain-der, see map below.
- You have now completed the installation of your fixture, enjoy.


Detailed illustration:
Select the hanging height and install 4-inch threaded rod (2e) in-between the fixed swivel (2d) and the extension rods (2c), feed the wire and cable starting from bottom through each rod until you reach the fixed swivel connector. Once the rods are fully connected and the wires are pulled into the canopy (2a), using a wrench to secure, connect the wires to the DC driver using the marrettes provided, negative to negative and positive to positive (refer to the diagram on the driver). Repeat the step for the second driver. (Ensure the line voltage power lines are connected to the line voltage side of each driver – L to live and N to neutral). Connect all wires (1b) correctly L live wire (black to black) N neutral wire (white to white) and G ground to ground with provided marrettes. Tighten the locking screw with allen key, then attach the aircraft cable (illustration01) to a suitable supporting member in the ceiling.
19054 28th Avenue Surrey, BC Canada V3Z 6M3
T: 604 538 7162 TF: 1-855 85 KUZCO F: 604 538 7196
W: kuzcolighting.com
20181107























