KUZCO PD53305 Ceiling LED Pendant User Guide
START FROM HERE
- Make sure POWER is COMPLETELY OFF at the fuse box
- Have your fixture installed by a qualified licensed electrician
- Prepare everything in a clear area
- Wear gloves at all time during this installation
- Read instructions carefully before you start assembly
- Keep this installation sheet for future reference
Please Note:
- All Kuzco LED fixtures come with pre-wired LED module(s).
- Unless instructed to do so, please do not touch any part of the LED module(s) as any unnecessary contact with the module could cause permanent damage.
- For dimming, an ELV (Electronic Low Voltage) type of dimmer is required.
Overview

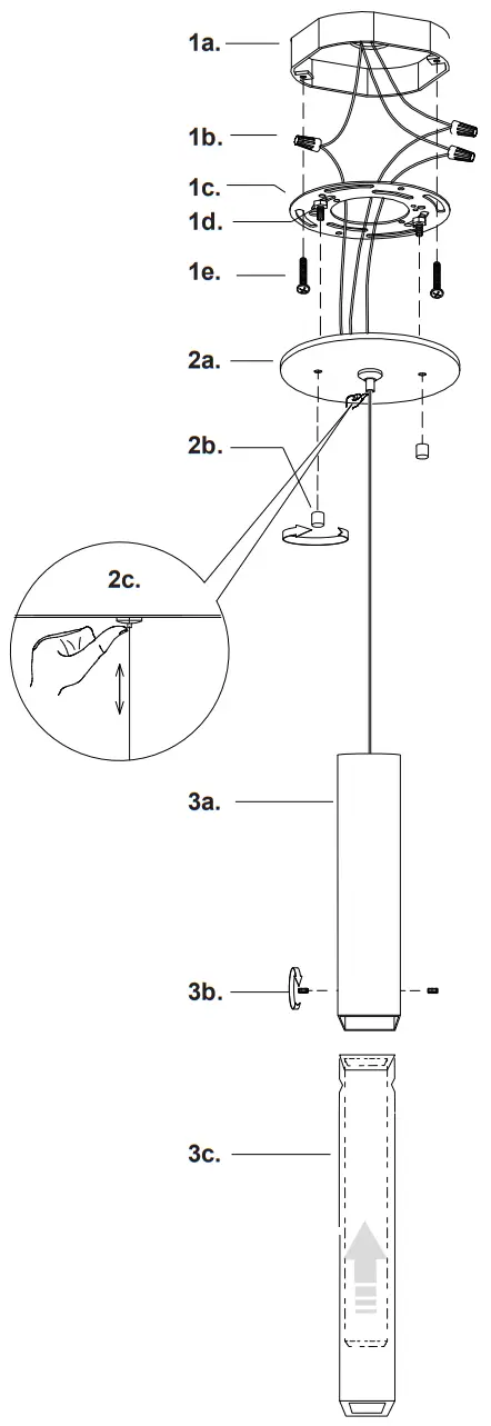
- Remove the fixture from its original packaging and remove the fixture mounting plate (1c) from within the hardware package. Attach the fixture mounting plate (1c) to the electrical junction box (1a) on the ceiling using the two screws (1e) provided in the hardware package.
- Attach the fixture to the mounting plate, which is attached to the electrical junction box on the ceiling. First attach all wiring (1b) with the provided marrets (white to white “N”, black to black “L”, ground to ground “G”). Push the screws (1d) through the holes in the back of the canopy so they are poking through the canopy (2a). Once this is complete you can screw on the decorative nuts (2b) until the canopy (2a) is secured to the ceiling.
- Select the desired length you wish the pendant to hang.
To shorten or lengthen the fixture push up on the canopy nipples (2c) and push/pull the cable, release to secure. - With the canopy secure, connect the glass diffuser (3c) to the fixture chassis (3a) using set screws (3b).
- You have now completed the installation of your fixture, please enjoy.
![]()
19054 28th Avenue Surrey,
BC Canada V3Z 6M3
T: 604 538 7162
TF: 1-855 85 KUZCO
F: 604 538 7196
W: kuzcolighting.com
20181127



















