Ceiling LED Pendant
INSTALLATION SHEET
PD11612
PD11612 Ceiling LED Pendant
START FROM HERE
- Make sure POWER is COMPLETELY OFF at the fuse box
- Have your fixture installed by a qualified licensed electrician
- Prepare everything in a clear area
- Wear gloves at all time during this installation
- Read instructions carefully before you start assembly
- Keep this installation sheet for future reference
Please Note:
- All Kuzco LED fixtures come with pre-wired LED module(s).
- Unless instructed to do so, please do not touch any part of the LED module(s) as any unnecessary contact with the module could cause permanent damage.
- For dimming, an ELV (Electronic Low Voltage) type of dimmer is required.

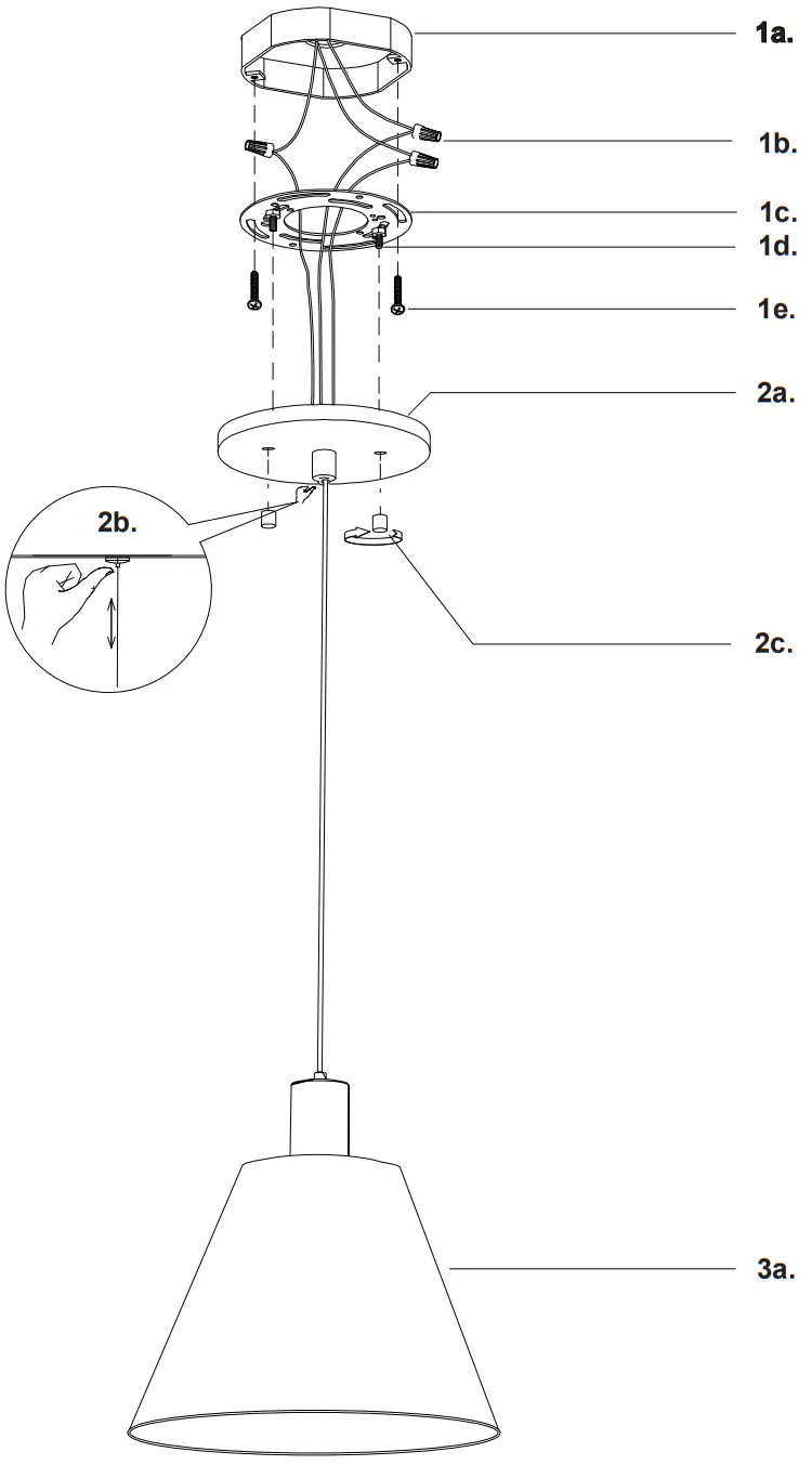
- Remove the fixture from its original packaging. Next, remove the mounting plate (1c) from within the canopy (2a) by un-threading the two nuts (2c).
Secure the mounting plate (1c) to the junction box (1a) with screws (1e) provided in the hardware package. - Before you mount the canopy to the mounting plate select the desired length you wish the pendant (3a) to hang. To shorten or lengthen the pendant, loosen the screw (2b) until the wire can move freely. You can now push/pull the wire to lengthen or shorten the pendant (3a). When you have selected the desired length, tighten the screw (2b).
- You are now ready to mount the canopy. First, connect all wires correctly black to black “L”, white to white “N” and the ground wire with provided marettes (1b) from the hardware package. Align the threaded studs (1d) with the holes on the surface of the canopy (2a). Next, push the canopy (2a) to the mounting plate (1c) thread on the two nuts (2c) on to the threaded studs (1d). This will secure the canopy to the mounting plate.
- You have now completed the installation of your fixture, enjoy.
19054 28th Avenue Surrey, BC Canada V3Z 6M3
T: 604 538 7162 TF: 1-855 85 KUZCO F: 604 538 7196
W: kuzcolighting.com
20181127



















