
Lighting PD41304 Ceiling LED Pendant
Instructions
Ceiling LED Pendant
START FROM HERE
- Make sure the POWER is COMPLETELY OFF at the fuse box
- Have your fixture installed by a qualified licensed electrician
- Prepare everything in a clear area
- Wear gloves at all times during this installation
- Read instructions carefully before you start the assembly
- Keep this installation sheet for future reference
Please Note:
- All Kuzco LED fixtures come with pre-wired LED module(s).
- Unless instructed to do so, please do not touch any part of the LED module(s) as any unnecessary contact with the module could cause permanent damage.
- For dimming, an ELV (Electronic Low Voltage) type of dimmer is required.
Technical Support: 1-855-855-8926

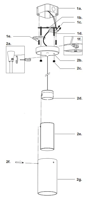
- Remove the fixture from its original packaging. Remove the canopy mounting plate (1b) from within the canopy (2a) and attach it to the electrical junction box (1a) on the ceiling using the two screws provided (1e) in the hardware package.
- Select the desired length you would like the fixture to hang down from the ceiling (72” maximum). To set the fixture hanging height, undo the wire safety lock (1f) in the center of the canopy until the electrical wire can move freely. Once the wire has been released, you can push the wire up to shorten it or pull the wire down to lengthen it. When you have selected your desired length, tighten the set screw with a flat driver (2a) in the center of the canopy and the wire will be held tightly in place.
- Attach the canopy to the mounting plate, which is attached to the electrical junction box on the ceiling. First attach all wiring (1c) with the provided markets (white to white “N”, black to black “L”, ground to ground “G”). Align the two holes from the canopy to the two screws (1d) pointing down from the mounting plate. Push the screws through the canopy plate (2b) so they are poking through, you can now screw on the decorative nuts (2c) until tight.
- From the hardware package, secure the three pins (2f) through the inner (2e) and outer (2g) glass piece and thread them to the socket (2d)
- You have now completed the installation of your fixture, please enjoy.
19054 28th Avenue Surrey, BC Canada V3Z 6M3
T: 604 538 7162 TF: 1-855 85 KUZCO F: 604 538 7196
W: kuzcolighting.com
20181127



















