KUZCO PD9108 Ceiling LED Pendants

START FROM HERE
- Make sure power is completely off at the fuse box.
- Have your fixture installed by a qualified licensed electrician
- Prepare everything in a clear area.
- Wear gloves at all times during this installation.
- Read the instructions carefully before you start assembly.
- Keep this instruction sheet for future reference.
Technical Support: 1-877-452-6858
Please Note:
- All Kuzco LED fixtures come with pre-wired LED module(s).
- Unless instructed to do so, please do not touch any part of the LED module(s) as any unnecessary contact with the module could cause permanent damage.
- For dimming, an ELV (Electronic Low Voltage) type of dimmer is required.
INSTALLATION INSTRUCTION
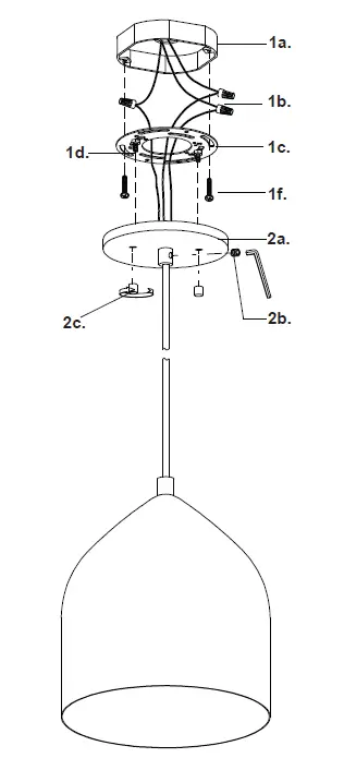
- Remove the fixture from its original packaging. Remove the canopy mounting plate (1c) from within the canopy (2a) by removing the decorative nuts (2c). Secure the mount plate (with canopy screws facing downward) to the reinforced junction box (1a) using screws (1f) provided in the hardware package.
- Before you mount the canopy (2a) to the mounting plate (1c) please select the desired length you wish the pendant to hang. Using a slot head or hex key, shorten or lengthen the SVT wire by simply turning the set screw out (2b) and where the wire comes through the canopy (2a) push or pull the wire to your desired length then turn the set screw in and the wire will stay in place.
- You are now ready to mount the canopy (2a) to the mounting plate (1c). First connect all wires (1b) correctly, black to black “L”, white to white “N” and ground to ground with the provided market from the hardware package. Align the threaded scews (1d) hanging downward from the mounting plate to the holes inside the canopy (2a). Push the canopy up towards the ceiling so the two skews (1d) point through the holes in the canopy. You can then screw the decorative nuts (2c) onto the threaded studs (1d) pointing through the canopy (2a). This will secure the canopy to the mounting plate.
- You have now completed the installation of your fixture, enjoy.
19054 28th Avenue Surrey, BC Canada V3Z 6M3
T: 604 538 7162 TF: 1-855 85
KUZCO F: 604 538 7196
W: kuzcolighting.com
20190117




















