Kuzco Lighting 402601 Ceiling LED Pendant

START FROM HERE
- Make sure power is completely off at the fuse box.
- Have your fixture installed by a qualified licensed electrician
- Prepare everything in a clear area.
- Wear gloves at all times during this installation.
- Read instructions carefully before you start assembly.
- Keep this instruction sheet for future reference.
Technical Support: 1-855-855-8926
Please Note:
- All Kuzco LED fixtures come with pre-wired LED module(s).
- Unless instructed to do so, please do not touch any part of the LED module(s) as any unnecessary contact with the module could cause permanent damage.
- For dimming, an ELV (Electronic Low Voltage) type of dimmer is required.
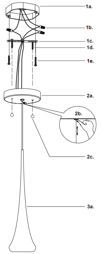
- Remove the fixture from its original packaging. Remove the mounting bar (1c) from the canopy (2a) by loosening the two decorative nuts (2c). Attach the mounting bar (1c) to the electrical junction box (1a) using the two screws (1e) provided in the hardware package.
- Select the desired length you would like the fixture to hang down from the ceiling. To set the fixture hanging height, push the sleeve (2b) up and push/pull the cable to lengthen/shorten. When you have selected your desired length, release the sleeve (2b) and this will secure the height of the fixture.
- Attach the canopy (2a) to the mounting bar (1c).First attach all wiring with the provided marrets (1b) (white to white “N”, black to black “L”, ground to ground “G”). Align the two holes from the canopy to the two screws pointing down from the mounting bar. Push the studs (1d) through the canopy (2a) so they are poking through, once this is complete you can screw on the decorative nuts (2c) until tight.
- You have now completed the installation of your fixture, please enjoy.

19054 28th Avenue Surrey, BC Canada V3Z 6M3 T: 604 538 7162 TF: 1-855 85 KUZCO F: 604 538 7196 W: kuzcolighting.com 20181127





















