KICHLER 38261 Maritime 3-Light Flush Mount Ceiling Fixture Instruction Manual
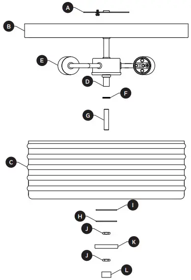
PACKAGE CONTENTS

| PART | DESCRIPTION | QTY. | PART | DESCRIPTION | QTY. |
| A | Mounting Bracket | 1 | G | Threaded Nipple | 1 |
| B | Canopy | 1 | H | Washer | 1 |
| C | Glass Shade | 1 | I | Rubber Gasket | 1 |
| D | Socket Coupling | 1 | J | Hex Nut | 2 |
| E | Socket Cluster | 1 | K | Lower Trim | 1 |
| F | Knurled Ring | 1 | L | Lower Finial | 1 |
HARDWARE CONTENTS

SAFETY INFORMATION
Please read and understand this entire manual before attempting to assemble, operate or install the product.
WARNING
- CAUTION – RISK OF SHOCK –
Disconnect Power at the main circuit breaker panel or main fusebox before starting and during the installation. - WARNING:
This fixture is intended for installation in accordance with the National Electrical Code (NEC) and all local code specifications. If you are not familiar with code requirements, installation by a certified electrician is recommended. - Do not use bulbs with wattage greater than specified on this fixture.
- California Proposition 65
WARNING: This product can expose you to chemicals including lead, which is known to the State of California to cause cancer, birth defects, or other reproductive harm. For more information, go to http://www.P65Warnings.ca.gov
CAUTION
- If you have any doubts about how to install this lighting fixture, or if the fixture fails to operate completely, please contact a licensed electrical contractor.
- All parts must be used as indicated in these instructions. Do not substitute any parts, leave parts out, or use any parts that are worn out or broken. Failure to obey this instruction could invalidate ETL listing and/or C.S.A. certification of this fixture.
PREPARATION
Before beginning assembly of product, make sure all parts are present. Compare parts with package contents list and hardware contents list. If any part is missing or damaged, do not attempt to assemble the product.
Estimated assembly time: 30 minutes to 1 hour Tools Required for Assembly (not included): Phillips screwdriver, flathead screwdriver, wire strippers, electrical tape, ladder, safety glasses.
ASSEMBLY INSTRUCTIONS
- Orient the mounting bracket (A) so that the raised center portion is facing up. Insert long machine screws (DD) through mounting bracket (A) so the long machine screws (DD) protrude downward. Connect the mounting bracket (A) to the outlet box (not included) with short machine screws (BB).

Hardware Used
BB Short Machine Screw
DD Long Machine Screw
- Wire connection guide: Ground wire:
- For installation in the United States: Wrap ground wire from outlet box around ground screw on mounting bracket (A) no less than 2 in. from wire end. Tighten ground screw. If fixture is supplied with a ground wire, connect to outlet ground wire with a wire connector (AA).
- For installation in Canada: If fixture is supplied with ground wire, wrap ground wire around ground screw on mounting bracket (A). Tighten ground screw. Connect fixture ground wire to outlet ground wire with a wire connector (AA).
Supply wires: - Connect the Neutral (White) supply wire from the outlet box to the Neutral fixture wire (White or Parallel Cord “D” shaped and ribbed).
- Connect the Hot (Black) supply wire from the outlet box to the Hot fixture wire (Black or Parallel Cord round and smooth).
NOTE:
Fixture wires will either be: - Black and White.
- Parallel Cord SPT-1 lamp wire with one round smooth wire and one “D” shaped ribbed wire.

Hardware Used
AA Wire Connector
- a . Pass canopy (B) over the long machine screws (DD) protruding from mounting bracket (A) then secure in place with lock washers (EE) and threaded knobs (CC).
NOTE: The bottom edge of an outlet box should be flush with the bottom surface of a ceiling. However, many boxes are recessed into the ceiling. The long machine screws (DD) are designed to have extra length to accommodate to various box depths.
NOTE: Make sure all wires are inside of canopy (B) and do not get pinched between canopy (B) and mounting bracket (A), or canopy (B) and ceiling.
- The long machine screws (DD) may, at first, protrude too far past the surface of the canopy (B). 2) Screw the threaded knobs (CC) onto the long machine screws (DD). The screws will back thread into the mounting bracket (A) until the canopy (B) is tight against the ceiling.
Hardware Used
EE Lock Washers
CC Threaded Knob
- The long machine screws (DD) may, at first, protrude too far past the surface of the canopy (B). 2) Screw the threaded knobs (CC) onto the long machine screws (DD). The screws will back thread into the mounting bracket (A) until the canopy (B) is tight against the ceiling.
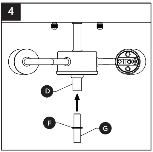
- Screw knurled ring (F) onto threaded nipple (G) such that knurled ring (F) is approximately 1/2 inch (12.7 mm) – 5/8 inch (15.87mm) down threaded nipple (G). Screw threaded nipple (G) into socket coupling (D) approximately 1/4in. (6.35 mm).
NOTE: Be sure there is approximately 1/4 inch(6.35 mm) of space left between knurled ring (F) and bottom of socket coupling (D).
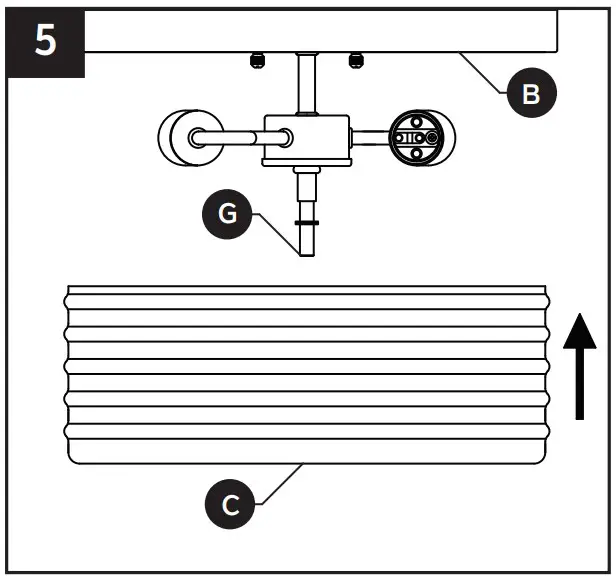
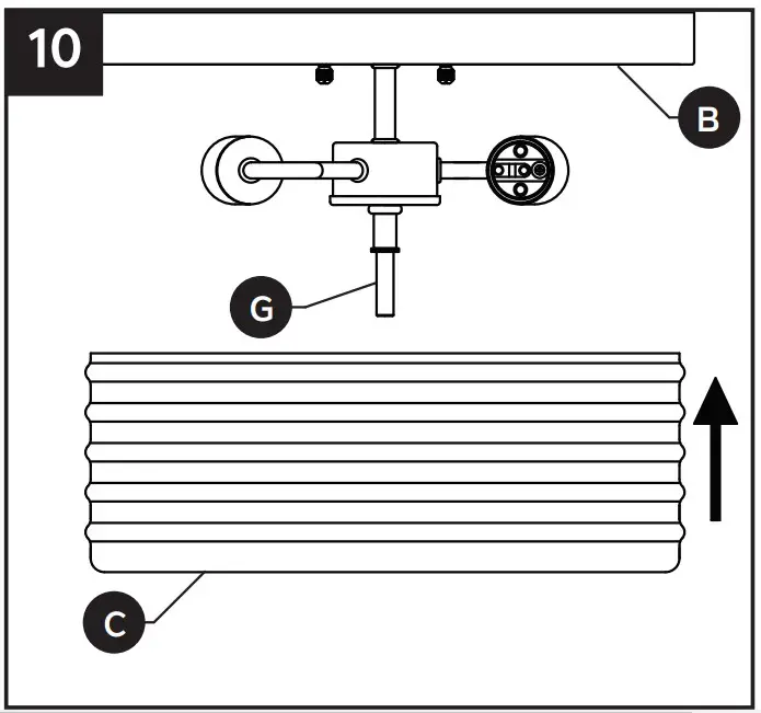
- Raise glass shade (C) up to canopy (B), carefully passing threaded nipple (G) through small hole in bottom of glass shade (C).

- While holding glass shade (C) in place flush against canopy (B), slip lower trim (K) up over threads protruding through bottom of glass shade (C).

- While continuing to hold glass shade (C) in place flush against canopy (B), and holding lower trim (K) in place flush against bottom of glass shade (C), adjust the length of threads protruding through bottom of lower trim (K) by turning threaded nipple (G) clockwise to expose fewer threads, or counterclockwise to expose more threads.

NOTE: There should be enough threads protruding from lower trim (K) such that one hex nut (J) and lower finial (L) would be able to thread onto the threads and secure lower trim (K) tight against glass shade (C). - Carefully slip lower trim (K) and glass shade (C) off of threaded nipple (G) and retain for later in the assembly.
While holding threaded nipple (G) in-place, screw knurled ring (F) toward socket coupling (D) until knurled ring (F) is tight against the bottom of socket coupling (D).
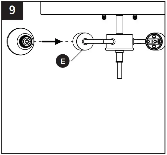
- Insert 13-watt max. medium base bulb (LED only – not included) into each socket in the socket cluster (E).

- Raise glass shade (C) up to canopy (B), carefully passing threaded nipple (G) through small hole in bottom of glass shade (C).

- While holding glass shade (C) in place flush against canopy (B), first slip rubber gasket (I) up over the threads protruding from the bottom of glass shade (C), then slip washer (H) up over the threads protruding from the bottom of glass shade (C).

- While continuing to hold glass shade (C) in place flush against canopy (B), and holding rubber gasket (I) and washer (H) flush against the bottom of glass shade (C), screw one hex mnut (J) onto threads protruding from the bottom of glass shade (C) and tighten hex nut (J) up against washer (H) to secure glass shade (C), rubber gasket (I), and washer (H) in place. DO NOT OVERTIGHTEN.

- Slip lower trim (K) up over threads protruding from the bottom of hex nut (J). While holding lower trim (K) flush against the bottom of the glass shade (C), screw remaining hex nut (J) onto threads protruding through the bottom of lower trim (K). Tighten hex nut (J) against bottom of lower trim (K) to secure in place.

- Screw lower finial (L) onto threads protruding from the bottom of hex nut (J) and tighten to secure in place.

CARE AND MAINTENANCE
- Always be certain that electric current is turned off before cleaning this item.
- Use a soft, moist cloth with mild non-abrasive soap to clean fixture. Never use glass cleaner on fixture, as it will damage the metal finish.
- All glass shades may be washed in a towel-lined sink with warm water and mild soap. Do not wash shades in an automatic dishwashe
TROUBLESHOOTING
| PROBLEM | POSSIBLE CAUSE | CORRECTIVE ACTION |
| Fixture does not light. |
|
|
Distributed by: Kichler Lighting LLC 30455 Solon Rd Solon, OH 44139
Printed in China
Questions, problems, missing parts? Before returning to your retailer, call our customer service department at 800-554-6504, 8 a.m. – 4:30 p.m, EST, Monday – Friday.
kichler.com/customer-care/contact-us
































