allen – roth LBX8002AX-01 Flushmount Ceiling Fixture

Thank you for purchasing this allen + roth product. We’ve created these easy-to-follow instructions to ensure you spend your time enjoying the product instead
of putting it together. But, if you need more information than what is provided here, please visit Lowes.com, search the item number and refer to the
Guides & Documents tab on the product’s page.
If you have any questions or problems, please call our customer service department at 866-439-9800, 8 a.m. – 8 p.m., EST, Monday – Sunday. You could also contact us at partsplus@lowes.com.
TROUBLESHOOTING
PROBLEM: Bulb will not light.
POSSIBLE CAUSE: Bulb is burned out
Faulty wire connection
CORRECTIVE ACTION: Replace light bulb.
Check wiring
CARE AND MAINTENANCE
Shut off main power before cleaning light with damp cloth or window cleaner. Do not use abrasive cleansers.
WARRANTY
The manufacturer warrants all of its lighting fixtures against defects in materials and workmanship for one (1) year limited from the date of purchase
PREPARATION
Before beginning assembly of product, make sure all parts are present. Compare parts with package contents If any part is missing or damaged, do not attempt to assemble the product
Estimated Assembly Time: 20-30 minutes.
TOOLS REQUIRED (NOT INCLUDED
FEELING CONFIDENT? START YOUR NEXT PROJECT
SAFETY INFORMATION
Please read and understand this entire manual before attempting to assemble, operate or install the product
WARNING
- Some metal parts in the fixture may have sharp edges. To prevent cuts and scrapes, wear gloves when handling the parts.
- Account for small parts and destroy packing material, as these may be hazardous to children.
- Use flashlight or alternate light source to light work area during installation
- Assistance may be required to support fixture during installation
CAUTION
- Connect fixture to supply wires rated for at least 194˚F.
- Workable for dimming circuits when using appropriate light bulbs with dimmable function
PACKAGE CONTENTS
HARDWARE CONTENTS
INSTALLATION OVERVIEW
Turn off the power and remove existing fixture.

Tighten the long mounting screws B 2 full turns into mounting holes in mounting strip A (to be fully tightened later)

Attach mounting strip A to outlet box using two short mounting screws AA.

- Feed wires. Twist stripped wire ends together with pliers (not included), black to black, white to white, and ground/bare to ground/bare
- Attach BB to connections with electrical tape (not included).

Place ceiling plate C over outlet box. Allow heads of long mounting screws B to come out through the large ends of key holes. Twist ceiling plate C until heads of long mounting screws B slide into narrow end of key holes. Tighten long mounting screws B to secure ceiling plate C

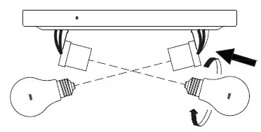
Install light bulbs (not included). Use 60-watt max. standard-base incandescent bulbs or CFL/LED equivalents

Insert the glass shade E into the ceiling plate C. Tighten three thumb screws D to secure glass shade E.

Assembly is complete. Turn power back on.



















