PROJECT SOURCE J0201 Flushmount Ceiling Fixture

INTRODUCTIONS
Project Source and logo design are trademarks
Thank you for purchasing this Project Source product. We’ve created these easy-to-follow instructions to ensure you spend your time enjoying the product instead of putting it together. But, if you need more information than what is provided here, please visit Lowes.com, search the item number and refer to the Guides & Documents tab on the product’s page.
If the item is no longer for sale, or if you have any questions or problems, please call our customer service department at 1-866-389–8827 , 8 a.m. – 8 p.m.,
EST, Monday – Sunday. You could also contact us at [email protected] or visit www.lowespartsplus.com.
| PROBLEM | POSSIBLE CAUSE | CORRECTIVE ACTION |
| Bulb will not light. |
|
|
CARE AND MAINTENANCE
- Shut off main power before cleaning light with damp cloth or window cleaner. Do not use abrasive cleansers.
WARRANTY
- The manufacturer warrants all of its lighting fixtures against defects in materials and workmanship for one (1) year limited from the date of purchase.
PREPARATION
Before beginning assembly of product, make sure all parts are present. Compare parts with package contents list and hardware contents list.
If any part is missing or damaged, do not attempt to assemble the product.
Estimated Assembly Time: 20-30 minutes.
TOOLS REQUIRED
(NOT INCLUDED)

FEELING CONFIDENT? START YOUR NEXT PROJECT
- Visit lowes.com for more information

SAFETY INFORMATION
Please read and understand this entire manual before attempting to assemble, operate or install the product.
WARNING
- Some metal parts in the fixture may have sharp edges. To prevent cuts and scrapes, wear gloves when handling the parts.
- Account for small parts and destroy packing material, as these may be hazardous to children.
- Assistance may be required to support fixture during installation.
CAUTION
- Connect fixture to supply wires rated for at least 167˚F.
- Workable for dimming circuits when using appropriate light bulbs with dimmable function.
PACKAGE CONTENTS

HARDWARE CONTENTS
Note: Hardware shown actual size

INSTALLATION OVERVIEW

Turn off the power and remove existing fixture
Tighten the long mounting screws (B) 2 full turns into mounting holes in mounting strip (A) (to be fully tightened later)
Attach mounting strip(A) to outlet box using two short mounting screws (AA).
Feed wires. Twist stripped wire ends together with pliers (not included), black to black, white to white, and ground/bare to ground/bare.
Attach wire connectors (BB). Tape wire connectors (BB) and wires together with electrical tape (not included)

Place ceiling plate (C) over outlet box. Allow heads of long mounting screws (B) to come out through the large ends of key holes. Twist ceiling plate (C) until heads of long mounting screws (B) slide into narrow end of key holes. Tighten long mounting screws (B) to secure ceiling plate (C).
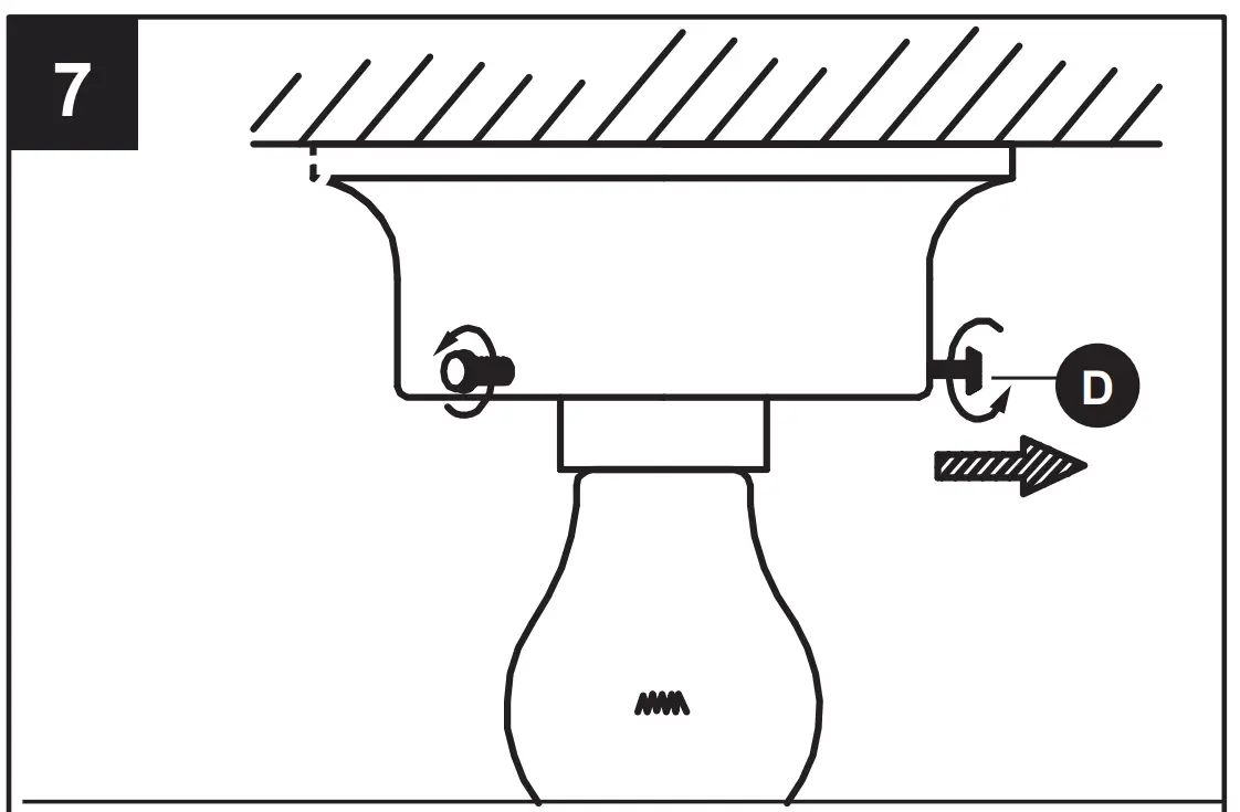
Install light bulb (not included). Use 60-watt max. standard-base incandescent bulb or CFL/LED equivalent.
Unscrew the thumb screws (D) from socket cup.
Insert the glass shade (E) into the ceiling plate (C). Tighten three thumb screws (D) to secure glass shade (E).















