LIGHTING THE WAY FOR SIXTY YEARS
ASSEMBLY INSTRUCTION MODEL #HAY-1403-AG
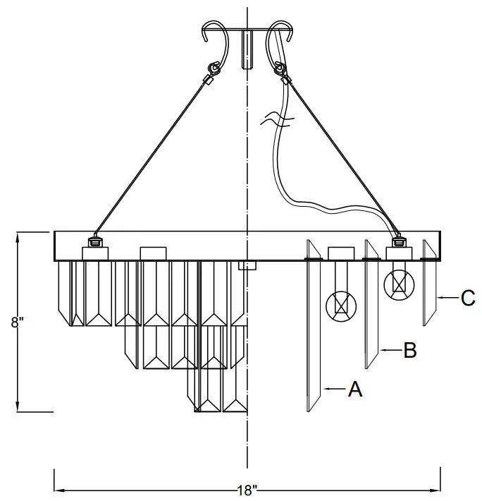
DETAILED ILLUSTRATION

All electrical components must be installed by a licensed electrician in accordance with the National Electric Code and the appropriate local electrical codes.
You will need 8-Candelabra Base Bulb 40 Watts Recommended 60 Watts Max USE LED BULBS FOR EXTENDED USE The fixture is dry rated
How to Install
- Attach the mounting plate onto the outlet box using two outlet screws.
- Hang the frame onto the mounting plate by hooking the cable wire into the slots as shown.
- Install bulbs (not included) and proceed to connecting the power.
- Insert the pin into the crystal and then insert the crystal onto the band ring.
- After all the crystal are installed, raise the fixture up to the ceiling and secure with the finial.
Crystal Sets
A. 12Sets. (1)30x200mm
B. 24Sets. (1)30x150mm
C. 36Sets. (1)30x100mm
WARNING: This product can expose you to Lead, which is known to the State of California to cause cancer and/or birth defects or reproductive harm. For more information go to www.P65Warnings.ca.gov

Part Number
Part Numbers
A. (2)-Wire Connector
B. (1)-Mounting Plate
C. (2)-Outlet Box Screws
D. (2)-Ground Wire
E. (2)-Cable Wire
F. (1)-Frame
G. (1)-Washer
H. (1)-Nut
I. (1)-Check Ring
J. (1)-Finial (XFB1400AGFIN)
PART BAGⅠ: Includes Parts A, C
PART BAG Ⅱ: Includes Parts B, G, H, I, J

















