CRYSTORAMA DEL-90803-AG-CEILING Delilah Three Light Ceiling Mount Instruction Manual
WARNING:
Electrical Danger
Turn Power Off
All electrical components must be installed by a licensed electrician in accordance with the National Electric Code and the appropriate local electrical codes.
You will need 3- Candelabra Base Bulb 40 Watts recommended 60 Watts Max. USE LED BULBS FOR EXTENDED USE
The fixture is Dry rated
HOW TO INSTALL

Place the fixture parts on a soft cloth-covered platform before installation of fixture.
For Hanging
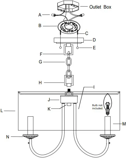
- Place the fabric shade over the threaded nipple on the top of fixture body and secure with the fixture loop.
- Install the mounting plate onto the outlet box.
- Decide the desired hanging height and adjust the chain to the correct length.
- Raise the fixture up and do the wire connection. Attach the canopy over the mounting plate and secure with ball nuts.
- Dress the crystals as illustrated.
For Ceiling
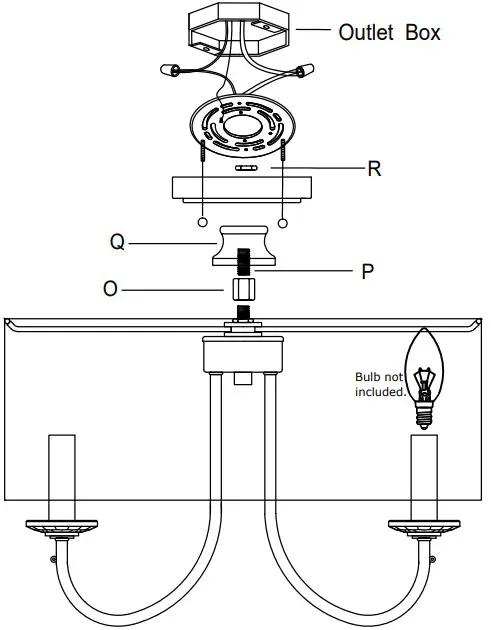
- Install the mounting plate onto the outlet box.
- Remove the fixture loop from the fixture body and the loop from the ceiling canopy.
- Place the shade over the threaded nipple on the top of fixture body and secure it with the coupling. Screw the threaded nipple onto the coupling and place the spacer over the shade by aligning the slots on it with the shade spoke. Place the canopy over the top of the spacer and secure with the hex nut.
- Dress the crystals as illustrated.
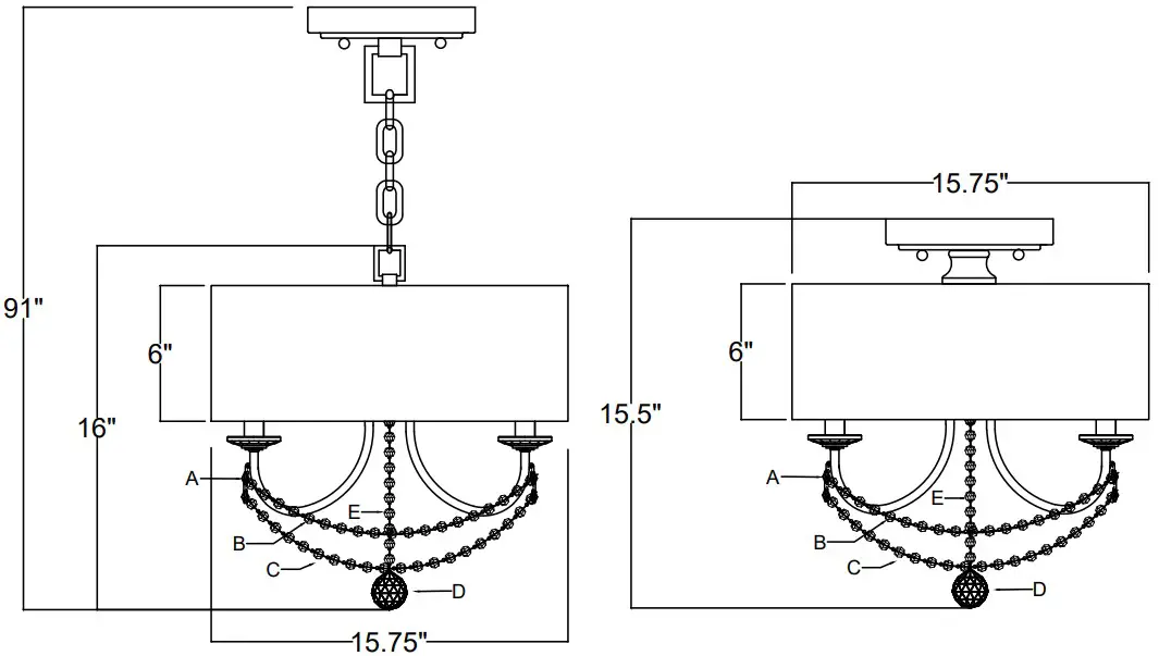
Dimensions

WARNING: This product can expose you to Lead, which is known to the State of California to cause cancer and/or birth defects or reproductive harm. For more information go to www.p65warnings.ca.gov
Crystal Sets
A. 3 Sets. (2)14mm
B. 3 Sets. (19)10mm Round Ball
C. 3 Sets. (22)10mm Round Ball
D. 1 Piece. (1)AS8-40mm Ball
E. 1 Piece. (19)10mm Round Ball
Part Number
Part Numbers-For Hanging
A. (2)-Wire Connector
B. (1)-Mounting Plate
C. (2)-Machine Screw
D. (1)-Canopy (W5″xH1 1/4″) -XSN9083AGCAN5.11IN
E. (2)-Ball Nut
F. (1)-Loop
G. (1)-Chain (4mmx72″) -XSN90803AGCHA4MM
H. (1)-Fixture Loop
I. (1)-Frame
J. (1)-Distributor Box
K. (1)-Center Finial
L. (1)-Fabric Shade; W15.75″,H6″ -XSN90803AGSHA15.75IN
M. (3)-Candle Sleeve; W7/8″,H3 1/4″ -XSN90802AGCDL3.23IN
N. (3)-Crystal Bobeche; Ø2 3/8″,H3/8″; 23mm center hole. -XSN90802BOB2.4IN
Part Numbers-Conversion kit For Ceiling
O. (1)-Coupling
P. (1)-Thread nipple
Q. (1)-Metal spacer ; H2″,with 3 slots
R. (1)-Hex Nut
![]()



















